TOP
|
特許
|
意匠
|
商標
特許ウォッチ
Twitter
他の特許を見る
10個以上の画像は省略されています。
公開番号
2025140616
公報種別
公開特許公報(A)
公開日
2025-09-29
出願番号
2024040131
出願日
2024-03-14
発明の名称
診断方法
出願人
株式会社ディスコ
代理人
個人
,
個人
,
個人
,
個人
,
個人
,
個人
主分類
B24B
41/06 20120101AFI20250919BHJP(研削;研磨)
要約
【課題】泡の画像に基づいて目詰まりの程度を診断する場合に比べて安定的に目詰まりの診断ができる診断方法を提供する。
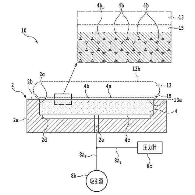
【解決手段】保持板における複数の吸引口の目詰まりを診断する診断方法であって、厚さ方向において反対側に位置する一面及び他面を有し、一面の面積が吸引面の面積よりも小さい測定用基板を準備する準備工程と、複数の吸引口のうち一以上の吸引口が測定用基板の一面で閉塞された閉塞領域を形成する様に測定用基板を保持板に載置し、次いで、測定用基板を吸引面で吸引すると共に吸引路の圧力を測定し、圧力値を取得する取得工程と、圧力値と、吸引面における閉塞領域の範囲又は吸引面のうち閉塞領域を除く露出領域の範囲と、に基づいて、複数の吸引口における目詰まりが生じているか否かを診断する診断工程と、を備える診断方法を提供する。
【選択図】図5
特許請求の範囲
【請求項1】
吸引路を介して吸引源に接続されている複数の吸引口を吸引面に有しており該吸引面で被加工物を吸引可能な保持板における該複数の吸引口の目詰まりを診断する診断方法であって、
厚さ方向において反対側に位置する一面及び他面を有し、該一面の面積が該吸引面の面積よりも小さい測定用基板を準備する準備工程と、
該準備工程の後、該複数の吸引口のうち一以上の吸引口が該測定用基板の該一面で閉塞された閉塞領域を形成する様に該測定用基板を該保持板に載置し、次いで、該測定用基板を該吸引面で吸引すると共に該吸引路の圧力を測定し、圧力値を取得する取得工程と、
該圧力値と、該吸引面における該閉塞領域の範囲又は該吸引面のうち該閉塞領域を除く露出領域の範囲と、に基づいて、該複数の吸引口における目詰まりが生じているか否かを診断する診断工程と、を備えることを特徴とする診断方法。
続きを表示(約 1,000 文字)
【請求項2】
該測定用基板は該一面から該他面まで貫通する貫通孔を有さず、該取得工程において該測定用基板を該保持板に載置すると、該測定用基板の該一面の外周縁が該吸引面の外周縁よりも内側に位置することで該吸引面の外周部が露出する、又は、
該測定用基板は該一面から該他面まで貫通する貫通孔を有する環状であり、該取得工程において該測定用基板を該保持板に載置すると、該吸引面の中央部が露出することを特徴とする請求項1に記載の診断方法。
【請求項3】
該準備工程では、該厚さ方向において反対側に位置する該一面及び該他面をそれぞれ有し、該一面の面積が該吸引面の面積よりもそれぞれ小さく、且つ、該一面の面積が互いに異なる複数の測定用基板を準備し、
該取得工程では、該複数の測定用基板の各々について、該複数の吸引口のうち一以上の吸引口が該一面で閉塞された該閉塞領域を形成する様に一の測定用基板を該保持板に載置し、次いで、該一の測定用基板を該吸引面で吸引すると共に該吸引路の該圧力を測定することを順次行い、複数の圧力値を取得し、
該診断工程では、該取得工程で得られた該複数の圧力値と、該複数の測定用基板の各々についての該吸引面における該閉塞領域の範囲又は該吸引面における該露出領域と、に基づいて、該複数の吸引口における目詰まりが生じているか否かを診断することを特徴とする請求項1又は2に記載の診断方法。
【請求項4】
該準備工程では、同一の形状及び同一の該一面の面積をそれぞれ有する複数の基板のそれぞれにおいて、
該複数の基板のそれぞれの外周部を切削ブレードで切削して除去することで互いに異なる該一面の径を有する該複数の測定用基板を作成する、又は、該複数の基板のそれぞれの中央部を切削ブレードで切削して除去することで互いに異なる径を有する貫通孔を含む該複数の測定用基板を作成することを特徴とする請求項3に記載の診断方法。
【請求項5】
該準備工程では、同一の形状及び同一の該一面の面積をそれぞれ有する複数の基板のそれぞれにおいて、
該複数の基板のそれぞれの外周部を切削ブレードで切削して該一面から該他面までには至らない深さを有する環状段差を該複数の基板のそれぞれの外周部に形成することで、該一面の面積を該他面の面積よりもそれぞれ小さくすることを特徴とする請求項3に記載の診断方法。
発明の詳細な説明
【技術分野】
【0001】
本発明は、吸引路を介して吸引源に接続されている複数の吸引口を吸引面に有しており当該吸引面で被加工物を吸引可能な保持板における当該複数の吸引口の目詰まりを診断する診断方法に関する。
続きを表示(約 1,100 文字)
【背景技術】
【0002】
研削装置、切削装置等の加工装置は、半導体ウェーハ等の被加工物を負圧により吸引保持するチャックテーブルを備える(例えば、特許文献1参照)。このチャックテーブルとしては、上面に細孔が露出する多孔質板、上面に開口が露出する支持板等(以下、まとめて保持板と称する)が用いられる。
【0003】
保持板の上面に露出する細孔及び開口(以下、まとめて吸引口と称する)には、吸引源から負圧が伝達され、これにより、各上面は、被加工物を吸引保持する保持面として機能する。しかし、研削屑、切削屑等の加工屑は、吸引口を閉塞することがあるし、保持板の内部に設けられている流路に詰まることもある。
【0004】
その結果、保持面での吸引力が低下すると、加工時にチップの飛びが生じたりする等、加工品質に悪影響が及ぶ可能性がある。そこで、チャックテーブルとして多孔質板が使用される場合に、被加工物の加工前に、保持面に露出している細孔の目詰まりを確認する手法が知られている。
【0005】
具体的には、まず、エアーを含む水を継続的に保持面から噴出させた状態で、保持面を撮像する。次いで、撮像により得られた画像における泡の有無に基づいて、目詰まりの程度を診断する(例えば、特許文献2参照)。
【0006】
エアーを含む水は、保持面の細孔から噴出する際に泡を形成するので、泡が形成される領域では、目詰まりが生じていない又は目詰まりの程度が低いと、画像に基づいて客観的に診断できる。
【0007】
しかし、泡の大きさは時間と共に変化し、泡の大きさが安定しない。また、時間と共に泡の発生と消滅とが繰り返されるので、撮像タイミングによっては、目詰まりが生じていない領域であるにもかかわらず、泡が撮像されないこともある。
【0008】
加えて、得られた画像を二値化処理することにより泡の有無を判定するので、チャックテーブルを照らす光量が変化しただけでも診断結果が変わるという問題もある。それゆえ、泡が形成されている保持面の画像に基づいて目詰まりの程度を診断する手法は、診断結果の安定性に乏しい。
【先行技術文献】
【特許文献】
【0009】
特開2015-60922号公報
特開2018-114563号公報
【発明の概要】
【発明が解決しようとする課題】
【0010】
本発明は係る問題点に鑑みてなされたものであり、泡の画像に基づいて目詰まりの程度を診断する場合に比べて、安定的に目詰まりの診断ができる診断方法を提供することを目的とする。
【課題を解決するための手段】
(【0011】以降は省略されています)
この特許をJ-PlatPat(特許庁公式サイト)で参照する
関連特許
株式会社ディスコ
被加工物の加工方法
14日前
信越半導体株式会社
ウェーハの加工方法
2日前
株式会社東京精密
加工装置
14日前
株式会社東京精密
加工装置
14日前
株式会社ディスコ
切削装置
14日前
株式会社ディスコ
研磨装置
1日前
株式会社ディスコ
切削装置
7日前
信越半導体株式会社
ウェーハの加工方法
2日前
ノリタケ株式会社
砥粒内包型高強度研磨パッド
4日前
富士紡ホールディングス株式会社
化学機械研磨用保持具
7日前
日本特殊陶業株式会社
セラミック部材の製造方法
14日前
株式会社ディスコ
加工水供給装置
7日前
株式会社ディスコ
診断方法
4日前
株式会社ディスコ
切削ブレード治具
4日前
横河電機株式会社
研磨用治具および研磨方法
14日前
株式会社荏原製作所
研磨装置、研磨方法、および研磨ヘッド
14日前
株式会社荏原製作所
研磨ヘッド、研磨装置、および研磨方法
14日前
株式会社太陽商会
回転研磨具
1日前
本田技研工業株式会社
研削工具のドレッシング方法および研削装置
8日前
株式会社ディスコ
研磨装置及びウェーハの研磨方法
15日前
株式会社荏原製作所
基板研磨装置、基板処理装置、基板研磨方法、およびプログラム
14日前
富士紡ホールディングス株式会社
研磨パッドの取り付け治具および研磨パッドの取り付け方法
14日前
セイコーフューチャークリエーション株式会社
自動送出ブラシおよびセグメントブラシ
7日前
株式会社大林組
作業補助装置及び表面処理装置
4日前
株式会社大林組
表面処理装置及び表面処理方法
4日前
株式会社東京精密
CMP装置及びCMP装置を用いた研磨済ワークの製造方法
2日前
株式会社東京精密
ワーク加工装置及びワーク加工方法
3日前
株式会社クオルテック
研磨ロボットおよび研磨加工装置と研磨方法、半導体素子および電子部品の加工装置および分析方法、研磨対象物の配置装置および整理装置
4日前
アプライド マテリアルズ インコーポレイテッド
モニタリング用のニューラルネットワークを用いた研磨装置
2日前
アプライド マテリアルズ インコーポレイテッド
タイムベースの一連の画像を使用したCMP構成要素の動作不良の検出
2日前
三菱電線工業株式会社
シール材
1日前
インターロール ホールディング アクツィエンゲゼルシャフト
移載デバイス
2日前
三菱電線工業株式会社
シール材の製造方法
1日前
三菱電線工業株式会社
シール材の製造方法
1日前
株式会社日立製作所
計算機システム及びタスクの割当制御方法
14日前
他の特許を見る