TOP
|
特許
|
意匠
|
商標
特許ウォッチ
Twitter
他の特許を見る
公開番号
2025141088
公報種別
公開特許公報(A)
公開日
2025-09-29
出願番号
2024040842
出願日
2024-03-15
発明の名称
ノズルユニット
出願人
株式会社ディスコ
代理人
インフォート弁理士法人
主分類
B23Q
11/10 20060101AFI20250919BHJP(工作機械;他に分類されない金属加工)
要約
【課題】流体の供給条件を簡単に変更できるノズルユニットを提供する。
【解決手段】流体を供給するノズルユニット(30)であり、流体を供給する形状が異なる複数の第一流路(39)を有する第一ブロック(32)と、複数の第一流路のうち少なくとも一つの第一流路に接続すると共に流体供給源(51)に接続する第二流路(43)を有する第二ブロック(33)と、を備え、第一ブロックと第二ブロックとが相対的に移動可能であり、第二流路と接続する位置に配置された第一流路から流体を供給する。
【選択図】図6
特許請求の範囲
【請求項1】
流体を供給するノズルユニットであって、
該ノズルユニットは、
流体を供給する形状が異なる複数の第一流路を有する第一ブロックと、
複数の該第一流路のうち少なくとも一つの該第一流路と、流体供給源と、に接続する第二流路を有する第二ブロックと、を備え、
該第一ブロックと該第二ブロックとが相対的に移動可能であり、
該第二流路と接続する位置に配置された該第一流路から流体を供給することを特徴とするノズルユニット。
続きを表示(約 120 文字)
【請求項2】
該ノズルユニットは、加工装置に設置され、加工工具に流体を供給することを特徴とする請求項1に記載のノズルユニット。
【請求項3】
該加工工具は、切削ブレードである請求項2に記載のノズルユニット。
発明の詳細な説明
【技術分野】
【0001】
本発明は、流体を供給するノズルユニットに関する。
続きを表示(約 1,400 文字)
【背景技術】
【0002】
処理対象物に対して処理を行う様々な処理装置において、処理の際に、液体、気体、液体と気体を混合した二流体などの各種の流体をノズルから供給することが行われている。例えば、特許文献1には、被加工物を切削加工する切削装置で、切削加工点に向けて切削水供給ノズルから切削水を供給することが開示されている。供給された切削水によって、切削加工の際に生じた加工屑の除去や、切削加工点の冷却などを行っている。
【先行技術文献】
【特許文献】
【0003】
特開2009-255222号公報
【発明の概要】
【発明が解決しようとする課題】
【0004】
処理装置で、処理に使用する流体の供給条件(例えば、流量や圧力など)を、処理対象物や処理の状況に応じて変更したいという要望がある。このような要望に対して、従来は、流体を供給するノズルの交換や、ノズルに繋がる流体供給構造の交換を行っており、大掛かりな作業を必要としていた。
【0005】
本発明の課題は、流体の供給条件を簡単に変更できるノズルユニットを提供することである。
【課題を解決するための手段】
【0006】
本発明の一態様は、流体を供給するノズルユニットであって、該ノズルユニットは、流体を供給する形状が異なる複数の第一流路を有する第一ブロックと、複数の該第一流路のうち少なくとも一つの該第一流路と、流体供給源と、に接続する第二流路を有する第二ブロックと、を備え、該第一ブロックと該第二ブロックとが相対的に移動可能であり、該第二流路と接続する位置に配置された該第一流路から流体を供給することを特徴とする。
【0007】
ノズルユニットは、加工装置に設置され、加工工具に流体を供給することが好ましい。一つの形態として、加工工具は切削ブレードである。
【発明の効果】
【0008】
以上のノズルユニットによれば、第一ブロックと第二ブロックとを相対的に移動させることによって、流体の供給条件を簡単に変更することができる。
【図面の簡単な説明】
【0009】
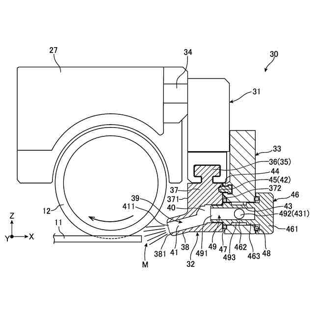
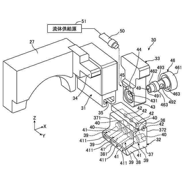
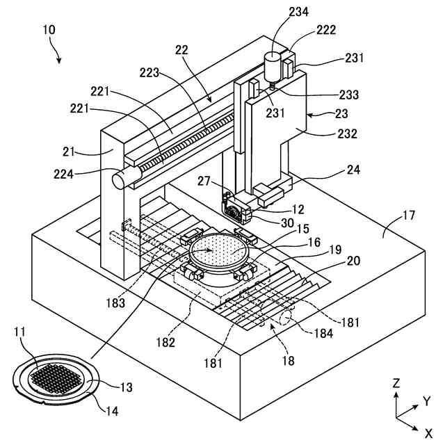
ノズルユニットを備えた加工装置の斜視図である。
ノズルユニットを分解した状態の斜視図である。
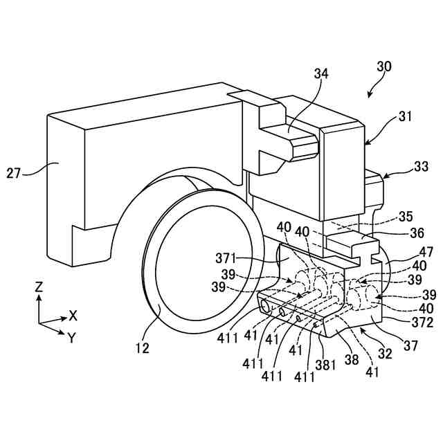
ノズルユニットの斜視図である。
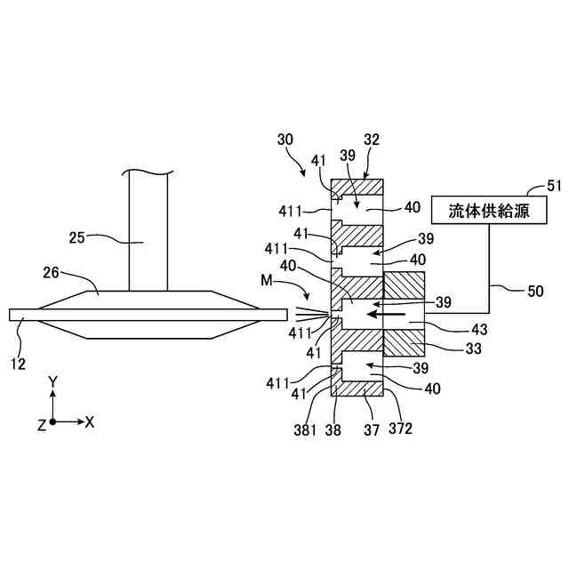
第一流路を第二流路に接続したノズルユニットの上下方向に沿う断面図である。
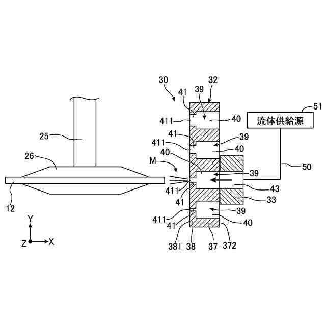
第二流路に接続する第一流路を変更したノズルユニットの上下方向に沿う断面図である。
水平方向に沿うノズルユニットの断面図である。
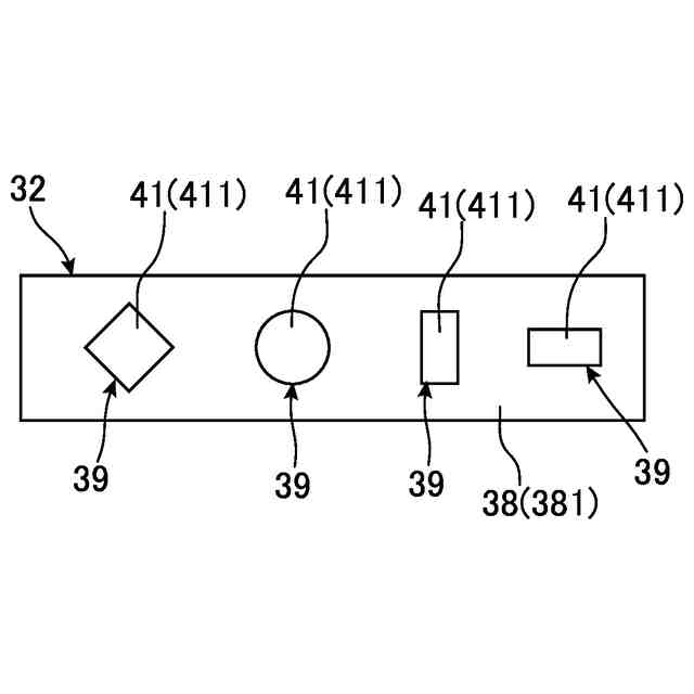
ノズルユニットが備える複数の第一流路の開口の一例を示す図である。
ノズルユニットが備える複数の第一流路の開口の異なる例を示す図である。
【発明を実施するための形態】
【0010】
以下、添付図面を参照して、本発明を適用した一形態であるノズルユニット30と、ノズルユニット30を備えた処理装置の一例である加工装置10について説明する。各図面に示すX軸方向、Y軸方向、Z軸方向は、互いに垂直な方向であり、X軸方向とY軸方向は水平方向、Z軸方向は上下方向である。なお、図示の加工装置10は一例であり、他にも様々な処理装置への適用が可能である。加工装置10以外への具体的な適用例については後述する。
(【0011】以降は省略されています)
この特許をJ-PlatPat(特許庁公式サイト)で参照する
関連特許
株式会社ディスコ
ノズル
14日前
株式会社ディスコ
研磨装置
1日前
株式会社ディスコ
切削装置
7日前
株式会社ディスコ
診断方法
4日前
株式会社ディスコ
切削装置
14日前
株式会社ディスコ
研削装置
今日
株式会社ディスコ
加工装置
14日前
株式会社ディスコ
搬送システム
今日
株式会社ディスコ
ノズルユニット
4日前
株式会社ディスコ
加工水供給装置
7日前
株式会社ディスコ
切削ブレード治具
4日前
株式会社ディスコ
ブレーキング装置
今日
株式会社ディスコ
液体供給システム
14日前
株式会社ディスコ
洗浄装置及び洗浄方法
1日前
株式会社ディスコ
搬送機構および搬送方法
1日前
株式会社ディスコ
積層ウェーハの加工方法
4日前
株式会社ディスコ
貼り合わせ基板の加工方法
14日前
株式会社ディスコ
試験装置、試験片の試験方法
4日前
株式会社ディスコ
加工方法及びレーザ加工装置
14日前
株式会社ディスコ
端面処理工具及び端面処理方法
7日前
株式会社ディスコ
保護シート、及びシート配設方法
今日
株式会社ディスコ
加工方法及びレーザ加工プログラム
14日前
株式会社ディスコ
ウエーハの処理方法及びウエーハの処理装置
2日前
株式会社ディスコ
保護部材形成装置および保護部材の形成方法
14日前
株式会社ディスコ
運搬装置、運搬方法及びケーブルの引き出し方法
4日前
株式会社ディスコ
液体供給システム、送液装置、及び液体を消費する装置
14日前
株式会社ディスコ
シートの処理方法、チップの製造方法及び基板の製造方法
今日
株式会社ディスコ
フレームユニット形成方法およびフレームユニット形成装置
今日
個人
タップ
4か月前
個人
フライス盤
23日前
個人
加工機
4か月前
麗豊実業股フン有限公司
ラクトバチルス・パラカセイNB23菌株及びそれを筋肉量の増加や抗メタボリック症候群に用いる用途
4か月前
日東精工株式会社
ねじ締め機
23日前
株式会社北川鉄工所
回転装置
3か月前
日東精工株式会社
ねじ締め機
1か月前
日東精工株式会社
ねじ締め機
4か月前
続きを見る
他の特許を見る