TOP
|
特許
|
意匠
|
商標
特許ウォッチ
Twitter
他の特許を見る
10個以上の画像は省略されています。
公開番号
2025133565
公報種別
公開特許公報(A)
公開日
2025-09-11
出願番号
2024031590
出願日
2024-03-01
発明の名称
検出装置
出願人
株式会社Magnolia White
代理人
弁理士法人酒井国際特許事務所
主分類
C12M
1/34 20060101AFI20250904BHJP(生化学;ビール;酒精;ぶどう酒;酢;微生物学;酵素学;突然変異または遺伝子工学)
要約
【課題】検出精度を向上させることが可能な検出装置を提供する。
【解決手段】検出装置は、面状に配置された複数の光検出素子を含む光センサと、複数の光検出素子に光を照射する光源と、複数の被検出体を搭載するための透光性の被検出体設置部と、を有し、光源、被検出体設置部、光センサの順に配置されており、光センサは、電源投入後の初期状態でのベースラインデータを取得し、所定の期間ごとに、複数の光検出素子から取得したセンサ値と、ベースラインデータとの差分に基づいて差分データを取得し、差分データが第1閾値を超えたときに、初期状態において水分が存在したことを示す初期水分領域の内部での被検出体の検出を示すアラート、あるいは、被検出体の検出を示すアラートのいずれかを出力する。
【選択図】図19
特許請求の範囲
【請求項1】
面状に配置された複数の光検出素子を含む光センサと、
前記複数の光検出素子に光を照射する光源と、
複数の被検出体を搭載するための透光性の被検出体設置部と、を有し、
前記光源、前記被検出体設置部、前記光センサの順に配置されており、
前記光センサは、電源投入後の初期状態でのベースラインデータを取得し、
所定の期間ごとに、前記複数の光検出素子から取得したセンサ値と、前記ベースラインデータとの差分に基づいて差分データを取得し、
前記差分データが第1閾値を超えたときに、前記初期状態において水分が存在したことを示す初期水分領域の内部での前記被検出体の検出を示すアラート、あるいは、前記被検出体の検出を示すアラートのいずれかを出力する
検出装置。
続きを表示(約 700 文字)
【請求項2】
前記第1閾値よりも小さい第2閾値を有し、
前記差分データの分布において、前記差分データが前記第2閾値よりも大きい第1領域を抽出し、
前記第1領域の外周よりも内側の領域に、前記差分データが前記第2閾値よりも小さい第2領域が存在したときに、前記第1領域を前記初期水分領域と判断する
請求項1に記載の検出装置。
【請求項3】
前記初期水分領域と、前記第2領域との間の領域を、前記初期状態から前記差分データを取得した所定の期間までに、水分が蒸発したことを示す水分蒸発領域と判断する
請求項2に記載の検出装置。
【請求項4】
前記第2領域を、前記差分データを取得した所定の期間において水分が検出された領域であると判断する
請求項2に記載の検出装置。
【請求項5】
前記差分データの分布において、前記差分データが前記第1閾値よりも大きい被検出体領域を抽出し、
前記被検出体領域が前記初期水分領域と重なるときに、前記初期水分領域での前記被検出体の検出を示すアラートを出力する
請求項1に記載の検出装置。
【請求項6】
前記差分データの分布において、前記差分データが前記第1閾値よりも大きい被検出体領域を抽出し、
前記被検出体領域が前記初期水分領域と重ならないときに、前記被検出体の検出を示すアラートを出力する
請求項1に記載の検出装置。
【請求項7】
前記複数の光検出素子は、フォトダイオードである
請求項1に記載の検出装置。
発明の詳細な説明
【技術分野】
【0001】
本発明は、検出装置に関する。
続きを表示(約 2,500 文字)
【背景技術】
【0002】
特許文献1には、光学センサと、微生物及び培地を備えた容器と、光源と、を備え、当該容器内の微生物の成長を示す画像を経時的に取得する画像取得装置が開示されている。
【先行技術文献】
【特許文献】
【0003】
特開2018-033430号公報
【発明の概要】
【発明が解決しようとする課題】
【0004】
このような検出装置において、容器に水分が付着した場合に、検出対象の被検出体を良好に検出することが困難となる可能性がある。
【0005】
本発明は、検出精度を向上させることが可能な検出装置を提供することを目的とする。
【課題を解決するための手段】
【0006】
本開示の一態様の検出装置は、面状に配置された複数の光検出素子を含む光センサと、前記複数の光検出素子に光を照射する光源と、複数の被検出体を搭載するための透光性の被検出体設置部と、を有し、前記光源、前記被検出体設置部、前記光センサの順に配置されており、前記光センサは、電源投入後の初期状態でのベースラインデータを取得し、所定の期間ごとに、前記複数の光検出素子から取得したセンサ値と、前記ベースラインデータとの差分に基づいて差分データを取得し、前記差分データが第1閾値を超えたときに、前記初期状態において水分が存在したことを示す初期水分領域の内部での前記被検出体の検出を示すアラート、あるいは、前記被検出体の検出を示すアラートのいずれかを出力する。
【図面の簡単な説明】
【0007】
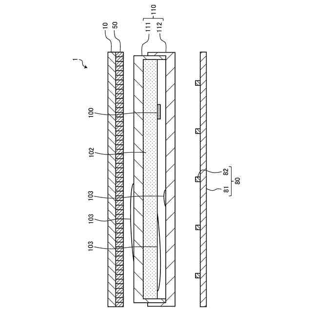
図1は、実施形態に係る検出装置を模式的に示す断面図である。
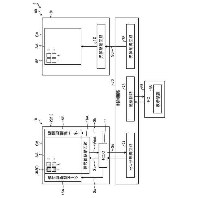
図2は、実施形態に係る検出装置の構成例を示すブロック図である。
図3は、センサ画素を示す回路図である。
図4は、実施形態に係る検出回路の構成例を示すブロック図である。
図5は、実施形態に係るセンサ制御回路の構成例を示すブロック図である。
図6は、被検出体の成長の様子を模式的に示す模式図である。
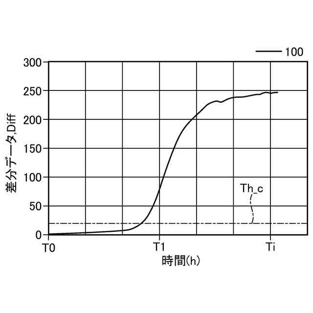
図7は、被検出体の検出におけるセンサ値と時間との関係を模式的に示すグラフである。
図8は、被検出体の検出における差分データと時間との関係を模式的に示すグラフである。
図9は、被検出体の検出におけるセンサ値、差分データ、及び、検出された被検出体を説明するための説明図である。
図10は、水分の蒸発の様子を模式的に示す模式図である。
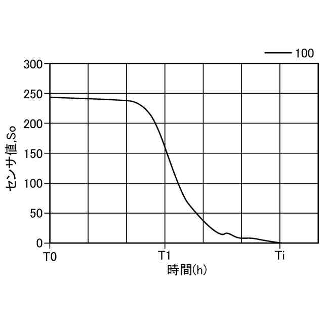
図11は、水分の検出におけるセンサ値と時間との関係を模式的に示すグラフである。
図12は、水分の検出における差分データと時間との関係を模式的に示すグラフである。
図13は、水分の検出におけるセンサ値、差分データ、及び、検出された初期水分領域を説明するための説明図である。
図14は、変形例に係る水分の検出における、センサ値と時間との関係を模式的に示すグラフである。
図15は、変形例に係る水分の検出における、差分データと時間との関係を模式的に示すグラフである。
図16は、変形例に係る水分の検出における、センサ値、差分データ、及び、検出された初期水分領域を説明するための説明図である。
図17は、被検出体及び水分の検出における、センサ値と時間との関係を模式的に示すグラフである。
図18は、被検出体及び水分の検出における、差分データと時間との関係を模式的に示すグラフである。
図19は、被検出体の成長の様子、及び、水分の蒸発の様子を模式的に示す模式図である。
図20は、被検出体及び水分の検出における、センサ値、差分データ、及び、検出された被検出体及び初期水分領域を説明するための説明図である。
図21は、ベースラインデータの取得方法を説明するためのフローチャートである。
図22は、差分データの取得方法を説明するためのフローチャートである。
図23は、被検出体の検出方法、及び、アラートの出力を説明するためのフローチャートである。
図24は、水分の検出方法を説明するためのフローチャートである。
【発明を実施するための形態】
【0008】
本開示を実施するための形態(実施形態)につき、図面を参照しつつ詳細に説明する。以下の実施形態に記載した内容により本開示が限定されるものではない。また、以下に記載した構成要素には、当業者が容易に想定できるもの、実質的に同一のものが含まれる。さらに、以下に記載した構成要素は適宜組み合わせることが可能である。なお、開示はあくまで一例にすぎず、当業者において、本開示の主旨を保っての適宜変更について容易に想到し得るものについては、当然に本開示の範囲に含有されるものである。また、図面は説明をより明確にするため、実際の態様に比べ、各部の幅、厚さ、形状等について模式的に表される場合があるが、あくまで一例であって、本開示の解釈を限定するものではない。また、本開示と各図において、既出の図に関して前述したものと同様の要素には、同一の符号を付して、詳細な説明を適宜省略することがある。
【0009】
本開示において、ある構造体の上に他の構造体を配置する態様を表現するにあたり、単に「上に」と表記する場合、特に断りの無い限りは、ある構造体に接するように、直上に他の構造体を配置する場合と、ある構造体の上方に、さらに別の構造体を介して他の構造体を配置する場合との両方を含むものとする。
【0010】
(実施形態)
図1は、実施形態に係る検出装置を模式的に示す断面図である。図1に示すように、検出装置1は、光センサ10と、光フィルタ層50と、被検出体100を収容するための容器110と、光源80と、を含む。検出装置1は、光源80、容器110(被検出体100)、光フィルタ層50、光センサ10の順に配置されている。
(【0011】以降は省略されています)
特許ウォッチbot のツイートを見る
この特許をJ-PlatPat(特許庁公式サイト)で参照する
関連特許
個人
抗遺伝子劣化装置
1か月前
個人
細胞内探査とその利用
1か月前
日本バイリーン株式会社
細胞用支持基材
3か月前
杏林製薬株式会社
核酸検出用PCR溶液
4か月前
個人
細胞培養容器
2か月前
日油株式会社
蛋白質安定化剤
2か月前
株式会社タクマ
バイオマス処理装置
1か月前
株式会社タクマ
バイオマス処理装置
1か月前
株式会社東洋新薬
経口組成物
1か月前
テルモ株式会社
吐出デバイス
27日前
サッポロビール株式会社
飲料
3か月前
東洋紡株式会社
改変型RNAポリメラーゼ
2か月前
東ソー株式会社
pH応答性マイクロキャリア
1か月前
宝酒造株式会社
アルコール飲料
6日前
テルモ株式会社
容器蓋デバイス
27日前
大陽日酸株式会社
培養装置
1か月前
大陽日酸株式会社
培養装置
1か月前
トヨタ自動車株式会社
バイオ燃料製造方法
24日前
株式会社ファンケル
SEC12タンパク発現促進剤
2か月前
株式会社豊田中央研究所
細胞励起装置
4日前
株式会社東海ヒット
灌流培養ユニット
3か月前
個人
ナノ微粒子の製造方法
3か月前
オンキヨー株式会社
浸漬酒の製造方法、及び、浸漬酒
3か月前
アサヒビール株式会社
柑橘風味アルコール飲料
2か月前
アサヒビール株式会社
柑橘風味アルコール飲料
2か月前
株式会社シャローム
スフィンゴミエリン製造方法
1か月前
テルモ株式会社
採取組織細切補助デバイス
27日前
株式会社今宮
瓶詰ビールの加熱殺菌方法および装置
1か月前
横河電機株式会社
藻類培養装置
16日前
住友金属鉱山株式会社
連続発酵方法及び連続発酵装置
1か月前
公立大学法人北九州市立大学
微生物の検知方法
1か月前
株式会社ショウワ
キトサンオリゴマー分画方法
6日前
花王株式会社
リパーゼ変異体
3か月前
池田食研株式会社
抗疲労用組成物
3か月前
株式会社日本触媒
スフェロイドの輸送方法
2日前
個人
移植材料の評価方法
3か月前
続きを見る
他の特許を見る