TOP
|
特許
|
意匠
|
商標
特許ウォッチ
Twitter
他の特許を見る
10個以上の画像は省略されています。
公開番号
2025134179
公報種別
公開特許公報(A)
公開日
2025-09-17
出願番号
2024031920
出願日
2024-03-04
発明の名称
プレキャスト床版の製造方法
出願人
株式会社横河ブリッジ
代理人
弁理士法人 武政国際特許商標事務所
主分類
E04B
5/02 20060101AFI20250909BHJP(建築物)
要約
【課題】本願発明は、底部が開口した「函体」を鉄筋の一部に被せるように設置したうえでコンクリートを打ち込む、という点に着目してなされたものであり、従来にはない発想に基づいて行われた発明である。
【解決手段】本願発明のプレキャスト床版の製造方法は、プレキャスト製床版を製造する方法であって、配筋工程と型枠工程、函体設置工程、コンクリート打込工程を備えた方法である。函体設置工程では底部が開口した函体を鉄筋の一部を覆うように設置し、コンクリート打込工程では函体を設置した状態で型枠内にコンクリートを打ち込む。コンクリートの硬化後に函体を取り除くと、箱抜き部の中を通過するように鉄筋が配置される。
【選択図】図6
特許請求の範囲
【請求項1】
プレキャスト製床版を製造する方法であって、
鉄筋を組み立てる配筋工程と、
型枠を組み立てる型枠工程と、
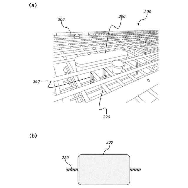
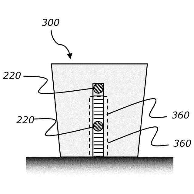
底部が開口した函体を、前記鉄筋の一部を覆うように設置する函体設置工程と、
前記函体を設置した状態で、前記型枠にコンクリートを打ち込むコンクリート打込工程と、を備え、
前記函体を構成する側面には、前記鉄筋を収容するスリットが設けられ、
前記函体設置工程では、前記スリットの下方から前記鉄筋を挿入したうえで、上方から落とし込みながら前記函体を設置し、
前記コンクリートの硬化後に前記函体を取り除くと、版厚方向に貫通する箱抜き部が形成されるとともに、前記鉄筋が該箱抜き部の中を通過するように配置される、
ことを特徴とするプレキャスト床版の製造方法。
続きを表示(約 440 文字)
【請求項2】
前記函体は、前記側面からなる本体と、上面蓋と、を含んで構成され、
前記函体設置工程では、前記鉄筋の一部を覆うように前記本体を設置したうえで、前記本体の上面開口部に前記上面蓋を配置する、
ことを特徴とする請求項1記載のプレキャスト床版の製造方法。
【請求項3】
前記函体設置工程の後、前記函体の内側から前記スリットに覆材を貼付する覆材貼付工程を、さらに備え、
前記コンクリートの硬化後、前記上面蓋を取り外したうえで、前記函体の内側から前記覆材を取り外して前記函体を取り除く、
ことを特徴とする請求項2記載のプレキャスト床版の製造方法。
【請求項4】
前記配筋工程では、橋軸方向の第1鉄筋と、橋軸直角方向の第2鉄筋と、を配置し、
前記箱抜き部の中には、直交又は略直交する前記第1鉄筋及び前記第2鉄筋が配置される、
ことを特徴とする請求項1記載のプレキャスト床版の製造方法。
発明の詳細な説明
【技術分野】
【0001】
本願発明は、鋼コンクリート合成床版やPC(Prestressed Concrete)床版、RC(Reinforced Concrete)床版といったプレキャスト製のコンクリート床版に関する技術であり、より具体的には、床版の箱抜き部にも鉄筋を配置することができるプレキャスト床版の製造方法に関するものである。
続きを表示(約 1,600 文字)
【背景技術】
【0002】
高度経済成長期に集中的に整備されてきた建設インフラストラクチャー(以下、「建設インフラ」という。)は、既に相当な老朽化が進んでいることが指摘されている。平成26年には「道路の老朽化対策の本格実施に関する提言(社会資本整備審議会)」がとりまとめられ、平成24年の笹子トンネル天井板崩落事故の例を挙げて「近い将来、橋梁の崩落など人命や社会装置に関わる致命的な事態を招くであろう」と警鐘を鳴らし、建設インフラの維持管理の重要性を強く唱えている。
【0003】
このような背景のもと、国は道路法施行規則の一部を改正する省令を公布し、具体的な建設インフラの点検方法、主な変状の着目箇所、判定事例写真などを示した定期点検要領を策定している。この定期点検要領では、約70万橋に上るといわれる橋長2.0m以上の橋を対象としており、供用開始後2年以内に初回点検、以降5年に1回の頻度で定期点検を行うこととしている。
【0004】
一方、道路橋を設計する際の基準である「道路橋示方書」は、昭和14年に鋼道路橋設計示方書案が発行されて以来随時見直されてきており、特に兵庫県南部地震の後には大幅な改定が行われている。この結果、従前では十分に耐力のあった橋梁であっても、現在の設計基準に照らせばその耐力が不足している場合も少なくない。
【0005】
上記した老朽化と強度不足という2つの理由から、現在では橋梁の補強や改築がしばしば行われている。また、桁部材が健全であっても車両荷重を支持する床版が劣化すると、その床版の補修を行ったり、劣化した床版に代えて新たな床版を更新する床版更新工事を行ったりしている。
【0006】
ところが現在の道路橋は、大量の交通を確保しており、つまり人の移動や流通産業を支えているのが現状であり、安易にその供用を止めることはできない。特に、高速道路など自動車専用道路の高架橋は、一日に数万台の車を通行させており、仮に通行させないとすればその経済的損失額は計り知れないものとなるし、救急の患者を搬送できないとすれば社会的な問題にもなりかねない。そのため供用中の道路橋に対して工事を行う場合、常に早期の交通開放が求められ、施工者は早期開放を実現すべく工期短縮に努めているところである。
【0007】
従来、コンクリート製の床版を構築するにあたっては、場所打ちコンクリート工法が採用されることが多かった。この場所打ちコンクリート工法は、現地で型枠を組み立てたうえでフレッシュコンクリートを打ち込み、その後所定期間だけ養生するといった工程が必要である。そのため、現地を長い期間占有することとなり、供用中の道路橋の床版を取り替える工事では通行を規制する期間もそれだけ長期にわたっていた。
【0008】
そこで、近年では場所打ちコンクリート工法に代えてプレキャスト製のコンクリート床版を利用する機会も増えてきた。このプレキャスト製のコンクリート床版は工場で製造されるため、品質の管理も容易であり、しかも現地では主に設置する工程で足り、故に現場を占有する期間を短縮することができるわけである。
【0009】
また利用機会の増加に伴って、プレキャスト製のコンクリート床版に関する種々の技術がこれまで提案されてきた。例えば特許文献1では、主桁のジベルを収容する箱抜き部への浸水を防止するため、上方に頂板部を残すように収容部が形成されたプレキャスト床版について提案している。
【先行技術文献】
【特許文献】
【0010】
特開2018-40168号公報
【発明の概要】
【発明が解決しようとする課題】
(【0011】以降は省略されています)
この特許をJ-PlatPat(特許庁公式サイト)で参照する
関連特許
個人
接合構造
2日前
個人
屋台
19日前
個人
タッチミー
1日前
個人
野良猫ハウス
1か月前
個人
フェンス
1か月前
個人
転落防止用手摺
29日前
個人
筋交自動設定装置
9日前
積水樹脂株式会社
柵体
28日前
個人
地下型マンション
3か月前
個人
ベンリナアングル
1日前
個人
居住車両用駐車場
1か月前
ニチハ株式会社
建築板
1か月前
株式会社タナクロ
テント
3か月前
個人
熱抵抗多層断熱建材
1か月前
個人
鋼管結合資材
3か月前
個人
補強部材
1か月前
個人
柵
2か月前
個人
循環流水式屋根融雪装置
3か月前
成友建設株式会社
建物
1か月前
鹿島建設株式会社
壁体
1か月前
個人
身体用シェルター
9日前
個人
身体用シェルター
9日前
三協立山株式会社
構造体
9日前
三協立山株式会社
構造体
9日前
三協立山株式会社
構造体
3か月前
株式会社熊谷組
木質材料
19日前
三協立山株式会社
構造体
9日前
三協立山株式会社
構造体
9日前
インターマン株式会社
天井構造
1か月前
三協立山株式会社
構造体
9日前
株式会社熊谷組
吊り治具
6日前
三協立山株式会社
構造体
9日前
個人
可搬型供養墓
7日前
イワブチ株式会社
組立柱
28日前
株式会社エフコンサルタント
面材
9日前
岡部株式会社
型枠緊結金具
3か月前
続きを見る
他の特許を見る