TOP
|
特許
|
意匠
|
商標
特許ウォッチ
Twitter
他の特許を見る
公開番号
2025134269
公報種別
公開特許公報(A)
公開日
2025-09-17
出願番号
2024032068
出願日
2024-03-04
発明の名称
限界電流式ガスセンサ
出願人
日本特殊陶業株式会社
代理人
個人
主分類
G01N
27/41 20060101AFI20250909BHJP(測定;試験)
要約
【課題】拡散律速の程度、ひいては測定レンジを制御できるとともに、抵抗値が低く低温で駆動可能な限界電流式ガスセンサを提供する。
【解決手段】絶縁層9と、絶縁層の表面にギャップGを開けて設けられるカソード電極11及びアノード電極12と、ギャップ、カソード電極及びアノード電極の表面とに設けられる固体電解質層14と、を備えた限界電流式ガスセンサ1において、固体電解質層の厚みが1μm以下であり、固体電解質層には、カソード電極の表面に連通する少なくとも1つの第1開口14h1と、アノード電極の表面に連通する少なくとも1つの第2開口14h2と、が設けられ、全ての第1開口における固体電解質層とカソード電極との界面の合計長さをL1とし、全ての第2開口における固体電解質層とアノード電極との界面の合計長さをL2としたとき、L1<L2を満たす。
【選択図】図2
特許請求の範囲
【請求項1】
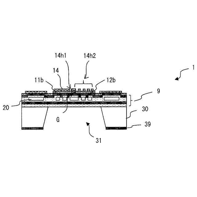
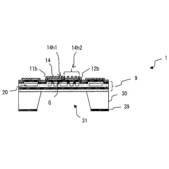
絶縁層と、
前記絶縁層の表面にギャップを開けて設けられるカソード電極及びアノード電極と、
前記ギャップ、前記カソード電極及び前記アノード電極の表面に設けられる固体電解質層と、
を備えた限界電流式ガスセンサにおいて、
前記固体電解質層の厚みが1μm以下であり、
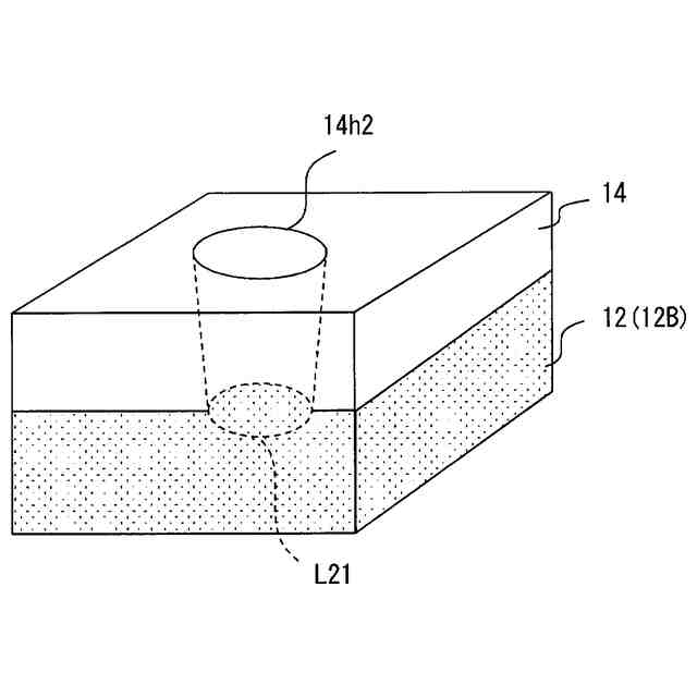
前記固体電解質層には、前記カソード電極の表面に連通する少なくとも1つの第1開口と、前記アノード電極の表面に連通する少なくとも1つの第2開口と、が設けられ、
全ての前記第1開口における前記固体電解質層と前記カソード電極との界面の合計長さをL1とし、全ての前記第2開口における前記固体電解質層と前記アノード電極との界面の合計長さをL2としたとき、L1<L2を満たすことを特徴とする限界電流式ガスセンサ。
続きを表示(約 250 文字)
【請求項2】
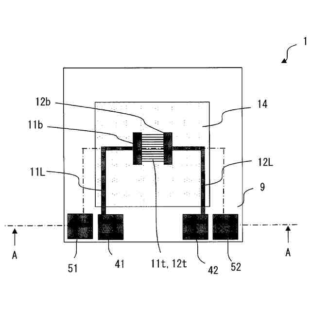
前記第1開口及び前記第2開口が前記ギャップに隣接して配置されてなることを特徴とする請求項1に記載の限界電流式ガスセンサ。
【請求項3】
前記ギャップの間隔が1000nm未満であることを特徴とする請求項1又は2に記載の限界電流式ガスセンサ。
【請求項4】
前記カソード電極及び前記アノード電極はそれぞれ櫛状をなし、前記カソード電極及び前記アノード電極の各櫛歯が互いに対向するように配置されていることを特徴とする請求項1又は2に記載の限界電流式ガスセンサ。
発明の詳細な説明
【技術分野】
【0001】
本発明は、被検出雰囲気中に存在するガスの濃度を検出する限界電流式ガスセンサに関する。
続きを表示(約 2,000 文字)
【背景技術】
【0002】
酸欠防止や燃焼管理など、酸素ガスの濃度を検出するセンサとして、酸化ジルコニウム等のイオン伝導性の固体電解質)の上下面にそれぞれ電極を設け、一方の電極(陰極)に到達する酸素ガスを拡散律速させ、限界電流値を測定する限界電流式酸素センサが知られている。
【0003】
そして、素子の小型化を図るため、絶縁性基板の上に、電極、固体電解質層を順次積層形成した薄膜型の限界電流式酸素センサが開発されている(特許文献1)。
特許文献1のガスセンサは、基板上にカソード電極層およびアノード電極層を形成し、これらの電極層を固体電解質層で覆っている。そして、固体電解質層を柱状または板状の結晶構造とすることで、上下方向(膜厚方向)に伸びる柱状の結晶粒子の隙間にガスを拡散律速させて通気させている。
【先行技術文献】
【特許文献】
【0004】
特開平10-197477号公報
【発明の概要】
【発明が解決しようとする課題】
【0005】
しかしながら、特許文献1のガスセンサの場合、柱状結晶の形成が難しく、結晶間の隙間の寸法制御も困難であり、ひいては拡散律速のコントロールも難しくなる。また、柱状結晶同士の水平方向に隙間があるため、結晶間の接触が少なくなり、1対の電極間の最近接部位から遠い領域でも酸素がイオン化されるため、抵抗値が高くなり、駆動温度が高くなる。
すなわち、本発明は、拡散律速の程度、ひいては測定レンジを制御できるとともに、抵抗値が低く低温で駆動可能な限界電流式ガスセンサの提供を目的とする。
【課題を解決するための手段】
【0006】
上記課題を解決するため、本発明の限界電流式ガスセンサは、絶縁層と、前記絶縁層の表面にギャップを開けて設けられるカソード電極及びアノード電極と、前記ギャップ、前記カソード電極及び前記アノード電極の表面に設けられる固体電解質層と、を備えた限界電流式ガスセンサにおいて、前記固体電解質層の厚みが1μm以下であり、前記固体電解質層には、前記カソード電極の表面に連通する少なくとも1つの第1開口と、前記アノード電極の表面に連通する少なくとも1つの第2開口と、が設けられ、全ての前記第1開口における前記固体電解質層と前記カソード電極との界面の合計長さをL1とし、全ての前記第2開口における前記固体電解質層と前記アノード電極との界面の合計長さをL2としたとき、L1<L2を満たすことを特徴とする。
【0007】
この限界電流式ガスセンサによれば、固体電解質層からそれぞれカソード電極及びアノード電極の表面に連通する第1開口及び第2開口を設け、第1開口及び第2開口のサイズ及び個数を制御することで、限界電流式ガスセンサにおける拡散律速の程度、ひいては測定レンジを容易に制御できる。
さらに、第1開口及び第2開口を適切に設計することで、抵抗値が低く低温で駆動可能な限界電流式ガスセンサが得られる。
また、L1<L2とすることで、L2が大きくなるため、酸素ポンピング作用による酸素排出が陰極側の酸素導入よりも大きくなり、電流値が飽和する限界電流が得やすくなる。
【0008】
本発明の限界電流式ガスセンサにおいて、前記第1開口及び前記第2開口が前記ギャップに隣接して配置されてなっていてもよい。
外部の酸素ガスは、カソード電極上で酸素イオンとなり、ギャップ表面の固体電解質層を移動してアノード電極に到達する。そこで、この限界電流式ガスセンサによれば、第1開口及び第2開口をギャップに隣接して配置することで、カソード電極上で生じた酸素イオンがギャップを介してアノード電極へ短い距離で移動するので、抵抗値がさらに低く、より低温で駆動可能な限界電流式ガスセンサが得られる。
【0009】
本発明の限界電流式ガスセンサにおいて、前記ギャップの間隔が1000nm未満であってもよい。
この限界電流式ガスセンサによれば、カソード電極上で生じた酸素イオンがギャップを介してアノード電極へさらに短い距離で移動するので、抵抗値がより一層低く、さらに低温で駆動可能な限界電流式ガスセンサが得られる。
【0010】
本発明の限界電流式ガスセンサにおいて、前記カソード電極及び前記アノード電極はそれぞれ櫛状をなし、前記カソード電極及び前記アノード電極の各櫛歯が互いに対向するように配置されていてもよい。
この限界電流式ガスセンサによれば、カソード電極及びアノード電極の各櫛歯が近接し、ひいてはギャップの間隔が狭くなるので、抵抗値がより一層低く、さらに低温で駆動可能な限界電流式ガスセンサが得られる。
【発明の効果】
(【0011】以降は省略されています)
この特許をJ-PlatPat(特許庁公式サイト)で参照する
関連特許
日本特殊陶業株式会社
電極
2日前
日本特殊陶業株式会社
電極
2日前
日本特殊陶業株式会社
電極
2日前
日本特殊陶業株式会社
電極
2日前
日本特殊陶業株式会社
保持装置
4日前
日本特殊陶業株式会社
保持装置
1か月前
日本特殊陶業株式会社
回収装置
1か月前
日本特殊陶業株式会社
配線基板
1か月前
日本特殊陶業株式会社
保持装置
1か月前
日本特殊陶業株式会社
保持装置
1か月前
日本特殊陶業株式会社
保持装置
6日前
日本特殊陶業株式会社
保持部材
16日前
日本特殊陶業株式会社
保持装置
2日前
日本特殊陶業株式会社
保持装置
2日前
日本特殊陶業株式会社
樹脂成形体
16日前
日本特殊陶業株式会社
抗菌処理装置
16日前
日本特殊陶業株式会社
超音波発生装置
6日前
日本特殊陶業株式会社
超音波発生装置
6日前
日本特殊陶業株式会社
スパークプラグ
1か月前
日本特殊陶業株式会社
スパークプラグ
1か月前
日本特殊陶業株式会社
セラミックヒータ
6日前
日本特殊陶業株式会社
マイクロリアクタ
6日前
日本特殊陶業株式会社
セラミックヒータ
3日前
日本特殊陶業株式会社
セラミックヒータ
3日前
日本特殊陶業株式会社
限界電流式ガスセンサ
18日前
日本特殊陶業株式会社
圧電セラミック積層体
24日前
日本特殊陶業株式会社
圧電セラミック積層体
3日前
日本特殊陶業株式会社
圧電セラミック積層体
24日前
日本特殊陶業株式会社
セラミックスサセプタ
1か月前
日本特殊陶業株式会社
圧電素子およびその利用
6日前
日本特殊陶業株式会社
圧電素子およびその利用
6日前
日本特殊陶業株式会社
セラミック部材の製造方法
16日前
日本特殊陶業株式会社
非水電解液および電気化学素子
25日前
日本特殊陶業株式会社
積層圧電セラミック素子及び装置
6日前
日本特殊陶業株式会社
配線基板および導電層の製造方法
2日前
日本特殊陶業株式会社
積層圧電セラミック素子及び装置
6日前
続きを見る
他の特許を見る