TOP
|
特許
|
意匠
|
商標
特許ウォッチ
Twitter
他の特許を見る
公開番号
2025134452
公報種別
公開特許公報(A)
公開日
2025-09-17
出願番号
2024032365
出願日
2024-03-04
発明の名称
外装品、吐出製品
出願人
株式会社ダイゾー
代理人
個人
,
個人
主分類
B65D
83/20 20250101AFI20250909BHJP(運搬;包装;貯蔵;薄板状または線条材料の取扱い)
要約
【課題】取り外せる状態になっていることが直感的に分かり易く、且つ短時間で取り外すことができる外装品を提供する。
【解決手段】吐出容器に取り付けられるカバー部材20と、カバー部材20に回動操作可能に取り付けられた操作部材30とを備え、カバー部材20が、弾性揺動部25と、弾性揺動部25に設けられ、吐出容器に係合する係合突起26とを備え、操作部材30が、操作部材30を回動操作することによって弾性揺動部25を揺動させて、係合突起26の吐出容器2との係合を解除する当接部33を備えており、カバー部材20に、操作部材30を回動操作すると、回動しながら上昇するように操作部材30を導くガイド溝23aが設けられている。
【選択図】図5
特許請求の範囲
【請求項1】
吐出容器に取り付けられるカバー部材と、
カバー部材に回動操作可能に取り付けられた操作部材とを備え、
カバー部材が、弾性揺動部と、弾性揺動部に設けられ、吐出容器に係合する係合突起とを備え、
操作部材が、操作部材を回動操作することによって弾性揺動部を揺動させて、係合突起の吐出容器との係合を解除する当接部を備えており、
カバー部材と操作部材のどちらか一方に、操作部材を回動操作すると、回動しながら上昇するように操作部材を導くガイド溝が設けられている、外装品。
続きを表示(約 360 文字)
【請求項2】
ガイド溝に差し込まれ、操作部材の回動操作時にガイド溝内を進む突起が、カバー部材と操作部材のうち、ガイド溝が設けられていない側に設けられており、
ガイド溝が設けられている側に、ガイド溝内を進む突起の進行を所定の位置で止めるストッパが設けられている、請求項1記載の外装品。
【請求項3】
外装品が、吐出容器のステムに接続される押しボタンをさらに備え、
カバー部材が、押しボタンを上下動可能に保持する内周壁を備えている、請求項1記載の外装品。
【請求項4】
カバー部材に操作部材を取り付ける際に、突起をガイド溝に導くための目印が設けられている、請求項2記載の外装品。
【請求項5】
吐出容器と、請求項1記載の外装品と、を備えた吐出製品。
発明の詳細な説明
【技術分野】
【0001】
本発明は、吐出容器用の付け替え式の外装品と、この外装品を備える吐出製品に関する。
続きを表示(約 1,400 文字)
【背景技術】
【0002】
特許文献1には、使い終わった後に簡単な操作で吐出容器から取り外すことができる吐出容器用の外装品が開示されている。この外装品は、カバー部材に回動可能に取り付けられた操作部材を回動操作することで吐出容器から取り外せるようになっている。
【0003】
特許文献2には、容器体に係合された脚片を有する筒状基体と、その筒状基体の外周に螺合された筒状操作体とを備える筒状装着部材が開示されている。この筒状装着部材は、脚片が容器体から離れようとする弾性力を、筒状基体に螺合された筒状操作体によって押さえ付けることで容器体に固定されている。そのため、筒状操作体を筒状基体から取り外せば、脚片の容器体との係合が解除され、筒状基体を容器体から取り外すことができる。
【先行技術文献】
【特許文献】
【0004】
特開2023-159031号公報
特開2008-247470号公報
【発明の概要】
【発明が解決しようとする課題】
【0005】
特許文献1の外装品には、吐出容器から外装品を取り外せる状態になっているか否かを示すためのマークが設けられているが、取り外せる状態になっているかが分かり難いという課題があった。
【0006】
特許文献2の筒状装着部材は、筒状操作体を筒状基体から取り外すのに、筒状操作体を螺脱方向に何周も回転させなければならず、取り外しに時間がかかってしまう。
【0007】
本発明は、取り外せる状態になっていることが直感的に分かり易く、且つ短時間で取り外すことができる外装品の提供を目的としている。
【課題を解決するための手段】
【0008】
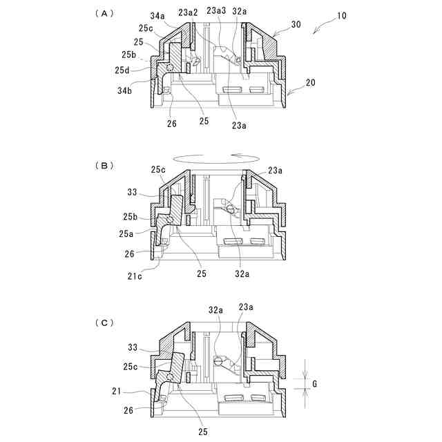
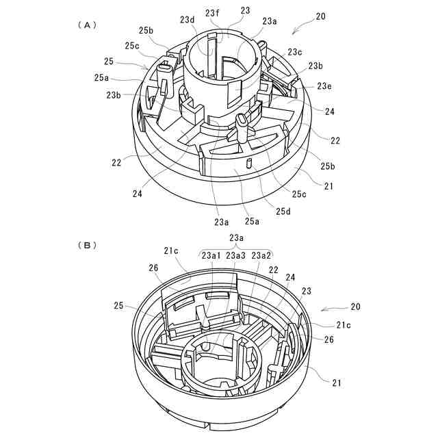
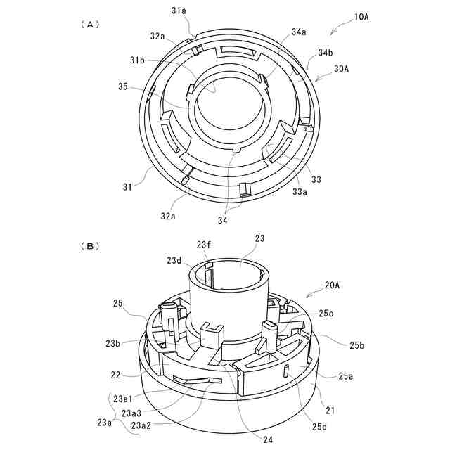
本発明の外装品は、吐出容器2に取り付けられるカバー部材20、20Aと、カバー部材20に回動操作可能に取り付けられた操作部材30、30Aとを備え、カバー部材20、20Aが、弾性揺動部25と、弾性揺動部25に設けられ、吐出容器2に係合する係合突起26とを備え、操作部材30、30Aが、操作部材30、30Aを回動操作することによって弾性揺動部25を揺動させて、係合突起26の吐出容器2との係合を解除する当接部33を備えており、カバー部材20、20Aと操作部材30、30Aのどちらか一方に、操作部材30、30Aを回動操作すると、回動しながら上昇するように操作部材30、30Aを導くガイド溝23aが設けられていることを特徴としている。
【0009】
上記外装品において、ガイド溝23aに差し込まれ、操作部材30、30Aの回動操作時にガイド溝23a内を進む突起32aが、カバー部材20、20Aと操作部材30、30Aのうち、ガイド溝23aが設けられていない側に設けられており、ガイド溝23aが設けられている側に、ガイド溝23a内を進む突起32aの進行を所定の位置で止めるストッパ(突出部23b、始端部23a1、終端部23a2)が設けられていることが好ましい。
【0010】
また、外装品が、吐出容器2のステム4aに接続される押しボタン40をさらに備え、カバー部材20、20Aが、押しボタン40を上下動可能に保持する内周壁23を備えていることが好ましい。
(【0011】以降は省略されています)
この特許をJ-PlatPat(特許庁公式サイト)で参照する
関連特許
株式会社ダイゾー
グリース組成物
2か月前
株式会社ダイゾー
外装品、吐出製品
21日前
株式会社ダイゾー
ねじリングおよびエアゾール装置
27日前
株式会社ダイゾー
液噴出ノズル用アダプター及び液供給具
19日前
個人
箱
12か月前
個人
収容箱
2か月前
個人
ゴミ箱
11か月前
個人
コンベア
4か月前
個人
段ボール箱
6か月前
個人
容器
8か月前
個人
ゴミ収集器
6か月前
個人
段ボール箱
6か月前
個人
バンド
1か月前
個人
宅配システム
6か月前
個人
角筒状構造体
4か月前
個人
楽ちんハンド
4か月前
個人
土嚢運搬器具
7か月前
個人
パウチ補助具
11か月前
個人
お薬の締結装置
5か月前
個人
廃棄物収容容器
2か月前
個人
包装容器
19日前
個人
コード類収納具
7か月前
個人
閉塞装置
9か月前
個人
把手付米袋
4か月前
株式会社バンダイ
物品
今日
株式会社コロナ
梱包材
4か月前
個人
積み重ね用補助具
2か月前
個人
貯蔵サイロ
6か月前
株式会社和気
包装用箱
8か月前
個人
蓋閉止構造
3か月前
個人
蓋閉止構造
3か月前
個人
ゴミ処理機
8か月前
個人
介護用コップ
1か月前
三甲株式会社
蓋体
7か月前
株式会社イシダ
搬送装置
5か月前
個人
包装箱
9か月前
続きを見る
他の特許を見る