TOP
|
特許
|
意匠
|
商標
特許ウォッチ
Twitter
他の特許を見る
公開番号
2025136778
公報種別
公開特許公報(A)
公開日
2025-09-19
出願番号
2024035616
出願日
2024-03-08
発明の名称
液噴出ノズル用アダプター及び液供給具
出願人
株式会社ダイゾー
,
株式会社Nicher
代理人
弁理士法人市澤・川田国際特許事務所
主分類
B05B
7/30 20060101AFI20250911BHJP(霧化または噴霧一般;液体または他の流動性材料の表面への適用一般)
要約
【課題】液供給具の蛇腹状の液体貯留容器に代えてスパウトパウチ製の液体貯留容器を使用するにあたり、従来の液噴出ノズルにアダプターを介在さえて前記スパウトパウチ製の液体貯留容器が接続されるように構成する。
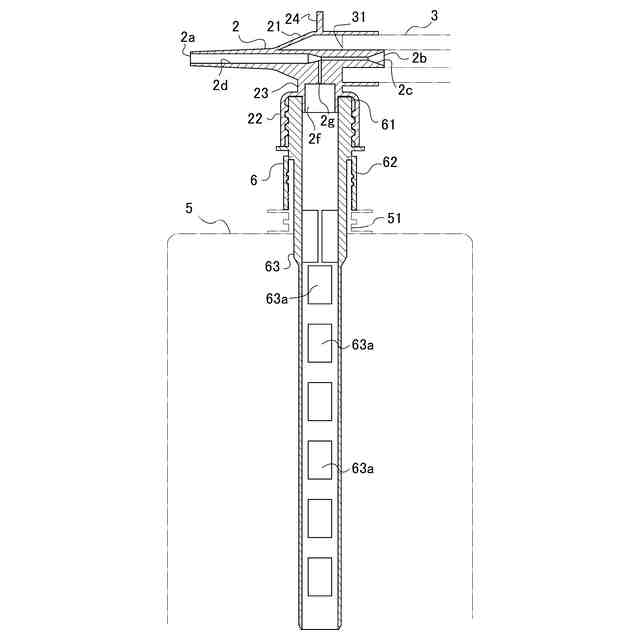
【解決手段】液噴出ノズルの液体貯留容器の接続口にアダプター6を接続し、このアダプター6の端部にスパウトパウチ製の液体貯留容器5を接続する。アダプター6の液体貯留容器5が接続する側に中空管状の軸部63を突出させ、この軸部63を液体貯留容器5の内部に差し込み、軸部63に形成された孔部を通して液噴出ノズル内への液体の吸引を可能とする。
【選択図】図1
特許請求の範囲
【請求項1】
圧縮エア供給手段と液体貯留容器がそれぞれ接続する接続口を備え、内部に圧縮エアを導入して液体貯留容器から液体を吸引せしめ、これを圧縮エアに混合させて噴出口から噴出させるように構成された液噴出ノズルの前記液体貯留容器の接続口に接続するアダプターであって、
一側に前記液噴出ノズルの液体貯留容器の接続口に接続するノズル接続口、他側に前記液体貯留容器とは注ぎ口の径が異なる他の液体貯留容器の注ぎ口に接続する容器蓋部を有し、この容器蓋部の内側に、両端が開口した中空な軸部が前記容器蓋部の周側面と平行に突出されてなり、前記軸部は前記他の液体貯留容器の注ぎ口に前記容器蓋部が接続した状態で前記他の液体貯留容器の注ぎ口を貫通して当該液体貯留容器の内部に達する長さに設けられた構成を有することを特徴とする液供給具の液噴出ノズル用アダプター。
続きを表示(約 300 文字)
【請求項2】
前記他の液体貯留容器はスパウトパウチからなる液体貯留容器であり、このスパウトパウチからなる液体貯留容器の注ぎ口が容器蓋部に接続するように設けられた請求項1に記載の液噴出ノズル用アダプター。
【請求項3】
圧縮エア供給手段と液体貯留容器が接続する接続口を備え、内部に圧縮エアを導入して液体貯留容器から液体を吸引せしめ、これを圧縮エアに混合させて噴出口から噴出させるように構成された液噴出ノズルと、
請求項2に記載の液噴出ノズル用アダプターと、
液体が貯留されたスパウトパウチからなる液体貯留容器と、
圧縮エア供給手段と、からなる液供給具。
発明の詳細な説明
【技術分野】
【0001】
本発明は、液供給具の液噴出ノズル(以下、単に「ノズル」ともいう。)を、スパウトパウチからなる液体貯留容器に貯留された液体の噴出供給に対応させるためのアダプターの構造に関する。
続きを表示(約 2,500 文字)
【背景技術】
【0002】
所定の部位に洗浄液などを供給したり塗料を噴出したりするための液供給具として、図6に示されるように、圧縮エア供給手段3と液体貯留容器4を液噴出ノズル2に接続し、液噴出ノズル2の内部に圧縮エアを導入して液体貯留容器4から液体を吸引せしめ、これを圧縮エアに混合させてノズル2の噴出口2aから噴出させる構成のものが知られている(例えば特許文献1、2参照)。
【0003】
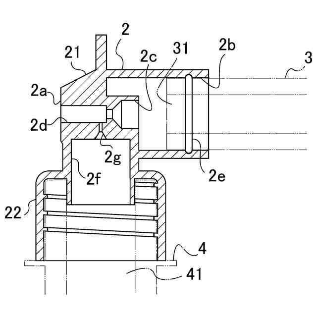
詳しくは、同図に示された液供給具1の圧縮エア供給手段3は、塗装用エアガンと同様の銃型に構成されたエア送出装置であり、その先端のエア噴出口31が液噴出ノズル2に接続され、その引き金を引くと図示されないコンプレッサーから送出される圧縮エアをノズル2内に供給するように設けてある。液体貯留容器4は、蛇腹式に伸縮する壁面を有する液体が貯留された合成樹脂製の貯留タンクであり、その上部の注ぎ口41が液噴出ノズル2の蓋部22に装着されるようになっている。
また、液噴出ノズル2は、図7に示されるように、ノズル本体部21の先端に噴出口2a、他端に圧縮エア供給手段3のエア噴出口31が接続するエア導入口2b、下部に液体貯留容器3の注ぎ口31が接続する液体導入口2fを有し、その内部にエア導入口2bに通ずるエア流路2c、液体導入口2fに通じていてエア流路2cと交差する液体流路2g及び当該液体流路2gの交差した部位から噴出口2aへ通ずる管状の混合流路2dの各流路を設けて一体成形されている。
【0004】
前記構成の液供給具1は、圧縮エア供給手段3から液噴出ノズル2内に圧縮エアを吹き込んで前記液体流路2gの下流側を負圧状態とすることで、液体貯留容器4内の液体をノズル内部に吸引せしめて圧縮エアと混合させ、これをノズル先端の噴出口2aから噴出させるようになっている。
また、液体貯留容器4は内部の液体の流出に伴って周壁面が縮小し、液体を出し切って空になったならば、図8に示されるように、液噴出ノズル2ともどもプラスチックごみとして廃棄することができるようになっている。
【先行技術文献】
【特許文献】
【0005】
特開2005-14339号公報
特開2007-245044号公報
【発明の概要】
【発明が解決しようとする課題】
【0006】
従来の液供給具1で使用していた液体貯留容器4は、その壁面が蛇腹形に折れているため、例えば貯留した液体についての説明や使用の仕方、廃棄の仕方などの取り扱い説明を当該容器の表面に印刷して表示することができない。そのため、液体貯留容器4を販売する際は、前記取り扱い説明や注意書きを表示したラベルやレッテル、下げ札、荷札などを別に作製し、これを液体貯留容器4に添付する必要があった。
液体貯留容器4とは別に前記ラベルなどを作製したのでは、製品コストが嵩み、また、保管や運搬の際に液体貯留容器4と前記ラベルなどが分離しないように管理する必要があって面倒であり、陳列用に広いスペースを確保する必要もある。廃棄のときには、液体貯留容器4と前記ラベルを分離して廃棄処分しなければならず、その手間も面倒である
【0007】
本発明は従来技術の有するこのような問題点に鑑み、液供給具の蛇腹状の液体貯留容器に代えて、表面に情報の印刷・表示が可能な他の液体貯留容器、具体的にはスパウトパウチ製の液体貯留容器を使用することとし、この他の液体貯留容器と従来使用していた液噴出ノズルとをアダプターを介在させて接続し、スパウトパウチ製の液体貯留容器の利用に対応した液供給具を構成することができるようにした。
【課題を解決するための手段】
【0008】
前記課題を解決するため本発明は、アダプターの一端に前述の液噴出ノズル、他端にスパウトパウチ型の液体貯留容器の注ぎ口を接続して液供給具を構成したときに、スパウトパウチからなる容器内部に貯留した液体がスムーズ且つ漏れなく液噴出ノズル内に吸い上げられて圧縮エアに混合して噴出させることができるとともに、液を噴出させる作業中に液噴出ノズルを傾けたり上下さかさまにしたりしてしても、前記容器内部からの液体の吸い上げとノズルからの噴出が滞りなく行えるように前記アダプターを構成した。
【0009】
すなわち、本発明のアダプターは、圧縮エア供給手段と液体貯留容器が接続する接続口を備え、内部に圧縮エアを導入して液体貯留容器から液体を吸引せしめ、これを圧縮エアに混合させて噴出口から噴出させるように構成された液噴出ノズルの前記液体貯留容器の接続口に接続するアダプターであって、
一側に前記液噴出ノズルの液体貯留容器の接続口に接続するノズル接続口、他側に前記液体貯留容器とは注ぎ口の径が異なる他の液体貯留容器の注ぎ口に接続する容器蓋部を有し、この容器蓋部の内側に、両端が開口した中空な軸部が前記容器蓋部の周側面と平行に突出されてなり、前記軸部は前記他の液体貯留容器の注ぎ口に前記容器蓋部が接続した状態で前記他の液体貯留容器の注ぎ口を貫通して当該液体貯留容器の内部に達する長さに設けられた構成を有することを特徴とする。
【0010】
これによれば、液噴出ノズルの液体貯留容器の接続口に前記アダプターのノズル接続口を接続するとともに当該アダプターの容器蓋部に、スパウトパウチ製の容器からなる他の液体貯留容器の注ぎ口を接続し、前記液噴出ノズルの圧縮エア供給手段の接続口にこれを接続して液供給具が構成される。
前記他の液体貯留容器の注ぎ口を前記アダプターの容器蓋部に接続する操作は、当該アダプターの容器蓋部の内側に設けられた軸部を前記他の液体貯留容器の注ぎ口の中に進入させて行い、前記容器蓋部に前記注ぎ口が接続した状態で、前記軸部は前記他の容器の注ぎ口の中空内部を貫通して当該容器内に突出し、その先端が前記他の液体貯留容器の内部に達する、
(【0011】以降は省略されています)
この特許をJ-PlatPat(特許庁公式サイト)で参照する
関連特許
ベック株式会社
被膜形成方法
3か月前
ベック株式会社
被膜形成方法
3か月前
スズカファイン株式会社
多色性塗膜
8日前
株式会社吉野工業所
キャップ
3か月前
ベック株式会社
装飾被膜の形成方法
2か月前
アイカ工業株式会社
塗料仕上げ工法
19日前
プルガティオ株式会社
噴霧装置
3か月前
能美防災株式会社
水噴霧ヘッド
4日前
個人
スプレー缶高所対応携帯ホルダー
19日前
プルガティオ株式会社
噴霧装置
3か月前
プルガティオ株式会社
噴霧装置
3か月前
株式会社カネカ
塗布装置
8日前
日本ライナー株式会社
塗装装置
20日前
トヨタ自動車株式会社
塗布装置
6日前
ヒット工業株式会社
マスキング具
1か月前
株式会社吉野工業所
ポンプ式吐出器
3か月前
中外炉工業株式会社
塗工装置
2か月前
株式会社吉野工業所
吐出器
3か月前
株式会社吉野工業所
吐出器
3か月前
旭サナック株式会社
粉体塗装装置
29日前
AWJ株式会社
ステンシルプレートセット
1か月前
三菱鉛筆株式会社
多液混合型塗布具
2か月前
株式会社トーモク
印刷装置および印刷方法
19日前
個人
散水形態を変更可能な吐水装置
5日前
株式会社大関
塗装用ローラとその製造方法
3か月前
トリニティ工業株式会社
回転霧化式塗装機
4日前
積水ハウス株式会社
接着剤塗布装置
2か月前
株式会社吉野工業所
ノズル部材
3か月前
Mipox株式会社
塗装物の製造方法
1か月前
株式会社吉野工業所
吐出器
1か月前
株式会社吉野工業所
吐出器
1か月前
有限会社橋本漆芸
ガラス瓶の漆調塗装及び加飾
1か月前
株式会社吉野工業所
吐出器
2か月前
株式会社吉野工業所
吐出器
2か月前
株式会社吉野工業所
吐出器
1か月前
リンテック株式会社
機能性層の製造方法
4か月前
続きを見る
他の特許を見る