TOP
|
特許
|
意匠
|
商標
特許ウォッチ
Twitter
他の特許を見る
公開番号
2025135054
公報種別
公開特許公報(A)
公開日
2025-09-18
出願番号
2024032615
出願日
2024-03-05
発明の名称
熱交換器、熱交換器を備えた作業車両
出願人
古河機械金属株式会社
,
古河ロックドリル株式会社
代理人
個人
,
個人
,
個人
主分類
F01P
5/06 20060101AFI20250910BHJP(機械または機関一般;機関設備一般;蒸気機関)
要約
【課題】放熱器の冷却効率を向上させることが可能な、熱交換器と、熱交換器を備えた作業車両を提供する。
【解決手段】
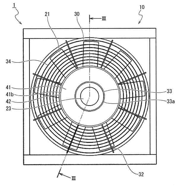
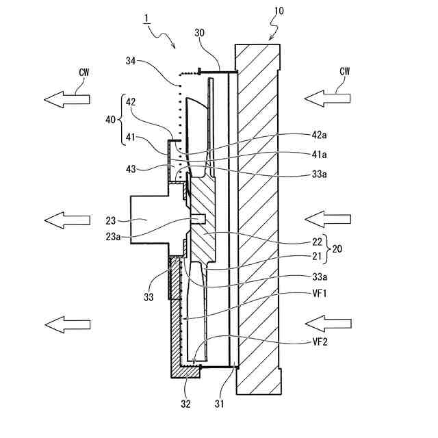
作業車両が、熱交換器1と、熱交換器1を搭載した走行台車を備え、熱交換器1は、放熱器10と、放熱器10を空冷する冷却ファン20と、冷却ファン20を回転させるモータ23と、モータ23が取り付けられ、且つ冷却ファン20が送風する方向に配置されたモータブラケット33と、モータブラケット33に取り付けられた円板部41と、円板部41に取り付けられ、且つモータ回転軸23aの軸方向から見てモータブラケット33の外周を包囲する庇部42を備え、モータブラケット33のうち庇部42と対向する外周面33aと、円板部41のうち冷却ファン20の側に向く面である平面41aと、庇部42の内壁面42aによって、冷却ファン20へ向けて開口したキャビティ43が形成されている。
【選択図】図3
特許請求の範囲
【請求項1】
放熱器と、前記放熱器を空冷する冷却ファンと、前記冷却ファンを回転させるモータと、前記モータが取り付けられ、且つ前記冷却ファンが送風する方向に配置されたモータブラケットと、前記モータブラケットに取り付けられ、且つ前記モータの回転軸の軸方向から見て前記冷却ファンの少なくとも一部と重なる対向壁部と、前記対向壁部に取り付けられ、且つ前記軸方向から見て前記モータブラケットの外周を包囲する側壁部と、を備え、
前記モータブラケットのうち前記側壁部と対向する面である外周面と、前記対向壁部のうち前記冷却ファンの側に向く面である対向面と、前記側壁部の内壁面と、によって、前記冷却ファンへ向けて開口したキャビティが形成されている熱交換器。
続きを表示(約 350 文字)
【請求項2】
前記対向壁部は円板状であり、
前記側壁部は円筒状である請求項1に記載した熱交換器。
【請求項3】
前記冷却ファンの外周を包囲するシュラウドと、
前記モータブラケットと前記シュラウドとに取り付けられ、且つ前記軸方向から見て放射状に配置された複数のリブフレームと、を備え、
前記複数のリブフレームは、前記キャビティを複数に分割している請求項1に記載した熱交換器。
【請求項4】
請求項1から請求項3のうちいずれか1項に記載した熱交換器と、前記熱交換器を搭載した走行台車と、を備え、
前記放熱器は、前記走行台車に搭載したエンジン及び走行台車に用いられる作動油のうち少なくとも一方から発生する熱を放出する作業車両。
発明の詳細な説明
【技術分野】
【0001】
本発明は、油圧クローラドリル等の作業車両に用いられる熱交換器と、熱交換器を備えた作業車両に関する。
続きを表示(約 1,400 文字)
【背景技術】
【0002】
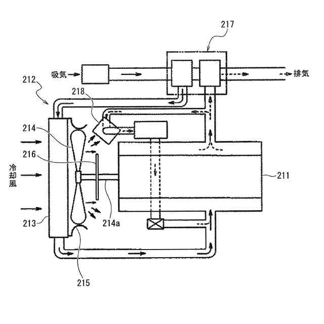
岩盤の破砕等に用いる油圧クローラドリルは、例えば、特許文献1に開示されているように、走行台車と、駆動源であるエンジンと、エンジンを冷却する熱交換器を備える。
例えば、図4に示すように、熱交換器212は、放熱器(インタークーラ)213と、エンジン211の出力軸214aに直結された冷却ファン214と、シュラウド215を備える。出力軸214aのうち、冷却ファン214とエンジン211との間の位置には、抵抗板216が設けられている。
【0003】
放熱器213には、ターボチャージャ217で加圧された吸気が導入される。また、放熱器213は、冷却ファン214で発生する冷却風で冷却される。
抵抗板216は、負圧となる冷却ファン214の中心部に向けて冷却風が逆流することを防止するとともに、冷却風を冷却ファン214の後方外周部に設けた空冷式EGRクーラ218へと導いて、EGRクーラ218を冷却することを目的として設けられている。
【先行技術文献】
【特許文献】
【0004】
特開2009-197680号公報
【発明の概要】
【発明が解決しようとする課題】
【0005】
特許文献1に開示されている従来の熱交換器では、抵抗板の作用は冷却風を空冷式EGRクーラへと導くことを主目的としており、放熱器の冷却効率の向上については改善の余地があった。
【0006】
本発明は、上述した問題点を鑑み、油圧クローラドリル等の作業車両に用いられる熱交換器において、冷却効率を向上させることを目的とする。
【課題を解決するための手段】
【0007】
本発明の一態様に係る熱交換器は、放熱器と、冷却ファンと、モータと、モータブラケットと、対向壁部と、側壁部を備える。冷却ファンは、放熱器を空冷する。モータは、冷却ファンを回転させる。モータブラケットは、モータが取り付けられ、且つ冷却ファンが送風する方向に配置されている。対向壁部は、モータブラケットに取り付けられ、且つモータの回転軸の軸方向から見て冷却ファンの少なくとも一部と重なる。側壁部は、対向壁部に取り付けられ、且つモータの回転軸の軸方向から見てモータブラケットの外周を包囲する。そして、モータブラケットのうち側壁部と対向する面である外周面と、対向壁部のうち冷却ファンの側に向く面である対向面と、側壁部の内壁面とによって、冷却ファンへ向けて開口したキャビティが形成されている。
【0008】
また、本発明の一態様に係る作業車両は、熱交換器と、熱交換器を搭載した走行台車を備え、放熱器は、走行台車に搭載したエンジン及び走行台車に用いられる作動油のうち少なくとも一方から発生する熱を放出する。
【発明の効果】
【0009】
本発明によれば、放熱器の冷却効率を向上させることが可能な、熱交換器と、熱交換器を備えた作業車両を提供することが可能となる。
【図面の簡単な説明】
【0010】
油圧クローラドリルの全体構成を示す図である。
熱交換器の正面図である。
図2のIII-III線断面図である。
従来の作業車両に用いられる熱交換器の説明図である。
【発明を実施するための形態】
(【0011】以降は省略されています)
この特許をJ-PlatPat(特許庁公式サイト)で参照する
関連特許
清水建設株式会社
情報処理装置
13日前
古河機械金属株式会社
熱交換器、熱交換器を備えた作業車両
14日前
古河機械金属株式会社
硫化リチウム製造装置および硫化リチウムの製造方法
7日前
株式会社三五
消音器
24日前
個人
ジェットエンジンタービン羽根
22日前
株式会社三五
排気装置
29日前
ダイハツ工業株式会社
冷却装置
1か月前
トヨタ自動車株式会社
車両
22日前
ダイハツ工業株式会社
内燃機関
24日前
ダイハツ工業株式会社
内燃機関
1か月前
ダイハツ工業株式会社
内燃機関
1か月前
株式会社クボタ
トラクタ
1か月前
株式会社クボタ
トラクタ
1か月前
スズキ株式会社
排気装置
23日前
スズキ株式会社
排気装置
23日前
株式会社SUBARU
ピストン冷却構造
13日前
トヨタ自動車株式会社
エンジンシステム
21日前
トヨタ自動車株式会社
異音診断プログラム
15日前
トヨタ自動車株式会社
内燃機関の制御装置
13日前
フタバ産業株式会社
消音器
13日前
トヨタ自動車株式会社
制御装置
13日前
トヨタ自動車株式会社
制御装置
13日前
フタバ産業株式会社
消音器
1日前
トヨタ自動車株式会社
車両の制御装置
1か月前
トヨタ自動車株式会社
内燃機関制御装置
1か月前
トヨタ自動車株式会社
内燃機関の制御装置
22日前
株式会社SUBARU
可変バルブタイミング機構
1か月前
フタバ産業株式会社
排気系部品
1日前
トヨタ自動車株式会社
潤滑油希釈抑制装置
1か月前
トヨタ自動車株式会社
内燃機関の制御装置
3日前
トヨタ自動車株式会社
内燃機関の制御装置
14日前
株式会社SUBARU
車両
3日前
マツダ株式会社
排気浄化装置
29日前
マツダ株式会社
排気浄化装置
29日前
三菱重工業株式会社
排熱回収システム
22日前
トヨタ自動車株式会社
過給エンジンの制御装置
3日前
続きを見る
他の特許を見る