TOP
|
特許
|
意匠
|
商標
特許ウォッチ
Twitter
他の特許を見る
公開番号
2025118318
公報種別
公開特許公報(A)
公開日
2025-08-13
出願番号
2024013573
出願日
2024-01-31
発明の名称
内燃機関
出願人
ダイハツ工業株式会社
代理人
個人
,
個人
主分類
F01M
13/00 20060101AFI20250805BHJP(機械または機関一般;機関設備一般;蒸気機関)
要約
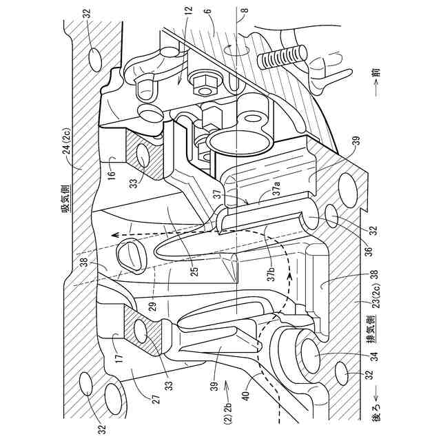
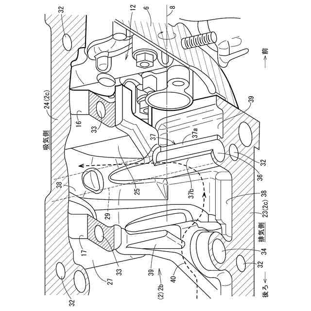
【課題】内燃機関において、ブローバイガスがクランク室からタイミングチェーン配置空間に漏洩することを、簡単な構造で防止する。
【解決手段】クランクケース2bの内部に、クランクケース2bの一側壁(例えば排気側壁部)23を後ろから前に流れる旋回流40が観察される。クランクケース2b(シリンダブロック2)の下面に固定されるオイルパン5は、その前部が油槽部5aになっていて、クランクケース2bの一側壁23にオイルレベルゲージ挿通穴29が開口している。オイルレベルゲージ挿通穴29は、クランクケース2bに形成された溝型のゲージガイドボス部37に連通している。ブローバイガス排出通路30はクランクケース2bの他側壁(例えば吸気側壁部)24に開口している。ゲージガイドボス部37の後ろ側壁を広幅壁体と成して、旋回流40をクランクケース2bの他側壁24に向かうように方向変換させる。
【選択図】図4
特許請求の範囲
【請求項1】
複数のシリンダボアがクランク軸線方向に並べて形成されると共に下部はクランクケースになっているシリンダブロックと、前記シリンダブロックの下面に固定されたオイルパンと、前記シリンダブロックの一端面に固定されてタイミングチェーンを覆うチェーンカバーと、を備えており、
前記クランクケースに、ブローバイガス排出通路が下方に開口するように形成されていると共に、当該クランクケースにおけるクランク軸線方向に長い一側壁のうち前記チェーンカバーに近い部位に、前記クランクケースの内部側に位置した縦長開口を有する上下長手で溝形のゲージガイドボス部が、オイルレベルゲージ挿通穴と同心状に形成されている内燃機関であって、
前記ゲージガイドボス部のうち前記縦長開口を挟んで前記チェーンカバーと反対側の部位を、前記縦長開口を挟んで前記チェーンカバーの側の部位よりも前記クランクケースの内部側に大きく突出した広幅壁体に形成している、
内燃機関。
発明の詳細な説明
【技術分野】
【0001】
本願発明は、クランク室の換気機能に特徴を有する内燃機関に関するものである。
続きを表示(約 1,800 文字)
【背景技術】
【0002】
レシプロ式の内燃機関においては、ピストン(及びピストンリング)とシリンダボアとの間から僅かながら燃焼ガス(及び未燃焼ガス)がブローバイガスとしてクランク室に吹き抜ける現象があり、これを放置するとオイルの劣化などの悪影響が生じる。そこで、クランク室に吹き抜けたブローバイガスをブローバイガス排出通路(PCV通路)に吸引して、オイルセパレータ室で油分を除去してから吸気系に還流させている。
【0003】
正確に述べると、ブローバイガスはクランク室で拡散してオイルミストと混合するため、ブローバイガスとオイルミトスが含まれたガスをPCV通路に吸い上げて、オイルセパレータでオイルミストを補集し、ブローバイガスが含まれたガスを吸気系に還流させている。そこで、PCV通路のうちオイルセパレータよりも下流側に、吸気負圧によって開くPCVバルブを配置している。なお、クランクケースには新気が導入されている。
【0004】
PCV通路とオイルセパレータ室の構造と配置には様々な態様が存在するが、大まかには、オイルセパレータ室をシリンダブロックに設けている場合と、オイルセパレータ室をヘッドカバーに設けている場合とに大別される。更に、オイルセパレータ室をヘッドカバーに設けている場合、ブローバイガスを専用の通路でオイルセパレータ室に導く態様(すなわち、PCV通路をシリンダブロックとシリンダヘッドとヘッドカバーとに形成している態様)と、タイミングチェーン配置空間をPCV通路に兼用して、タイミングチェーン配置空間と動弁室とを経由してブローバイガスをオイルセパレータに導く態様とがある。
【0005】
しかるに、タイミングチェーン配置空間をPCV通路に兼用する態様は、ブローバイガスとオイルミストとの接触機会が増大するためオイルの劣化防止の点からは好ましくなく、シリンダブロックに専用のPCV通路を設けるのが好ましい。このように専用のPCV通路をシリンダブロックに設けた場合、ブローバイガスがタイミングチェーン配置空間を経由して動弁室に流入するのは抑制すべきである。
【0006】
このような観点から、特許文献1には、自動車用の内燃機関に関して、クランクケースのうちタイミングチェーンに近い前端部の下面(前端部に位置したクランクキャップの下面)に、オイルパンの油槽部に至る仕切り板を固定することが開示されている。この構造では、タイミングチェーン配置空間からオイルがオイルパンに流下することは許容しつつ、ブローバイガスがクランク室からタイミングチェーン配置空間に流入することは阻止される。
【先行技術文献】
【特許文献】
【0007】
特開平08-93435号公報
【発明の概要】
【発明が解決しようとする課題】
【0008】
特許文献1の構造は、クランク室からタイミングチェーン配置空間にブローバイガスが漏洩することを抑制できるが、問題点も挙げられる。例えば、専用の仕切り板が必要であるためコストが嵩む問題がある。特に、内燃機関の組み立て工程では、仕切り板を予めクランクケース(クランクキャップ)に固定しておいてから、仕切り板を損傷しないように気を付けながらオイルパンの固定作業を行わねばならないため、エンジンの組み立て工程は非常に厄介である。タップ穴の加工にも手間が掛かるし、クランクキャップにタップ穴を空けることによるクランクキャップの強度低下も懸念される。
【0009】
また、仕切り板及び締結用のボルトが必要であるため、それだけ内燃機関の重量が増大して燃費を悪化させる問題もある。更に、仕切り板がオイルストレーナやバッフルプレートなどの他の部材と干渉しやすくなるため、オイルパン回りの設計の自由性が損なわれる点も問題である。更に、内燃機関の振動や走行による車体の振動などで仕切り板が触れ動いて騒音の原因になることも懸念される。
【0010】
本願発明はこのような現状を背景に成されたものであり、簡単な構造でブローバイガスの漏洩を抑制できる技術を開示せんとするものである。
【課題を解決するための手段】
(【0011】以降は省略されています)
この特許をJ-PlatPat(特許庁公式サイト)で参照する
関連特許
ダイハツ工業株式会社
車両
21日前
ダイハツ工業株式会社
制御装置
20日前
ダイハツ工業株式会社
制御装置
20日前
ダイハツ工業株式会社
制御装置
20日前
ダイハツ工業株式会社
内燃機関
23日前
ダイハツ工業株式会社
車両制御装置
5日前
ダイハツ工業株式会社
車両制御装置
5日前
ダイハツ工業株式会社
車両制御装置
5日前
ダイハツ工業株式会社
車両制御装置
2日前
ダイハツ工業株式会社
車両制御装置
2日前
ダイハツ工業株式会社
二酸化炭素分解装置
21日前
ダイハツ工業株式会社
樹脂製アウタパネル部材
今日
ダイハツ工業株式会社
一酸化炭素製造システム
12日前
ダイハツ工業株式会社
ハイブリッド車両用制御装置
2日前
ダイハツ工業株式会社
車両における電力の制御方法
22日前
トヨタ自動車株式会社
電動車両
21日前
トヨタ自動車株式会社
電動車両
21日前
トヨタ自動車株式会社
電動車両
21日前
トヨタ自動車株式会社
電気自動車
21日前
トヨタ自動車株式会社
バッテリケース
21日前
トヨタ自動車株式会社
バッテリ搭載構造
21日前
トヨタ自動車株式会社
バッテリ搭載構造
21日前
トヨタ自動車株式会社
バッテリパックの搭載構造及び電気自動車
21日前
株式会社三五
消音器
23日前
個人
ジェットエンジンタービン羽根
21日前
株式会社三五
排気装置
28日前
ダイハツ工業株式会社
冷却装置
1か月前
トヨタ自動車株式会社
車両
21日前
株式会社クボタ
トラクタ
1か月前
スズキ株式会社
排気装置
22日前
スズキ株式会社
排気装置
22日前
ダイハツ工業株式会社
内燃機関
23日前
トヨタ自動車株式会社
エンジンシステム
20日前
株式会社SUBARU
ピストン冷却構造
12日前
トヨタ自動車株式会社
異音診断プログラム
14日前
トヨタ自動車株式会社
内燃機関の制御装置
12日前
続きを見る
他の特許を見る