TOP
|
特許
|
意匠
|
商標
特許ウォッチ
Twitter
他の特許を見る
10個以上の画像は省略されています。
公開番号
2025138810
公報種別
公開特許公報(A)
公開日
2025-09-25
出願番号
2025112168,2021091946
出願日
2025-07-02,2021-05-31
発明の名称
硫化リチウム製造装置および硫化リチウムの製造方法
出願人
古河機械金属株式会社
代理人
個人
主分類
C01B
17/22 20060101AFI20250917BHJP(無機化学)
要約
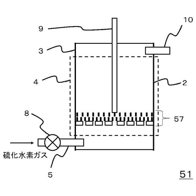
【課題】硫化リチウムを高い効率で安定的に生産できる硫化リチウム製造装置を提供すること。
【解決手段】本発明の硫化リチウム製造装置1は、内部に水酸化リチウム充填部2を有する反応器3と、水酸化リチウムを加熱する加熱手段であるジャケットヒーター4と、反応器3に接続された硫化水素供給部材である硫化水素供給管5と、を備え、反応器3の内部には、水酸化リチウム充填部2の上方に断熱部材6が設けられ、断熱部材6の一部または断熱部材6の周囲において、断熱部材6の上部空間と下部空間とが連通している。
【選択図】図1
特許請求の範囲
【請求項1】
硫化水素と水酸化リチウムとを反応させて硫化リチウムを製造する硫化リチウム製造装置であって、
内部に水酸化リチウム充填部を有する反応器と、
水酸化リチウムを加熱する加熱手段と、
前記反応器に接続された硫化水素供給部材と、
を備え、
前記反応器の内部には、前記水酸化リチウム充填部の上方に断熱部材が設けられ、
前記断熱部材の一部または前記断熱部材の周囲において、前記断熱部材の上部空間と下部空間とが連通している、硫化リチウム製造装置。
続きを表示(約 260 文字)
【請求項2】
請求項1に記載の硫化リチウム製造装置であって、
前記水酸化リチウム充填部の底面に接してまたは近接して配置された、伝熱部材をさらに備える、硫化リチウム製造装置。
【請求項3】
請求項1または2に記載の硫化リチウム製造装置であって、
当該装置内表面が耐硫処理されている、硫化リチウム製造装置。
【請求項4】
請求項1~3のいずれか一項に記載の硫化リチウム製造装置を用いて硫化水素ガスと水酸化リチウムとを反応させることを特徴とする硫化リチウムの製造方法。
発明の詳細な説明
【技術分野】
【0001】
本発明は、硫化リチウム製造装置および硫化リチウムの製造方法に関する。
続きを表示(約 1,400 文字)
【背景技術】
【0002】
硫化リチウムの製造方法として、硫化水素ガスと水酸化リチウムとを反応させる方法が知られている。このような硫化リチウムの製造方法に関する技術としては、例えば、特許文献1(特開2016-150860号公報)に記載のものが挙げられる。
【先行技術文献】
【特許文献】
【0003】
特開2016-150860号公報
【発明の概要】
【発明が解決しようとする課題】
【0004】
しかしながら、上記特許文献1等の硫化リチウムの製造技術では、充分に高い製造効率を実現することが困難であった。また、製造効率の安定性についても改善の余地を有していた。
【0005】
本発明は上記事情に鑑みてなされたものであり、硫化リチウムを高い効率で安定的に生産できる硫化リチウム製造装置を提供するものである。
【課題を解決するための手段】
【0006】
本発明者は、従来の硫化リチウム製造装置の硫化リチウム製造効率が充分でなかった理由について、種々検討を行った。その結果、硫化リチウム生成反応の場である水酸化リチウム充填部の温度分布を高度に制御することで、硫化リチウムを高い効率で安定的に生産できることを知見した。本発明は、かかる知見に基づいてなされたものである。
【0007】
本発明によれば、
硫化水素と水酸化リチウムとを反応させて硫化リチウムを製造する硫化リチウム製造装置であって、
内部に水酸化リチウム充填部を有する反応器と、
水酸化リチウムを加熱する加熱手段と、
上記反応器に接続された硫化水素供給部材と、
を備え、
上記反応器の内部には、上記水酸化リチウム充填部の上方に断熱部材が設けられ、
上記断熱部材の一部または上記断熱部材の周囲において、上記断熱部材の上部空間と下部空間とが連通している、硫化リチウム製造装置が提供される。
【0008】
また、本発明によれば、上記に記載の硫化リチウム製造装置を用いて硫化水素ガスと水酸化リチウムとを反応させることを特徴とする硫化リチウムの製造方法が提供される。
【発明の効果】
【0009】
本発明によれば、製造効率に優れた硫化リチウム製造装置を提供することができる。
【図面の簡単な説明】
【0010】
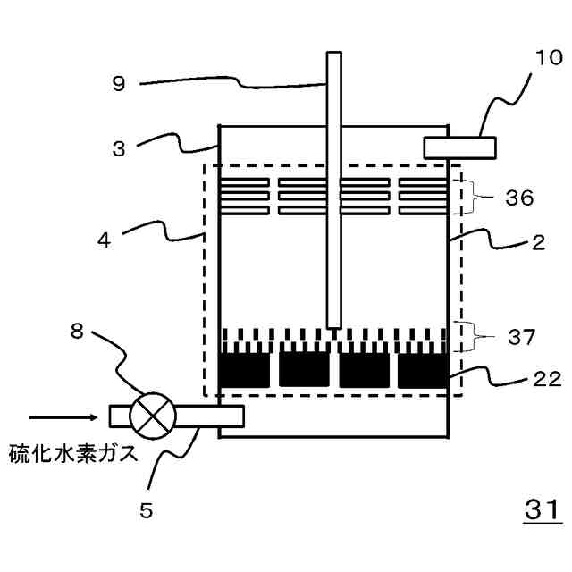
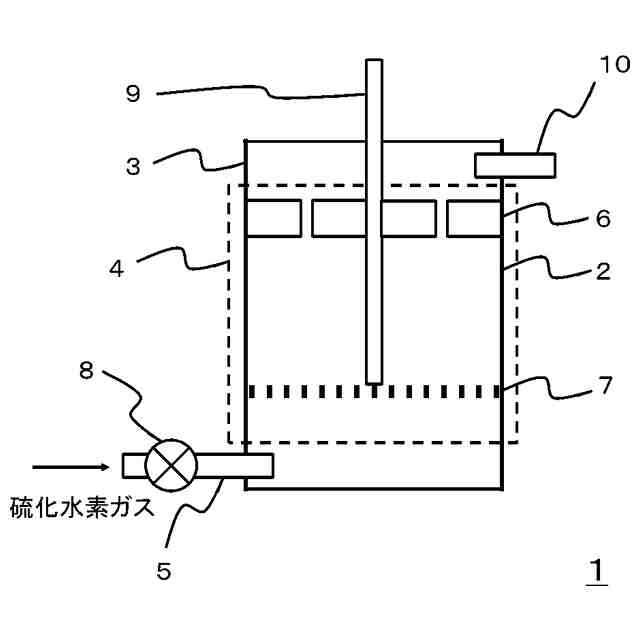
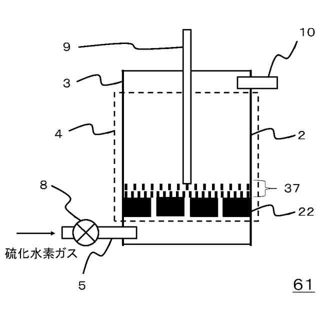
本実施形態の硫化リチウム製造装置の一例の縦断面図である。
本実施形態の硫化リチウム製造装置の断熱部材の上面図である。
本実施形態の硫化リチウム製造装置の水酸化リチウム支持部材の上面図である。
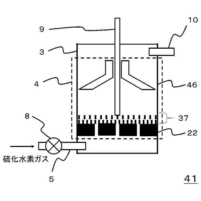
本実施形態の硫化リチウム製造装置の他の例の縦断面図である。
実施例1の硫化リチウム製造装置の縦断面図である。
実施例2の硫化リチウム製造装置の縦断面図である。
比較例1の硫化リチウム製造装置の縦断面図である。
比較例2の硫化リチウム製造装置の縦断面図である。
実施例1~2および比較例1~2の硫化リチウム製造装置の反応器の温度を示すグラフである。
【発明を実施するための形態】
(【0011】以降は省略されています)
この特許をJ-PlatPat(特許庁公式サイト)で参照する
関連特許
清水建設株式会社
情報処理装置
12日前
古河機械金属株式会社
熱交換器、熱交換器を備えた作業車両
13日前
古河機械金属株式会社
硫化リチウム製造装置および硫化リチウムの製造方法
6日前
株式会社北川鉄工所
炭酸化装置
1か月前
東西電工株式会社
オゾン発生装置
1か月前
個人
発酵槽装置
13日前
公立大学法人大阪
硫化物
21日前
三菱重工業株式会社
水素製造装置
1か月前
株式会社小糸製作所
水分解装置
2日前
光宇應用材料股ふん有限公司
低炭素水素の製造方法
26日前
株式会社小糸製作所
水素発生装置
2日前
日本化学工業株式会社
リン酸バナジウムリチウムの製造方法
1か月前
株式会社フクハラ
酸化カルシウム生成装置及び生成方法
23日前
太陽化学株式会社
多孔質シリカ、及びその製造方法
13日前
株式会社INPEX
水素発生方法
1か月前
学校法人五島育英会
機械用部材および機械用部材の製造方法
1か月前
トヨタ自動車株式会社
光触媒を用いた水素ガス製造装置
21日前
浅田化学工業株式会社
アルミナゲルおよびその製造方法
22日前
トヨタ自動車株式会社
光触媒を用いた水素ガス製造装置
20日前
株式会社ジェイテクト
水素生成装置
12日前
DOWAテクノロジー株式会社
水酸化リチウムの製造方法
29日前
トヨタ自動車株式会社
二酸化炭素の利用方法、及び利用システム
12日前
トヨタ自動車株式会社
ガス生成システム
21日前
デンカ株式会社
窒化ホウ素粉末及び樹脂組成物
12日前
南海化学株式会社
塩基性塩化アルミニウム含有組成物
2日前
南海化学株式会社
塩基性塩化アルミニウム含有組成物
2日前
日本化学工業株式会社
コアシェル型負熱膨張材およびその製造方法
6日前
デンカ株式会社
窒化ホウ素粉末及び樹脂組成物
12日前
デゾン・ジャパン株式会社
酸素濃度調整システム
6日前
JFEエンジニアリング株式会社
バイオガス中の二酸化炭素液化システム
23日前
国立大学法人長岡技術科学大学
ハイブリッド粒子分散体及びその製造方法
20日前
トヨタ自動車株式会社
シリコンクラスレートIIの製造方法
6日前
一般社団法人鈴木テクノロジー
水素の生成方法及び水素生成用鉄材
1か月前
積水化学工業株式会社
酸素発生剤
23日前
株式会社東芝
水素吸排出デバイス、および水素吸排出モジュール
2日前
日揮触媒化成株式会社
研磨用シリカ系粒子分散液およびその製造方法
6日前
続きを見る
他の特許を見る