TOP
|
特許
|
意匠
|
商標
特許ウォッチ
Twitter
他の特許を見る
10個以上の画像は省略されています。
公開番号
2025135191
公報種別
公開特許公報(A)
公開日
2025-09-18
出願番号
2024032876
出願日
2024-03-05
発明の名称
木質梁と床の取合構造
出願人
株式会社フジタ
代理人
個人
,
個人
主分類
E04B
5/12 20060101AFI20250910BHJP(建築物)
要約
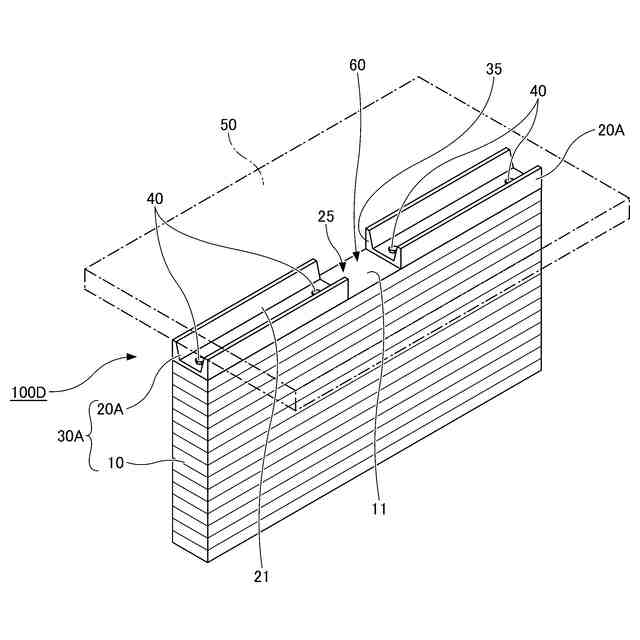
【課題】木質梁の強度を低下させることなく、他部材が貫通する貫通孔が設けられている、木質梁と床の取合構造を提供すること。
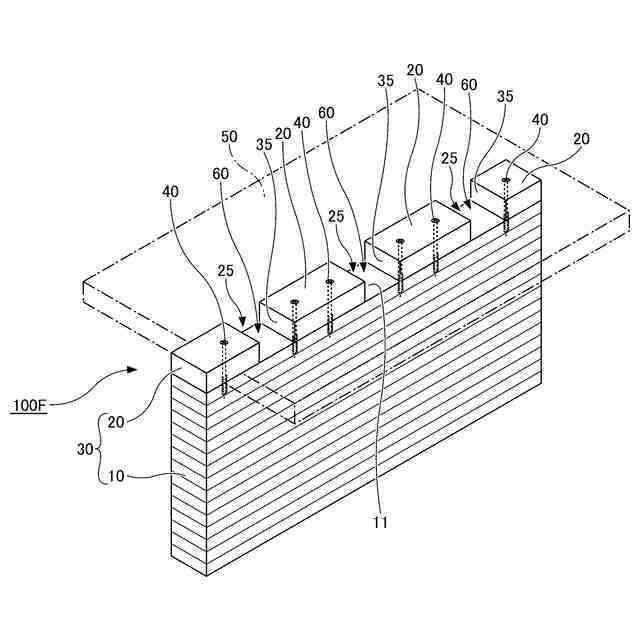
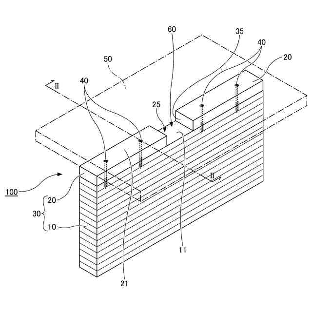
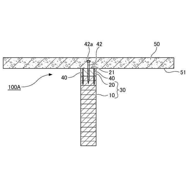
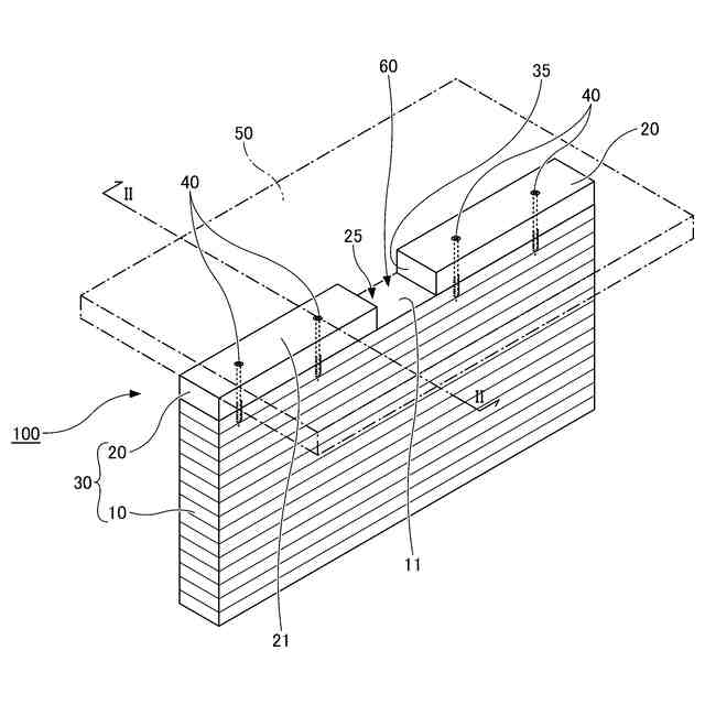
【解決手段】上方に凹部35を備えた木質梁30と、木質梁30の上に配設される床50とを有し、凹部35と床50により第1貫通孔60が形成されている、木質梁と床の取合構造100であり、木質梁30は、下方にある一般部10と、一般部10の上方にある複数の嵩上げ部20とを備え、複数の嵩上げ部20の間にある隙間25と一般部10の上面11とにより凹部35が形成されている。
【選択図】図1
特許請求の範囲
【請求項1】
上方に凹部を備えた木質梁と、該木質梁の上に配設される床とを有し、該凹部と該床により第1貫通孔が形成されている、木質梁と床の取合構造であって、
前記木質梁は、下方にある一般部と、該一般部の上方にある複数の嵩上げ部とを備え、該複数の嵩上げ部の間にある隙間と該一般部の上面とにより前記凹部が形成されていることを特徴とする、木質梁と床の取合構造。
続きを表示(約 980 文字)
【請求項2】
前記木質梁の設計強度及び設計剛性が、前記一般部のみにより設定されていることを特徴とする、請求項1に記載の木質梁と床の取合構造。
【請求項3】
2以上の前記第1貫通孔を備えていることを特徴とする、請求項1又は2に記載の木質梁と床の取合構造。
【請求項4】
前記一般部の周囲に不燃材が配設され、
前記嵩上げ部が不燃材により形成されていることを特徴とする、請求項1又は2に記載の木質梁と床の取合構造。
【請求項5】
前記凹部に、不燃材ブロックが嵌め込まれており、
前記不燃材ブロックに第2貫通孔が設けられていることを特徴とする、請求項4に記載の木質梁と床の取合構造。
【請求項6】
前記嵩上げ部が、形鋼材により形成されていることを特徴とする、請求項1又は2に記載の木質梁と床の取合構造。
【請求項7】
上方に凹部を備えた木質梁と、該木質梁の上に配設される床とを有し、該凹部と該床により第1貫通孔が形成されている、木質梁と床の取合構造であって、
前記木質梁は、前記凹部の下面から該木質梁の内部に材軸方向に延びる亀裂誘発スリットを備えていることを特徴とする、木質梁と床の取合構造。
【請求項8】
前記木質梁の設計強度及び設計剛性が、前記木質梁における前記凹部よりも下方の領域のみにより設定されていることを特徴とする、請求項7に記載の木質梁と床の取合構造。
【請求項9】
前記床がコンクリート床版であり、
前記嵩上げ部と前記一般部を繋ぐ留め具の上部が、前記コンクリート床版に埋設されていることを特徴とする、請求項1又は2に記載の木質梁と床の取合構造。
【請求項10】
前記床がコンクリート床版であり、
前記一般部に雌ネジを備えたラグスクリューボルトが埋設され、
前記嵩上げ部にボルト孔が設けられ、その途中にナットを備えているボルトが該ボルト孔に挿通されながら前記ラグスクリューボルトの雌ネジに螺合し、該ナットが該嵩上げ部の上面を締め付けており、
前記ボルトの上部が、前記コンクリート床版に埋設されていることを特徴とする、請求項1又は2に記載の木質梁と床の取合構造。
発明の詳細な説明
【技術分野】
【0001】
本発明は、木質梁と床の取合構造に関する。
続きを表示(約 1,400 文字)
【背景技術】
【0002】
昨今の環境影響への負荷低減に対する高まりや、環境配慮への盛んな取り組みの中で、建築分野においては木質材を有効に活用した技術開発が盛んに行われており、木造の建物や木と鋼やコンクリートとのハイブリット建物等においては、梁や柱、壁、床といった様々な構成部材が木質材により形成されている。木質材は、鉄骨やコンクリート等に比べて軽量であり、比強度が高く、加工性に優れており、その他、断熱性が高く、調湿作用があり、さらには、自然素材の醸し出す外観意匠性を有しており、自然素材故に二酸化炭素排出量が少なく、環境影響負荷への低減効果が高いといった様々な効果を奏する材料である。
【0003】
例えば、梁に木質梁を適用し、木質梁に対して床を設置する取合構造において、木質梁に対して電気ケーブルや配管を貫通させたい場合があるが、木質梁に貫通孔を設けることにより木質梁の強度低下が課題となる。
【0004】
また、図8には、木質梁の上方に凹部が掘り込まれている、木質梁と床の取合構造の斜視図を示しており、床を一点鎖線で図示してその下方を透視可能に示している。図8に示すように、木質梁Bの上方に掘り込まれた凹部Rを設け、木質梁Bの上面B1に床Fを設置し、凹部Rと床Fにより貫通孔Hが形成される木質梁と床の取合構造Sにおいては、木質梁Bにおける凹部Rの隅角部等を起点として、木質梁Bの内部(下方)に延びる割裂Cが生じ易くなり、木質梁Bの強度低下の要因となって好ましくない。
【0005】
以上のことから、木質梁と床の取合構造において、木質梁の強度を低下させることなく、他部材が貫通する貫通孔が設けられている、木質梁と床の取合構造が望まれる。
【0006】
ここで、特許文献1には、集成木材梁開孔部の補強構造が提案されている。この補強構造は、集成木材梁を水平方向に貫通している開孔に鋼管を嵌入して接着するとともに、開孔周辺に鉛直方向に貫通する複数のボルト孔を穿孔し、ボルト孔に挿通したボルトにより集成木材梁が鉛直方向に締めつけられている。
【先行技術文献】
【特許文献】
【0007】
特開平8-209856号公報
【発明の概要】
【発明が解決しようとする課題】
【0008】
特許文献1に記載される集成木材梁開孔部の補強構造は、集成木材梁を水平方向に貫通している開孔に鋼管を嵌入することにより、集成木材梁の開孔の周囲が補強されるものの、集成木材梁に開孔を設けることから集成木材梁の強度が低下することは避けられない。
【0009】
本発明は上記課題に鑑みてなされたものであり、木質梁の強度を低下させることなく、他部材が貫通する貫通孔が設けられている、木質梁と床の取合構造を提供することを目的としている。
【課題を解決するための手段】
【0010】
前記目的を達成すべく、本発明による木質梁と床の取合構造の一態様は、
上方に凹部を備えた木質梁と、該木質梁の上に配設される床とを有し、該凹部と該床により第1貫通孔が形成されている、木質梁と床の取合構造であって、
前記木質梁は、下方にある一般部と、該一般部の上方にある複数の嵩上げ部とを備え、該複数の嵩上げ部の間にある隙間と該一般部の上面とにより前記凹部が形成されていることを特徴とする。
(【0011】以降は省略されています)
この特許をJ-PlatPat(特許庁公式サイト)で参照する
関連特許
株式会社フジタ
掘削機
1か月前
株式会社フジタ
保護具
2日前
株式会社フジタ
合成床
21日前
株式会社フジタ
合成床
9日前
株式会社フジタ
制振装置
21日前
株式会社フジタ
制振装置
21日前
株式会社フジタ
緑化装置
7日前
株式会社フジタ
水処理装置
11日前
株式会社フジタ
ビス打ち装置
8日前
株式会社フジタ
木質建築部材
11日前
株式会社フジタ
昇降システム
1か月前
株式会社フジタ
窓用カバー部材
1日前
株式会社フジタ
センサユニット
8日前
株式会社フジタ
情報取得システム
11日前
株式会社フジタ
結露対策設定装置
1日前
株式会社フジタ
状態評価システム
1か月前
株式会社フジタ
バイオガス改質装置
7日前
株式会社フジタ
コンクリート構造物
22日前
株式会社フジタ
駐車場緑化システム
7日前
株式会社フジタ
エネルギーシステム
21日前
株式会社フジタ
建築物とその施工方法
21日前
株式会社フジタ
地質性状予測システム
2日前
株式会社フジタ
木質梁と床の取合構造
22日前
株式会社フジタ
バイオガス改質システム
7日前
株式会社フジタ
エネルギー制御システム
21日前
株式会社フジタ
二酸化炭素分離回収供給装置
1か月前
株式会社フジタ
床衝撃音レベル予測システム
11日前
株式会社フジタ
二酸化炭素分離回収供給装置
1か月前
株式会社フジタ
荷物昇降装置用の荷物載置機構
7日前
株式会社フジタ
昆虫および昆虫の幼虫の飼育装置
3日前
大和ハウス工業株式会社
制振装置
21日前
株式会社フジタ
合成床、及び合成床と梁の接合構造
14日前
株式会社明電舎
電力系統システム
11日前
大和ハウス工業株式会社
制振装置
21日前
株式会社フジタ
被覆シートおよび二酸化炭素供給方法
1か月前
株式会社フジタ
状態評価装置および状態評価システム
1か月前
続きを見る
他の特許を見る