TOP
|
特許
|
意匠
|
商標
特許ウォッチ
Twitter
他の特許を見る
公開番号
2025091241
公報種別
公開特許公報(A)
公開日
2025-06-18
出願番号
2023206403
出願日
2023-12-06
発明の名称
情報処理装置、情報処理方法、及びプログラム
出願人
一般財団法人日本気象協会
,
国立大学法人 筑波大学
代理人
個人
,
個人
主分類
G01W
1/10 20060101AFI20250611BHJP(測定;試験)
要約
【課題】1か月以上先の極端な高温や低温、大雨、及び渇水並びに梅雨明け時期や台風の接近数等も含め長期気象予測を精度良く行うこと。
【解決手段】指標取得部51は、予測領域と遠隔領域とで相関する気象現象に着目した指標を計算する数値予報モデルによる指数演算装置2から、当該遠隔領域の当該指標を予測用データ(指標)として取得して、気象予測部52に提供する。気象予測部52は、遠隔領域の指標(予測用データ)に基づいて、予測領域における長期気象予測を行う。気象予測部52は、所定の機械学習の結果得られる予測式の回帰係数61を用いて、予測領域の長期気象予測を行う。この予測式の回帰係数61は、学習部54により生成又は更新される。
【選択図】図3
特許請求の範囲
【請求項1】
予測領域と遠隔領域とで相関する気象現象に着目した指標を計算する計算手段から、当該遠隔領域の当該指標を取得する指標取得手段と、
前記遠隔領域の前記指標に基づいて、前記予測領域における長期気象予測を行う気象予測手段と、
を備える情報処理装置。
続きを表示(約 740 文字)
【請求項2】
前記遠隔領域の前記指標は、前記遠隔領域の海における対流活動と海面水温のうち少なくとも一方である、
請求項1に記載の情報処理装置。
【請求項3】
過去の数値予報モデルによる所定期間後までの前記遠隔領域の前記指標のシミュレーションデータと、当該予測領域の実際の気象観測データとの関係を所定の機械学習により分析することで、前記遠隔領域の前記指標によって前記予測領域の長期気象観測の結果を説明するモデルを生成する学習手段をさらに備え、
前記指標取得手段は、新しい数値予報モデルによる前記所定期間後までの前記遠隔領域の前記指標の予想を取得し、
前記気象予測手段は、取得された前記遠隔領域の前記指標の予想を前記モデルに入力し、前記予測領域における前記長期気象予測として当該モデルの出力を用いる、
請求項1又は2に記載の情報処理装置。
【請求項4】
情報処理装置が実行する情報処理方法において、
予測領域と遠隔領域とで相関する気象現象に着目した指標を計算する計算手段から、当該遠隔領域の当該指標を取得する指標取得ステップと、
前記遠隔領域の前記指標に基づいて、前記予測領域における長期気象予測を行う気象予測ステップと、
を含む情報処理方法。
【請求項5】
コンピュータに、
予測領域と遠隔領域とで相関する気象現象に着目した指標を計算する計算手段から、当該遠隔領域の当該指標を取得する指標取得ステップと、
前記遠隔領域の前記指標に基づいて、前記予測領域における長期気象予測を行う気象予測ステップと、
を含む制御処理を実行させるプログラム。
発明の詳細な説明
【技術分野】
【0001】
本発明は、情報処理装置、情報処理方法、及びプログラムに関する。
続きを表示(約 1,400 文字)
【背景技術】
【0002】
1ケ月以上先の長期気象予報(例えば特許文献1参照)は、様々な分野からニーズが高く、例えば特許文献1にも開示されている。
【先行技術文献】
【特許文献】
【0003】
特開2022-191176号公報
【発明の概要】
【発明が解決しようとする課題】
【0004】
しかしながら、長期気象予測には物理的限界があり、数値予報モデルによる中高緯度の気象予測は精度が低く、1か月以上先の極端な高温や低温、大雨、及び渇水は予測することができない状況である。よって、日本国の気象庁でも使われているような、数値予報モデルにおける予測対象エリアの直上格子点値を補正することで予報作業を支援するガイダンスは、1か月以上先の精度が低い状況である。また、このような数値予報モデルの直上格子点値のみを用いたガイダンスでは、経済に影響の大きい梅雨明け時期や台風の接近数などを表現することができない状況である。
【0005】
本発明は、このような状況に鑑みてなされたものであり、1か月以上先の極端な高温や低温、大雨、及び渇水並びに梅雨明け時期や台風の接近数等も含め長期気象予測を精度良く行うことを目的とする。
【課題を解決するための手段】
【0006】
上記目的を達成するため、本発明の一態様の情報処理装置は、
予測領域と遠隔領域とで相関する気象現象に着目した指標を計算する計算手段から、当該遠隔領域の当該指標を取得する指標取得手段と、
前記遠隔領域の前記指標に基づいて、前記予測領域における長期気象予測を行う気象予測手段と、
を備える。
【発明の効果】
【0007】
本発明によれば、1か月以上先の極端な高温や低温、大雨、及び渇水並びに梅雨明け時期や台風の接近数等も含め長期気象予測を精度良く行うことができる。
【図面の簡単な説明】
【0008】
本発明の情報処理装置の一実施形態としての気象予測装置を含む情報処理システムの構成例を示す図である。
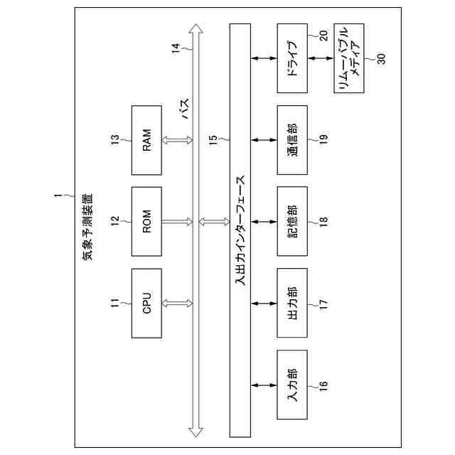
図1の情報処理システムのうち気象予測装置のハードウェア構成の一例を示すブロック図である。
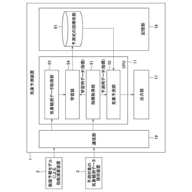
図2の気象予測装置の機能的構成の一例を示す機能ブロック図である。
図3の機能的構成を有する気象予測装置により行われた長期気象予測の具体的な第1事例を示す図である。
図3の機能的構成を有する気象予測装置により行われた長期気象予測の具体的な第2事例を示す図である。
図3の機能的構成を有する気象予測装置により行われた長期気象予測の具体的な第3事例を示す図である。
図3の機能的構成を有する気象予測装置により行われた長期気象予測の具体的な第4事例を示す図である。
【発明を実施するための形態】
【0009】
以下、図面を参照しながら、本発明の実施形態について説明する。
図1は、本発明の情報処理装置の一実施形態としての気象予測装置を含む情報処理システムの構成例を示す図である。
【0010】
図1に示す情報処理システムは、気象予測装置1と、数値予報モデルによる指数演算装置2と、予測対象の気象観測データ提供装置3とが、インターネット等の所定のネットワークを介して相互に接続されることで構成される。
(【0011】以降は省略されています)
この特許をJ-PlatPat(特許庁公式サイト)で参照する
関連特許
個人
計量スプーン
23日前
個人
微小振動検出装置
1か月前
株式会社イシダ
X線検査装置
1か月前
日本精機株式会社
位置検出装置
1日前
日本精機株式会社
位置検出装置
1日前
日本精機株式会社
位置検出装置
1日前
株式会社辰巳菱機
システム
1か月前
大和製衡株式会社
組合せ秤
6日前
大和製衡株式会社
組合せ秤
6日前
株式会社FRPカジ
FRP装置
1か月前
アンリツ株式会社
分光器
29日前
アンリツ株式会社
分光器
29日前
ダイハツ工業株式会社
測定用具
27日前
株式会社東芝
センサ
1か月前
株式会社ユーシン
操作検出装置
3日前
株式会社東芝
センサ
6日前
トヨタ自動車株式会社
表示装置
15日前
株式会社東芝
センサ
6日前
トヨタ自動車株式会社
検査装置
3日前
株式会社ヨコオ
コンタクタ
27日前
TDK株式会社
ガスセンサ
1か月前
株式会社ナリス化粧品
角層細胞採取用具
13日前
東レエンジニアリング株式会社
計量装置
3日前
日本精工株式会社
分注装置
1か月前
大和製衡株式会社
組合せ計量装置
1か月前
株式会社精工技研
光電圧プローブ
1か月前
TDK株式会社
磁気センサ
23日前
個人
粘塑性を用いた有限要素法の定式化
15日前
学校法人立命館
液面レベルセンサ
1か月前
TDK株式会社
磁気センサ
1か月前
株式会社カワタ
サンプリング装置
1か月前
大同特殊鋼株式会社
超音波探傷方法
23日前
株式会社熊谷組
RI計測装置
1日前
日本碍子株式会社
ガスセンサ
24日前
個人
材料特性パラメータの算定方法
23日前
成田空港給油施設株式会社
保持治具
14日前
続きを見る
他の特許を見る