TOP
|
特許
|
意匠
|
商標
特許ウォッチ
Twitter
他の特許を見る
10個以上の画像は省略されています。
公開番号
2025142256
公報種別
公開特許公報(A)
公開日
2025-09-30
出願番号
2025123931,2024095919
出願日
2025-07-24,2021-01-26
発明の名称
情報端末及びそのプログラム
出願人
東芝テック株式会社
代理人
弁理士法人鈴榮特許綜合事務所
主分類
G07G
1/06 20060101AFI20250919BHJP(チェック装置)
要約
【課題】取引レシート以外にも非取引レシートを電子化する。
【解決手段】レシート処理装置は、判別部と、電子化部と、送信部とを備える。判別部は、レシート生成部で生成されたレシートデータが、商取引の内容を表す取引レシートのレシートデータであるのか、商取引以外の内容を表す非取引レシートのレシートデータであるのかを判別する。電子化部は、レシートデータが取引レシートのレシートデータである場合には、第1の区分情報を付してレシートデータを電子化し、レシートデータが非取引レシートのレシートデータである場合には、第1の区分情報とは異なる第2の区分情報を付して前記レシートデータを電子化する。送信部は、電子化部で電子化されたレシートデータをサーバへと送信する。
【選択図】 図3
特許請求の範囲
【請求項1】
レシート生成部で生成されたレシートデータが、商取引の内容を表す取引レシートのレシートデータであるのか、商取引以外の内容を表す非取引レシートのレシートデータであるのかを判別する判別部と、
前記レシートデータが前記取引レシートのレシートデータである場合には、第1の区分情報を付して前記レシートデータを電子化し、前記レシートデータが前記非取引レシートのレシートデータである場合には、前記第1の区分情報とは異なる第2の区分情報を付して前記レシートデータを電子化する電子化部と、
前記電子化部で電子化された前記レシートデータをサーバへと送信する送信部と、
を具備するレシート処理装置。
続きを表示(約 1,100 文字)
【請求項2】
電子レシートを要求するデータを入力する入力部と、
レシートデータを印刷デバイスに出力する出力部と、
前記レシート生成部で生成されたレシートデータに対して、前記入力部を介して前記電子レシートを要求するデータが入力されている場合には、前記判別部で判別されたレシートデータを前記電子化部へと与え、前記電子レシートを要求するデータが入力されていない場合には、前記判別部で判別されたレシートデータを前記出力部へと与える切替部と、をさらに具備する請求項1記載のレシート処理装置。
【請求項3】
前記非取引レシートは、電子マネーのチャージ情報を記録するチャージレシート、または、商品の予約内容を記録する予約レシートである、請求項1又は2記載のレシート処理装置。
【請求項4】
請求項1乃至3のうちいずれか1項記載のレシート処理装置と、
前記レシート処理装置で電子化されたレシートデータを受信する受信部と、
前記受信部で受信した前記レシートデータに付されている区分情報を取得する取得部と、
前記取得部で取得した前記区分情報が前記第1の区分情報の場合には、前記レシートデータを前記取引レシートのレシートデータとして処理し、前記第2の区分情報の場合には、前記レシートデータを前記非取引レシートのレシートデータとして処理する処理部と、を具備するサーバと、
を含む電子レシートシステム。
【請求項5】
前記サーバは、
前記処理部において前記取引レシート又は前記非取引レシートのレシートデータとして処理されたレシートデータを、レシート要求元の端末に提供する提供部、
をさらに具備する、請求項4記載の電子レシートシステム。
【請求項6】
レシート生成部で生成されたレシートデータを処理するレシート処理装置のコンピュータに、
前記レシートデータが、商取引の内容を表す取引レシートのレシートデータであるのか、商取引以外の内容を表す非取引レシートのレシートデータであるのかを判別する機能、 前記レシートデータが前記取引レシートのレシートデータである場合には、第1の区分情報を付して前記レシートデータを電子化し、前記レシートデータが前記非取引レシートのレシートデータである場合には、前記第1の区分情報とは異なる第2の区分情報を付して前記レシートデータを電子化する機能、及び、
前記電子化された前記レシートデータをサーバへと送信する機能、
を実現させるための制御プログラム。
発明の詳細な説明
【技術分野】
【0001】
本発明の実施形態は、電子レシートシステム及びこのシステムに用いられるレシート処理装置並びにその制御プログラムに関する。
続きを表示(約 2,200 文字)
【背景技術】
【0002】
レシートを電子化して、買物客等のサービス利用者が携帯端末等で閲覧可能とする電子レシートサービスが知られている。従来の電子レシートサービスで提供されるレシートデータは、POS(Point Of Sales)端末等の会計機で決済された商取引の内容を表す取引レシートである。
【0003】
レシートには、取引レシート以外に、商取引以外の内容を表す非取引レシートが存在する。例えば、電子マネーをチャージした際にそのチャージ金額等を記録したチャージレシート、商品を予約した際に予約内容を記録した予約レシート、等が非取引レシートに該当する。従来、この種の非取引レシートは、電子化の対象外となっていた。
【先行技術文献】
【特許文献】
【0004】
特許第5740420号公報
【発明の概要】
【発明が解決しようとする課題】
【0005】
本発明の実施形態が解決しようとする課題は、取引レシート以外にも非取引レシートを電子化する技術を提供しようとするものである。
【課題を解決するための手段】
【0006】
一実施形態において、レシート処理装置は、判別部と、電子化部と、送信部とを備える。判別部は、レシート生成部で生成されたレシートデータが、商取引の内容を表す取引レシートのレシートデータであるのか、商取引以外の内容を表す非取引レシートのレシートデータであるのかを判別する。電子化部は、レシートデータが取引レシートのレシートデータである場合には、第1の区分情報を付してレシートデータを電子化し、レシートデータが非取引レシートのレシートデータである場合には、第1の区分情報とは異なる第2の区分情報を付して前記レシートデータを電子化する。送信部は、電子化部で電子化されたレシートデータをサーバへと送信する。
【図面の簡単な説明】
【0007】
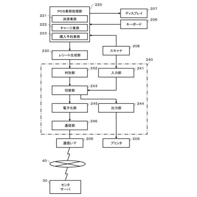
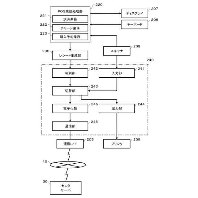
一実施形態に係る電子レシートシステムの概略構成図。
POS端末の要部回路構成を示すブロック図。
POS端末の主要な機能構成を示すブロック図。
センタサーバの要部回路構成を示すブロック図。
第1の電子レシートデータの主要なデータ構造を示す模式図。
第2の電子レシートデータの主要なデータ構造を示す模式図。
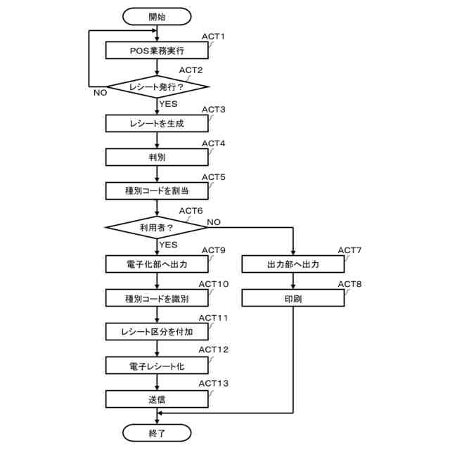
POS端末のプロセッサが制御プログラムに従い実行する主要な情報処理の手順を示す流れ図。
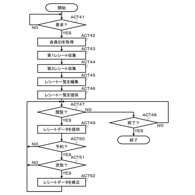
センタサーバのプロセッサが制御プログラムに従い実行する主要な情報処理の手順を示す流れ図。
センタサーバのプロセッサが制御プログラムに従い実行する主要な情報処理の手順を示す流れ図。
レシート一覧画像におけるトップ画面の一例を示す模式図。
レシート一覧画像におけるレシート選択画面の一例を示す模式図。
レシート一覧画像におけるレシート選択画面の一例を示す模式図。
予約レシートに対するレシート詳細画像の一例を示す模式図。
予約レシートに対するレシート詳細画像の一例を示す模式図。
予約レシートに対するレシート詳細画像の一例を示す模式図。
【発明を実施するための形態】
【0008】
以下、一実施形態について、図面を用いて説明する。
本実施形態は、POS(Point Of Sales)端末で決済された商取引の内容を表す取引レシート以外に、商取引以外の内容を表す非取引レシートとしてチャージレシートと予約レシートを電子化する電子レシートシステムを例示する。
【0009】
[電子レシートシステムの説明]
図1は、本実施形態に係る電子レシートシステム10の概略構成図である。電子レシートシステム10は、各加盟店Sにそれぞれ設けられるPOS端末20と、電子レシートセンタCに設けられるセンタサーバ30と、通信ネットワーク40と、を含む。加盟店Sは、電子レシートシステム10を利用するために加盟店登録をした店舗である。電子レシートセンタCは、電子レシートシステム10を運営する運営体によって管理されるコンピュータセンタである。通信ネットワーク40は、例えばインターネットである。各加盟店SのPOS端末20と電子レシートセンタCのセンタサーバ30とは、それぞれルータ等の通信機器を介して通信ネットワーク40に接続されている。
【0010】
電子レシートサービスを利用するサービス利用者(以下では、単に利用者と称する)が電子レシートシステム10を利用するためには、情報端末50が必要である。情報端末50は、無線LAN(Local Area Network)又はモバイル通信の技術を利用して無線通信が可能な携帯型の電子機器である。通信ネットワーク40には、無線LAN又はモバイル通信に対応したアクセスポイント60が多数接続されている。情報端末50は、いずれかのアクセスポイント60を介してセンタサーバ30と無線通信を行う。このような情報端末50としては、例えばスマートフォン、タブレット端末、携帯電話等が適用可能である。
(【0011】以降は省略されています)
この特許をJ-PlatPat(特許庁公式サイト)で参照する
関連特許
東芝テック株式会社
プリンタ
1日前
東芝テック株式会社
商品登録装置
9日前
東芝テック株式会社
画像形成装置
3日前
東芝テック株式会社
プリンタ装置
1日前
東芝テック株式会社
プリンタ装置
1日前
東芝テック株式会社
接客支援システム
15日前
東芝テック株式会社
情報処理システム
15日前
東芝テック株式会社
情報処理システム
15日前
東芝テック株式会社
情報処理システム
15日前
東芝テック株式会社
情報処理装置及びシステム
2日前
東芝テック株式会社
情報端末及びそのプログラム
15日前
東芝テック株式会社
情報処理装置及びプログラム
1日前
東芝テック株式会社
情報処理装置及びプログラム
15日前
東芝テック株式会社
情報処理装置及びプログラム
15日前
東芝テック株式会社
情報処理装置及びプログラム
15日前
東芝テック株式会社
信号入出力装置および障害通知方法
5日前
東芝テック株式会社
質問応答装置、方法及びプログラム
5日前
東芝テック株式会社
読取装置、プログラムおよびシステム
5日前
東芝テック株式会社
商品データ処理装置、及びプログラム
15日前
東芝テック株式会社
商品データ処理装置、及びプログラム
15日前
東芝テック株式会社
買物支援システム及び買物支援サーバ
9日前
東芝テック株式会社
取引処理装置及び情報処理プログラム
9日前
東芝テック株式会社
POS端末、切替方法及びプログラム
15日前
東芝テック株式会社
商品登録装置、及び情報処理プログラム
1日前
東芝テック株式会社
データベース更新装置及びそのプログラム
15日前
東芝テック株式会社
商品販売データ処理装置及びそのプログラム
2日前
東芝テック株式会社
商品受渡システム、店員端末およびプログラム
9日前
東芝テック株式会社
会計ロボット装置、プログラムおよび会計システム
16日前
東芝テック株式会社
情報処理装置、情報処理システムおよびプログラム
15日前
東芝テック株式会社
商品販売支援システム、店員端末およびプログラム
9日前
東芝テック株式会社
情報処理サーバ、情報処理システム、及びプログラム
15日前
東芝テック株式会社
情報処理装置、情報処理プログラム及び情報処理システム
1日前
東芝テック株式会社
販売支援システム、販売支援装置および販売支援プログラム
15日前
東芝テック株式会社
画像形成装置
15日前
東芝テック株式会社
物品認識システム、情報処理プログラム及び取引処理システム
15日前
東芝テック株式会社
石突及び白杖
17日前
続きを見る
他の特許を見る