TOP
|
特許
|
意匠
|
商標
特許ウォッチ
Twitter
他の特許を見る
10個以上の画像は省略されています。
公開番号
2025137206
公報種別
公開特許公報(A)
公開日
2025-09-19
出願番号
2024036273
出願日
2024-03-08
発明の名称
情報処理装置、情報処理方法およびプログラム
出願人
日本電気株式会社
,
NECプラットフォームズ株式会社
代理人
個人
,
個人
主分類
G06Q
50/04 20120101AFI20250911BHJP(計算;計数)
要約
【課題】設備の停止時間をより精度良く算出することができる情報処理装置、情報処理方法およびプログラムを提供する。
【解決手段】情報処理装置は、設備の運用時にアラームが発生した場合、アラームの項目毎に、アラーム対応作業の作業時間とアラーム再発間隔とを作業者毎に記録するデータベースに記録されている情報を取得する。また情報処理装置は、各アラーム対応作業へ割り付けた各作業者の作業時間とアラーム再発間隔とに基づいて、発生したアラームとそのアラームの後に発生が予測される1または複数のアラームとによる設備の停止時間を、複数のアラーム対応作業に割り付ける複数の作業者の複数の組み合わせそれぞれについて算出する。
【選択図】図11
特許請求の範囲
【請求項1】
設備の運用時にアラームが発生した場合、
前記アラームの項目毎に、アラーム対応作業の作業時間とアラーム再発間隔とを作業者毎に記録するデータベースに記録されている情報を取得し、
各前記アラーム対応作業へ割り付けた各前記作業者の前記作業時間と前記アラーム再発間隔とに基づいて、発生した前記アラームとそのアラームの後に発生が予測される1または複数のアラームとによる前記設備の停止時間を、複数の前記アラーム対応作業に割り付ける複数の前記作業者の複数の組み合わせそれぞれについて算出する設備停止時間予測手段
を備える情報処理装置。
続きを表示(約 1,300 文字)
【請求項2】
前記設備停止時間予測手段は、ある作業者が前記アラーム対応作業中に発生した他のアラームに対する前記アラーム対応作業の開始時刻に待ち時間を設定して、当該作業者に対して前記他のアラームのアラーム対応作業を割り付ける場合の前記停止時間も算出する
請求項1に記載の情報処理装置。
【請求項3】
前記設備停止時間予測手段は、前記アラームの項目毎に前記停止時間を算出し、発生した前記アラームの全項目について停止時間を合算することで、前記全項目についての合計の前記停止時間を算出する
請求項2に記載の情報処理装置。
【請求項4】
前記設備停止時間予測手段は、前記設備の停止時刻までに発生が予測される1または複数の前記アラームと、発生した前記アラームとによる前記停止時間を算出する
請求項3に記載の情報処理装置。
【請求項5】
前記設備停止時間予測手段は、新たな前記アラームが発生する毎に、前記停止時間を再計算する
請求項4に記載の情報処理装置。
【請求項6】
前記設備停止時間予測手段は、新たな前記アラームが発生した場合に、その時点で前記アラーム対応作業中の前記作業者を当該作業者に固定して、前記停止時間を再計算する
請求項5に記載の情報処理装置。
【請求項7】
前記停止時間に基づいて算出した1または複数の作業割付パターンを作業割付候補として提示する作業割付候補提示手段
をさらに備える請求項6に記載の情報処理装置。
【請求項8】
前記データベースは、前記作業時間と前記アラーム再発間隔を、それぞれの過去の実績に基づいて更新する
請求項7に記載の情報処理装置。
【請求項9】
設備の運用時にアラームが発生した場合、
前記アラームの項目毎に、アラーム対応作業の作業時間とアラーム再発間隔とを作業者毎に記録するデータベースに記録されている情報を取得するステップと、
各前記アラーム対応作業へ割り付けた各前記作業者の前記作業時間と前記アラーム再発間隔とに基づいて、発生した前記アラームとそのアラームの後に発生が予測される1または複数のアラームとによる前記設備の停止時間を、複数の前記アラーム対応作業に割り付ける複数の前記作業者の複数の組み合わせそれぞれについて算出するステップと、
含む情報処理方法。
【請求項10】
設備の運用時にアラームが発生した場合、
前記アラームの項目毎に、アラーム対応作業の作業時間とアラーム再発間隔とを作業者毎に記録するデータベースに記録されている情報を取得するステップと、
各前記アラーム対応作業へ割り付けた各前記作業者の前記作業時間と前記アラーム再発間隔とに基づいて、発生した前記アラームとそのアラームの後に発生が予測される1または複数のアラームとによる前記設備の停止時間を、複数の前記アラーム対応作業に割り付ける複数の前記作業者の複数の組み合わせそれぞれについて算出するステップとを、
コンピュータに実行させるプログラム。
発明の詳細な説明
【技術分野】
【0001】
本開示は、情報処理装置、情報処理方法およびプログラムに関する。
続きを表示(約 2,500 文字)
【背景技術】
【0002】
特許文献1には、部品実装装置を含む複数の部品実装関連装置を連結して構成される部品実装ラインにおいて実装基板を生産するための作業を行うオペレータの割り当てを最適化するための管理装置が記載されている。特許文献1に記載されている管理装置では、イベント情報、オペレータ情報、生産実績情報等に基づき、オペレータの作業を必要とする事象が発生することによる装置停止時間を含めた部品実装ラインの生産能力が推定される。ここで、イベント情報は、イベントの項目毎の発生頻度、作業時間等を示す情報を含む。オペレータ情報は、オペレータの作業能力、勤務予定、フロアにおける担当範囲、オペレータの移動速度等を示す情報を含む。生産実績情報は、イベントの発生日時、内容、オペレータID、装置停止時間、作業時間等のイベントに関する情報を含む。また、この管理装置では、推定された生産能力が目標生産能力以上であると判定された場合、オペレータを減少させて生産能力が再推定され、再推定された生産能力が目標生産能力以上で、かつ、人数が最小となるように、割り当てるオペレータが決定される。
【先行技術文献】
【特許文献】
【0003】
特許第6782424号公報
【発明の概要】
【発明が解決しようとする課題】
【0004】
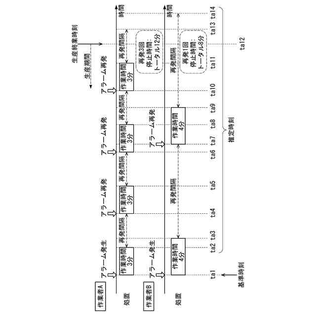
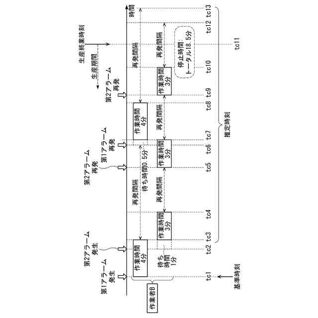
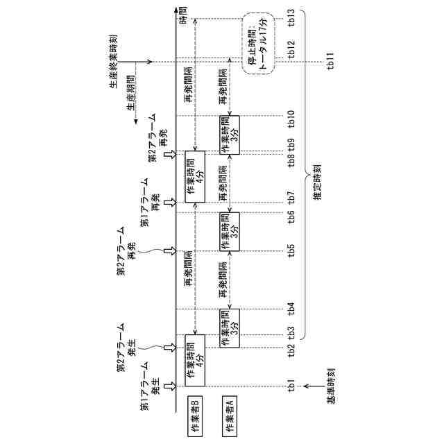
ところで、装置エラー等による設備アラームは、処置する作業者のスキルや処置の仕方によって作業時間と、再発するまでの間隔や頻度が異なることがある。処置が早く、再発までの間隔が長い作業者を揃えられれば良いが実際には差異がある。例えば、アラーム解消後の調整が上手ではあるが作業時間が長い作業者と、解消後の調整はほどほどであるが作業時間は短い作業者がいた場合、前者は処置後の再発までの間隔が長くなり、後者は処置後の再発までの間隔が短くなる。この場合、アラーム再発の間隔によっては、前者の作業者が処置したほうが、生産時間全体でみたアラームによるライン停止時間が短くなる可能性がある。このように、ライン停止時間を精度良く予測するには、場合によっては、作業時間と再発間隔について作業者の違いによる差を考慮する必要がある。
【0005】
本開示は、上記課題を解決する情報処理装置、情報処理方法およびプログラムを提供することを目的とする。
【課題を解決するための手段】
【0006】
本開示の情報処理装置は、設備の運用時にアラームが発生した場合、前記アラームの項目毎に、アラーム対応作業の作業時間とアラーム再発間隔とを作業者毎に記録するデータベースに記録されている情報を取得し、各前記アラーム対応作業へ割り付けた各前記作業者の前記作業時間と前記アラーム再発間隔とに基づいて、発生した前記アラームとそのアラームの後に発生が予測される1または複数のアラームとによる前記設備の停止時間を、複数の前記アラーム対応作業に割り付ける複数の前記作業者の複数の組み合わせそれぞれについて算出する設備停止時間予測手段を備える。
【0007】
本開示の情報処理方法は、設備の運用時にアラームが発生した場合、前記アラームの項目毎に、アラーム対応作業の作業時間とアラーム再発間隔とを作業者毎に記録するデータベースに記録されている情報を取得するステップと、各前記アラーム対応作業へ割り付けた各前記作業者の前記作業時間と前記アラーム再発間隔とに基づいて、発生した前記アラームとそのアラームの後に発生が予測される1または複数のアラームとによる前記設備の停止時間を、複数の前記アラーム対応作業に割り付ける複数の前記作業者の複数の組み合わせそれぞれについて算出するステップと、含む。
【0008】
本開示のプログラムは、設備の運用時にアラームが発生した場合、前記アラームの項目毎に、アラーム対応作業の作業時間とアラーム再発間隔とを作業者毎に記録するデータベースに記録されている情報を取得するステップと、各前記アラーム対応作業へ割り付けた各前記作業者の前記作業時間と前記アラーム再発間隔とに基づいて、発生した前記アラームとそのアラームの後に発生が予測される1または複数のアラームとによる前記設備の停止時間を、複数の前記アラーム対応作業に割り付ける複数の前記作業者の複数の組み合わせそれぞれについて算出するステップとを、コンピュータに実行させる。
【発明の効果】
【0009】
本発明の情報処理装置、情報処理方法およびプログラムによれば、設備の停止時間をより精度良く算出することができる。
【図面の簡単な説明】
【0010】
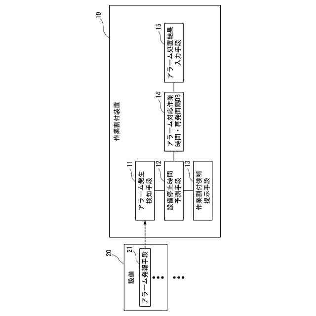
本開示の実施形態に係る作業割付装置の構成例を示すブロック図である。
本開示の実施形態に係るアラーム対応作業時間・再発間隔DBの構成例を示す図である。
本開示の実施形態に係る作業割付装置を説明するための模式図である。
本開示の実施形態に係る作業割付装置を説明するための模式図である。
本開示の実施形態に係る作業割付装置を説明するための模式図である。
本開示の実施形態に係る作業割付装置の動作例を示すフローチャートである。
本開示の実施形態に係る作業割付装置を説明するための模式図である。
本開示の実施形態に係る作業割付装置を説明するための模式図である。
本開示の実施形態に係る作業割付装置を説明するための模式図である。
本開示の実施形態に係る作業割付パターンの算出量を示す図である。
本開示の実施形態に係る情報処理装置の構成例を示すブロック図である。
本開示の実施形態に係る情報処理装置の動作例を示すフローチャートである。
本開示の実施形態に係るコンピュータの基本的構成例を示すブロック図である。
【発明を実施するための形態】
(【0011】以降は省略されています)
この特許をJ-PlatPat(特許庁公式サイト)で参照する
関連特許
日本電気株式会社
学習装置
27日前
日本電気株式会社
学習装置
1か月前
日本電気株式会社
分析装置
3日前
日本電気株式会社
原子発振器
29日前
日本電気株式会社
超伝導量子回路
23日前
日本電気株式会社
マルチバンドバラン
21日前
日本電気株式会社
量子回路装置と制御方法
3日前
日本電気株式会社
量子回路装置と制御方法
3日前
日本電気株式会社
検知装置および検知方法
3日前
日本電気株式会社
分析方法および分析システム
今日
日本電気株式会社
端末装置および無線通信方法
14日前
日本電気株式会社
機器冷却装置及びその冷却方法
15日前
日本電気株式会社
TS合成装置および放送システム
1か月前
日本電気株式会社
プログラム、算出装置、及び方法
15日前
日本電気株式会社
共振器及びそれを備えた導波回路
1日前
日本電気株式会社
処理装置、方法、及びプログラム
27日前
日本電気株式会社
ピーク抑圧装置及びピーク抑圧方法
13日前
日本電気株式会社
推定装置、推定方法及びプログラム
6日前
日本電気株式会社
推定装置、推定方法及びプログラム
6日前
日本電気株式会社
リング共振器、およびその製造方法
28日前
日本電気株式会社
リング共振器、およびその製造方法
29日前
日本電気株式会社
システム及びマイグレーション方法
3日前
日本電気株式会社
画像管理システムおよび画像管理方法
1日前
日本電気株式会社
処理装置、処理方法、及びプログラム
3日前
日本電気株式会社
推定装置、推定方法、及び、記録媒体
今日
日本電気株式会社
管理システム、管理方法及びプログラム
13日前
日本電気株式会社
判定装置、判定方法、及び、プログラム
23日前
日本電気株式会社
通信装置、通信方法及び通信プログラム
今日
日本電気株式会社
通信システム及びパケット順序補正方法
14日前
日本電気株式会社
予測システム、予測方法及びプログラム
6日前
日本電気株式会社
映像処理装置、映像処理方法、プログラム
3日前
日本電気株式会社
処理システム、処理方法およびプログラム
6日前
日本電気株式会社
情報処理装置、情報処理方法、プログラム
1日前
日本電気株式会社
マルチコアファイバ増幅器及び光増幅方法
21日前
日本電気株式会社
映像伝送装置、映像伝送方法、プログラム
3日前
日本電気株式会社
画像選択装置、画像選択方法及び記憶媒体
1日前
続きを見る
他の特許を見る