TOP
|
特許
|
意匠
|
商標
特許ウォッチ
Twitter
他の特許を見る
公開番号
2025137372
公報種別
公開特許公報(A)
公開日
2025-09-19
出願番号
2024201532
出願日
2024-11-19
発明の名称
保護部材形成装置および保護部材の形成方法
出願人
株式会社ディスコ
代理人
弁理士法人東京アルパ特許事務所
主分類
H01L
21/683 20060101AFI20250911BHJP(基本的電気素子)
要約
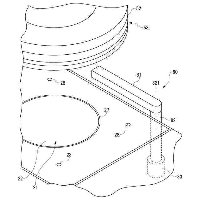
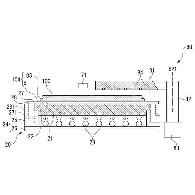
【課題】ガラスステージ上にウェーハが残っているか否かを良好に検知する。
【解決手段】ウェーハ保持パッドによってウェーハ100を保持することが困難となって連続加工が一時停止したときに、検知部71が、光量測定部80によって測定される光量を用いて、ガラステーブル21におけるウェーハ100の有無を検知する。これにより、ガラステーブル21におけるウェーハの有無を明確に検知することができる。したがって、たとえば、ウェーハ保持パッドによって保持することが困難なウェーハ100がガラステーブル21に残されているにも関わらず、連続加工が再開されて、このウェーハ100にシートSが重ねて配置され、さらにシートS上に液状樹脂が供給されて、ウェーハ100、シートSおよび液状樹脂が無駄になってしまうことを抑制することができる。
【選択図】図3
特許請求の範囲
【請求項1】
ウェーハの一方の面よりも広い面積のシートを載置するためのガラステーブルと、
該ガラステーブルの上方でウェーハを保持する保持テーブルと、
該ガラステーブルに載置された該シートに紫外線硬化型の液状樹脂を供給する液状樹脂供給部と、
該ガラステーブルと該保持テーブルとを相対的に接近させることによって、ウェーハの一方の面の全面に該液状樹脂を押し広げる昇降機構と、
該ガラステーブル側から該液状樹脂に紫外線を照射することによって、硬化された該液状樹脂からなる保護部材をウェーハの一方の面に形成するUV光源と、
該保護部材が形成されたウェーハを該ガラステーブルから搬送するウェーハ搬送機構と、を備える保護部材形成装置であって、
該UV光源から照射されて該ガラステーブルを透過する紫外線の光量を測定する光量測定部と、
該光量測定部によって測定された光量が所定の閾値以下であることによって、該ガラステーブルにウェーハがあることを検知する検知部と、
をさらに備える、保護部材形成装置。
続きを表示(約 500 文字)
【請求項2】
該検知部が該ガラステーブルにウェーハがあることを検知した場合に、該ガラステーブルにウェーハがあることを作業者に通知する通知部をさらに備える、
請求項1に記載の保護部材形成装置。
【請求項3】
請求項1記載の保護部材形成装置を用いた保護部材の形成方法であって、
ウェーハの一方の面に保護部材を形成する保護部材形成工程と、
該保護部材形成工程の停止中に実施される、該UV光源から照射されて該ガラステーブルを透過する紫外線の光量を該光量測定部によって測定し、測定された光量に基づいて該ガラステーブルにおけるウェーハの有無を該検知部によって検知するウェーハ検知工程と、を含み、
該ウェーハ検知工程において該検知部によって該ガラステーブルにウェーハが有ることが検知された場合に、該保護部材形成装置の通知部によって作業者にウェーハが有ることを通知する通知工程が実施される一方、
該ウェーハ検知工程において該検知部によって該ガラステーブルにウェーハが無いことが検知された場合に、該保護部材形成工程が実施される、
保護部材の形成方法。
発明の詳細な説明
【技術分野】
【0001】
本発明は、保護部材形成装置および保護部材の形成方法に関する。
続きを表示(約 1,400 文字)
【背景技術】
【0002】
特許文献1および2に開示のように、インゴットをスライスしてスライスウェーハを形成し、その両面を研削してウェーハを製造するウェーハの製造工程がある。この工程において、スライスウェーハの一方の面を研削する際に、他方の面に、液状樹脂を拡張および硬化させることによって保護部材を形成している。
【0003】
この保護部材を形成する保護部材形成装置では、ガラスステージの上にシートを配置し、そのシートの上に液状樹脂を供給して、その液状樹脂をウェーハで押し広げて硬化させることによって、ウェーハに保護部材を形成する。
【0004】
その後、保護部材が形成されたウェーハは、ウェーハ搬送機構によって吸引保持されて、ガラスステージからカットステージに搬送される。そして、カットステージ上で、ウェーハの外周に沿って円形にシートがカットされる。
【先行技術文献】
【特許文献】
【0005】
特開2010-155297号公報
特開2020-188230号公報
【発明の概要】
【発明が解決しようとする課題】
【0006】
上述した保護部材形成装置のウェーハ搬送機構は、例えば、ウェーハの反りやうねりが大きいために、ウェーハを吸引保持することが困難となり、ガラスステージからウェーハを搬出することが困難なことがある。
【0007】
このような状態のとき、ガラスステージからウェーハを取り除く旨のメッセージを、タッチパネルに表示して、作業者に通知している。
【0008】
しかし、作業者がウェーハを取り除くことなく、保護部材形成が続行されることがある。この場合、ガラスステージに残されているウェーハの上に、さらにシートが載置されることなどによって、ウェーハ、シートおよび液状樹脂が無駄になる可能性がある。
【0009】
したがって、本発明の目的は、ウェーハに保護部材を形成する際、ガラスステージ上にウェーハが残っているか否かを良好に検知することにある。
【課題を解決するための手段】
【0010】
本発明の保護部材形成装置(本保護部材形成装置)は、ウェーハの一方の面よりも広い面積のシートを載置するためのガラステーブルと、該ガラステーブルの上方でウェーハを保持する保持テーブルと、該ガラステーブルに載置された該シートに紫外線硬化型の液状樹脂を供給する液状樹脂供給部と、該ガラステーブルと該保持テーブルとを相対的に接近させることによって、ウェーハの一方の面の全面に該液状樹脂を押し広げる昇降機構と、該ガラステーブル側から該液状樹脂に紫外線を照射することによって、硬化された該液状樹脂からなる保護部材をウェーハの一方の面に形成するUV光源と、該保護部材が形成されたウェーハを該ガラステーブルから搬送するウェーハ搬送機構と、を備える保護部材形成装置であって、該UV光源から照射されて該ガラステーブルを透過する紫外線の光量を測定する光量測定部と、該光量測定部によって測定された光量が所定の閾値以下であることによって、該ガラステーブルにウェーハがあることを検知する検知部と、をさらに備える。
(【0011】以降は省略されています)
この特許をJ-PlatPat(特許庁公式サイト)で参照する
関連特許
株式会社ディスコ
ノズル
16日前
株式会社ディスコ
フレーム
16日前
株式会社ディスコ
研削装置
2日前
株式会社ディスコ
切削装置
9日前
株式会社ディスコ
加工装置
25日前
株式会社ディスコ
研磨装置
3日前
株式会社ディスコ
加工装置
18日前
株式会社ディスコ
加工装置
16日前
株式会社ディスコ
加工方法
17日前
株式会社ディスコ
切削装置
16日前
株式会社ディスコ
診断方法
6日前
株式会社ディスコ
搬送システム
2日前
株式会社ディスコ
加工水供給装置
9日前
株式会社ディスコ
シート貼着装置
17日前
株式会社ディスコ
ノズルユニット
6日前
株式会社ディスコ
ブレーキング装置
2日前
株式会社ディスコ
チャックテーブル
26日前
株式会社ディスコ
接合強度検査方法
26日前
株式会社ディスコ
液体供給システム
16日前
株式会社ディスコ
ドレッシング方法
1か月前
株式会社ディスコ
切削ブレード治具
6日前
株式会社ディスコ
ウエーハの加工方法
27日前
株式会社ディスコ
洗浄液供給システム
26日前
株式会社ディスコ
ウェーハの製造方法
24日前
株式会社ディスコ
被加工物の加工方法
16日前
株式会社ディスコ
被加工物の加工方法
24日前
株式会社ディスコ
切削方法及び切削装置
24日前
株式会社ディスコ
洗浄装置及び洗浄方法
1か月前
株式会社ディスコ
洗浄装置及び洗浄方法
3日前
株式会社ディスコ
積層ウェーハの加工方法
6日前
株式会社ディスコ
搬送機構および搬送方法
3日前
株式会社ディスコ
押圧試験装置の評価方法
16日前
株式会社ディスコ
貼り合わせ基板の加工方法
16日前
株式会社ディスコ
廃液処理装置及び洗浄方法
18日前
株式会社ディスコ
切削ブレードのドレス方法
24日前
株式会社ディスコ
異常予知方法及び加工装置
27日前
続きを見る
他の特許を見る