TOP
|
特許
|
意匠
|
商標
特許ウォッチ
Twitter
他の特許を見る
10個以上の画像は省略されています。
公開番号
2025137561
公報種別
公開特許公報(A)
公開日
2025-09-19
出願番号
2025115671,2024065845
出願日
2025-07-09,2018-10-23
発明の名称
画像処理装置
出願人
ブラザー工業株式会社
代理人
個人
主分類
H04N
1/00 20060101AFI20250911BHJP(電気通信技術)
要約
【課題】一の識別情報に複数の選択キーが対応づけられている場合におけるユーザ操作の利便性の向上を図ることができる、画像処理装置、画面表示方法およびプログラムを提供する。
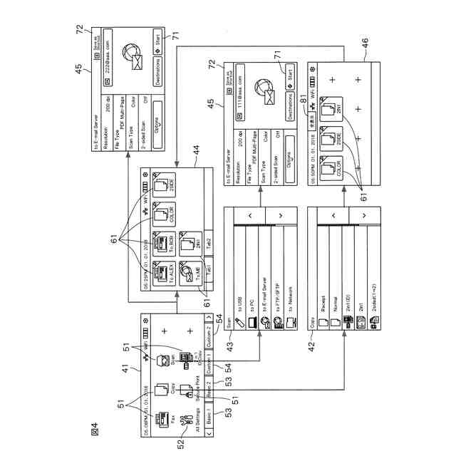
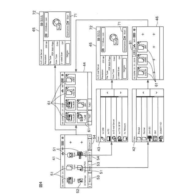
【解決手段】操作パネルにホーム画面41が表示されている状態でICカードのカード番号が読み取られた場合には、その読み取られたカード番号に対応づけられた全登録データに対応するショートカットキー61を含むショートカット表示画面44が操作パネルに表示される。また、操作パネルに特定の機能に関するコピーモード画面42、スキャンモード画面43またはファックスモード画面が表示されている状態でICカードのカード番号が読み取られた場合には、特定の機能に関する設定が含まれる登録データに対応するショートカットキー61を含む機能限定ショートカット表示画面46が操作パネルに表示される。
【選択図】図4
特許請求の範囲
【請求項1】
複数の機能を実行可能な画像処理装置であって、
前記複数の機能を選択的に実行する機能実行部と、
外部の媒体から識別情報を読み取る情報読取部と、
表示部と、
記憶部と、
制御部と、を備え、
前記記憶部は、
前記識別情報に対応づけて、N(N:2以上の正の整数)個の選択キーを含む第1画面に係る第1表示情報と、
前記識別情報に対応づけて、M(M:Nより小さい正の整数)個の選択キーを含む第2画面に係る第2表示情報と、を記憶し、
前記制御部は、
前記情報読取部が前記媒体から前記識別情報を読み取るときに前記表示部が待機画面を表示していると判断する場合、当該識別情報に対応づけて前記記憶部に記憶されている前記第1表示情報に基づいて、前記第1画面を前記表示部に表示させ、
前記情報読取部が前記媒体から前記識別情報が読み取るときに前記表示部が前記複数の機能のうちの特定の機能に関する画面を表示していると判断する場合、当該識別情報に対応づけて前記記憶部に記憶されている前記第2表示情報に基づいて、前記第2画面を前記表示部に表示させる、画像処理装置。
続きを表示(約 1,500 文字)
【請求項2】
請求項1に記載の画像処理装置であって、
前記M個の選択キーは、前記N個の選択キーに含まれる、画像処理装置。
【請求項3】
請求項1または2に記載の画像処理装置であって、
前記M個の選択キーは、前記特定の機能に関する入力のために選択的に操作されるキーを含む、画像処理装置。
【請求項4】
請求項1~3のいずれか一項に記載の画像処理装置であって、
前記特定の機能は、シートから画像を読取るスキャン機能、シートへ画像を形成するプリント機能の少なくとも一つである、画像処理装置。
【請求項5】
請求項1~4のいずれか一項に記載の画像処理装置であって、
前記待機画面は、前記第1画面及び前記第2画面より上位階層の画面である、画像処理装置。
【請求項6】
請求項1~4のいずれか一項に記載の画像処理装置であって、
前記待機画面は、前記複数の機能を選択するための選択キーを含む、画像処理装置。
【請求項7】
請求項1~6のいずれか一項に記載の画像処理装置であって、
前記情報読取部は、無線通信により、前記媒体から識別情報を読取る、画像処理装置。
【請求項8】
複数の機能を選択的に実行する機能実行部と、
外部の媒体から識別情報を読み取る情報読取部と、
前記識別情報に対応づけて、N(N:2以上の正の整数)個の選択キーを含む第1画面に係る第1表示情報と、前記識別情報に対応づけて、M(M:Nより小さい正の整数)個の選択キーを含む第2画面に係る第2表示情報とを記憶する記憶部と、
表示部と、を備える画像処理装置で実行される画面表示方法であって、
前記情報読取部が前記媒体から前記識別情報を読み取るときに前記表示部が待機画面を表示している場合、当該識別情報に対応づけて前記記憶部に記憶されている前記第1表示情報に基づいて、前記第1画面を前記表示部に表示し、
前記情報読取部が前記媒体から前記識別情報が読み取るときに前記表示部が前記複数の機能のうちの特定の機能に関する画面を表示している場合、当該識別情報に対応づけて前記記憶部に記憶されている前記第2表示情報に基づいて、前記第2画面を前記表示部に表示する、画面表示方法。
【請求項9】
複数の機能を選択的に実行する機能実行部と、
外部の媒体から識別情報を読み取る情報読取部と、
前記識別情報に対応づけて、N(N:2以上の正の整数)個の選択キーを含む第1画面に係る第1表示情報と、前記識別情報に対応づけて、M(M:Nより小さい正の整数)個の選択キーを含む第2画面に係る第2表示情報とを記憶する記憶部と、
表示部と、を備える画像形成装置のコンピュータにインストールされるプログラムであって、
前記コンピュータに、
前記情報読取部が前記媒体から前記識別情報を読み取るときに前記表示部が待機画面を表示していると判断する場合、当該識別情報に対応づけて前記記憶部に記憶されている前記第1表示情報に基づいて、前記第1画面を前記表示部に表示させる第1表示処理と、
前記情報読取部が前記媒体から前記識別情報が読み取るときに前記表示部が前記複数の機能のうちの特定の機能に関する画面を表示していると判断する場合、当該識別情報に対応づけて前記記憶部に記憶されている前記第2表示情報に基づいて、前記第2画面を前記表示部に表示させる第2表示処理と、を実行させる、プログラム。
発明の詳細な説明
【技術分野】
【0001】
本発明は、複合機(MFP:Multi-Function Peripheral)などの画像処理装置、画像処理装置で実行される画面表示方法、および画像処理装置のコンピュータにインストールされるプログラムに関する。
続きを表示(約 1,800 文字)
【背景技術】
【0002】
従来、スキャナやプリンタ、複合機などの画像処理装置には、ショートカット機能を有するものがある。ショートカット機能を有する画像処理装置では、スキャンなどの各種機能に関する設定が予め登録されて、機能の実行に際してその登録されている設定が呼び出される。
【0003】
この設定の情報の呼び出しに識別情報が記憶されたカードを用いる構成が提案されている(たとえば、特許文献1参照)。その構成では、機能に関する設定が識別情報と対応づけて登録されており、画像処理装置に備えられたカードリーダによりカードから識別情報が読み取られると、識別情報に対応づけられた設定が呼び出され、その設定に従って機能が実行される。
【先行技術文献】
【特許文献】
【0004】
特開2016-10059号公報
【発明の概要】
【発明が解決しようとする課題】
【0005】
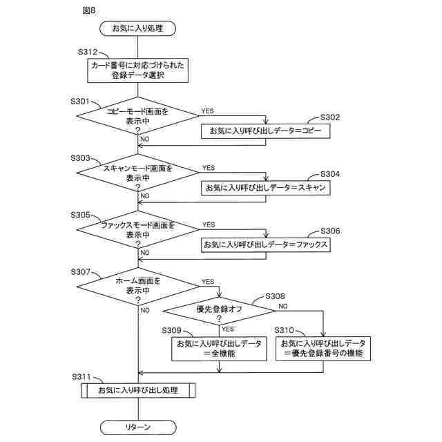
カードの識別情報と機能に関する設定とが一対一に対応づけられている場合、カードから識別情報が読み取られると、その識別情報に対応づけられた一の設定が読み出される。
【0006】
ところが、一の識別情報に複数の設定が対応づけられている場合には、その識別情報がカードから読み取られると、複数の設定が呼び出されるので、たとえば、各設定に対応するショートカットキーを表示器に表示させて、機能の実行に使用する設定をユーザに選択させる必要が生じる。この場合、一の識別情報に対応づけられている設定が多数であるほど、多数のショートカットキーが表示器に表示されるので、ユーザが多数のショートカットキーの中から所望する一のショートカットキーを選択するのに手間がかかり、ユーザの操作の利便性が悪い。
【0007】
本発明の目的は、一の識別情報に複数の選択キーが対応づけられている場合におけるユーザ操作の利便性の向上を図ることができる、画像処理装置、画面表示方法およびプログラムを提供することである。
【課題を解決するための手段】
【0008】
前記の目的を達成するため、本発明の一の局面に係る画像処理装置は、複数の機能を実行可能な画像処理装置であって、複数の機能を選択的に実行する機能実行部と、外部の媒体から識別情報を読み取る情報読取部と、表示部と、記憶部と、制御部と、を備え、記憶部は、識別情報に対応づけて、N(N:2以上の正の整数)個の選択キーを含む第1画面に係る第1表示情報と、識別情報に対応づけて、M(M:Nより小さい正の整数)個の選択キーを含む第2画面に係る第2表示情報と、を記憶し、制御部は、情報読取部が媒体から識別情報を読み取るときに表示部が待機画面を表示していると判断する場合、当該識別情報に対応づけて記憶部に記憶されている第1表示情報に基づいて、第1画面を表示部に表示させ、情報読取部が媒体から識別情報が読み取るときに表示部が複数の機能のうちの特定の機能に関する画面を表示していると判断する場合、当該識別情報に対応づけて記憶部に記憶されている第2表示情報に基づいて、第2画面を表示部に表示させる。
【0009】
この構成によれば、表示部に待機画面が表示されている状態で媒体の識別情報が読み取られた場合には、その読み取られた識別情報に対応づけられた第1表示情報に基づいて、N個の選択キーを含む第1画面が表示部に表示される。また、表示部に特定の機能に関する画面が表示されている状態で媒体の識別情報が読み取られた場合には、その読み取られた識別情報に対応づけられた第2表示情報に基づいて、N個よりも少ないM個の選択キーを含む第2画面が表示部に表示される。
【0010】
媒体の識別情報が読み取られたときに待機画面が表示部に表示されていた場合には、M個よりも多いN個の選択キーを含む第1画面が表示部に表示されるので、ユーザによる選択キーの選択の自由度が高い。一方、媒体の識別情報が読み取られたときに特定の機能に関する画面が表示部に表示されていた場合には、N個よりも少ないM個の選択キーを含む第2画面が表示部に表示されるので、ユーザによる一の選択キーの選択が容易である。
(【0011】以降は省略されています)
この特許をJ-PlatPat(特許庁公式サイト)で参照する
関連特許
ブラザー工業株式会社
情報処理プログラム及び情報処理装置
今日
ブラザー工業株式会社
トナーカートリッジのリサイクル方法
今日
個人
店内配信予約システム
2か月前
サクサ株式会社
中継装置
2か月前
WHISMR合同会社
収音装置
21日前
キヤノン株式会社
撮像装置
1か月前
キヤノン株式会社
電子機器
2か月前
アイホン株式会社
電気機器
15日前
キヤノン株式会社
撮像装置
3か月前
日本精機株式会社
画像投映システム
2か月前
キヤノン電子株式会社
画像読取装置
22日前
株式会社リコー
画像形成装置
1か月前
株式会社リコー
画像形成装置
1か月前
ヤマハ株式会社
信号処理装置
3か月前
株式会社リコー
画像形成装置
1か月前
個人
ワイヤレスイヤホン対応耳掛け
13日前
電気興業株式会社
無線中継器
3か月前
キヤノン電子株式会社
モバイル装置
2か月前
キヤノン株式会社
撮像システム
15日前
株式会社ニコン
撮像装置
2か月前
ブラザー工業株式会社
読取装置
1か月前
パテントフレア株式会社
水中電波通信法
1か月前
パテントフレア株式会社
超高速電波通信
29日前
国立大学法人電気通信大学
小型光学装置
1か月前
キヤノン電子株式会社
シート材搬送装置
1か月前
沖電気工業株式会社
画像形成装置
3日前
大日本印刷株式会社
写真撮影装置
14日前
DXO株式会社
情報処理システム
2か月前
株式会社松平商会
携帯機器カバー
24日前
株式会社小糸製作所
画像照射装置
1か月前
株式会社国際電気
遠隔監視システム
1か月前
個人
外部ヘッダ変換通信装置および通信網
3か月前
日本無線株式会社
無線通信システム
1か月前
株式会社JVCケンウッド
スピーカ
22日前
テックス通信株式会社
電話システム
2か月前
日本無線株式会社
無線通信システム
1か月前
続きを見る
他の特許を見る