TOP
|
特許
|
意匠
|
商標
特許ウォッチ
Twitter
他の特許を見る
10個以上の画像は省略されています。
公開番号
2025137767
公報種別
公開特許公報(A)
公開日
2025-09-19
出願番号
2025124225,2024536659
出願日
2025-07-24,2022-07-27
発明の名称
アクセラレータ状態制御装置、アクセラレータ状態制御方法およびプログラム
出願人
NTT株式会社
代理人
弁理士法人磯野国際特許商標事務所
主分類
G06F
9/50 20060101AFI20250911BHJP(計算;計数)
要約
【課題】変動する入力データ量に応じ、応答性を担保しつつ、各種アクセラレータの電力効率の高さを実現する。
【解決手段】アクセラレータ状態制御装置100は、アクセラレータ12にオフロードする処理量を予測し、予測結果をトラヒック量およびその変動幅として出力する入力量取得・予測部110と、アクセラレータ種別および機種の情報と、処理性能に応じた設定情報とを一覧情報として保持し、問い合わせに応じて一覧情報から取り出して応答する処理能力設定記録部150と、トラヒック量および変動幅と一覧情報に基づいて、アクセラレータの処理能力と変動時間の設定情報を判断するACC処理能力・消費電力設定判断部120と、ACC処理能力・消費電力設定判断部120が判断したアクセラレータ12への設定情報をもとに、アクセラレータ12に、設定情報を反映するACC処理能力・消費電力設定投入部130と、を備える。
【選択図】図1
特許請求の範囲
【請求項1】
アプリケーションの特定処理をアクセラレータにオフロードして演算処理する際に、アクセラレータの状態を制御するアクセラレータ状態制御装置であって、
前記アクセラレータにオフロードする処理量を予測し、予測結果をトラヒック量およびその変動幅として出力する予測部と、
アクセラレータ種別および機種の情報と、処理性能に応じた設定情報とを一覧情報として保持し、問い合わせに応じて前記一覧情報から取り出して応答する処理能力設定記録部と、
前記予測部から出力されたトラヒック量およびその変動幅と、前記処理能力設定記録部から読み出した前記一覧情報に基づいて、前記アクセラレータの処理能力と変動時間の設定情報を判断する判断部と、
前記判断部が判断した前記アクセラレータへの設定情報をもとに、前記アクセラレータに、当該設定情報を反映する設定投入部と、を備える
ことを特徴とするアクセラレータ状態制御装置。
発明の詳細な説明
【技術分野】
【0001】
本発明は、アクセラレータ状態制御装置、アクセラレータ状態制御システム、アクセラレータ状態制御方法およびプログラムに関する。
続きを表示(約 1,700 文字)
【背景技術】
【0002】
プロセッサの種別に応じて、得意(処理能力が高い)とするワークロードが異なる。汎用性の高いCPU(Central Processing Unit)に対し、CPUが苦手(処理能力が低い)とする並列度の高いワークロードを、高速かつ高効率に演算可能なFPGA(Field Programmable Gate Array)/(以下の説明において、「/」は「または」を表記する)GPU(Graphics Processing Unit)/ASIC(Application Specific Integrated Circuit)等のアクセラレータ(以下、適宜ACCという)がある。これらの異種プロセッサを組み合わせ、CPUの苦手とするワークロードをACCへオフロードして演算することで、総合的な演算時間や演算効率を向上させるオフロード技術の活用が進んでいる。
【0003】
vRAN(virtual Radio Access Network)等ではCPUのみでは性能が足りず要件を満たせない場合に、FPGAやGPUなどの高速演算可能なアクセラレータに一部の処理をオフロードすることが行われている。
ACCオフロードが行われる具体的ワークロードとしては、vRANにおける符号化/復号化処理(FEC:Forward Error Correction処理)、音声や映像のメディア処理、暗号化/復号化処理等が代表例として挙げられる。
【0004】
計算機システムにおいて、計算機(以下、アクセラレータ搭載サーバ)上に、汎用処理に対応したハードウェア(CPU)と特定の演算に特化したハードウェア(アクセラレータ)を搭載し、ソフトウェアの動作する汎用プロセッサからアクセラレータに対し一部の演算処理をオフロードする構成をとることがある。
【0005】
また、クラウドコンピューティングの進展に伴い、ユーザサイトに配備されたクライアントマシンから、ネットワーク(NW)を介して遠隔サイト(ユーザ近傍に位置するデータセンタなど)のサーバに対し、一部の演算量の大きな処理をオフロードすることで、クライアントマシンを単純な構成とすることが広まりつつある。
【0006】
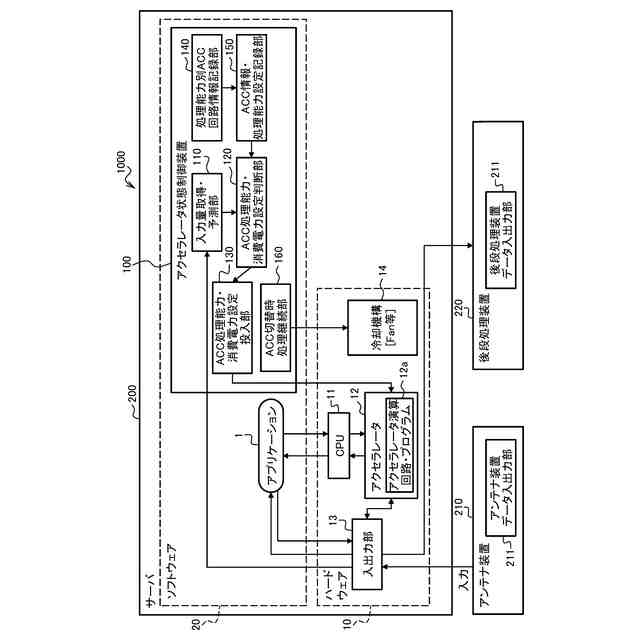
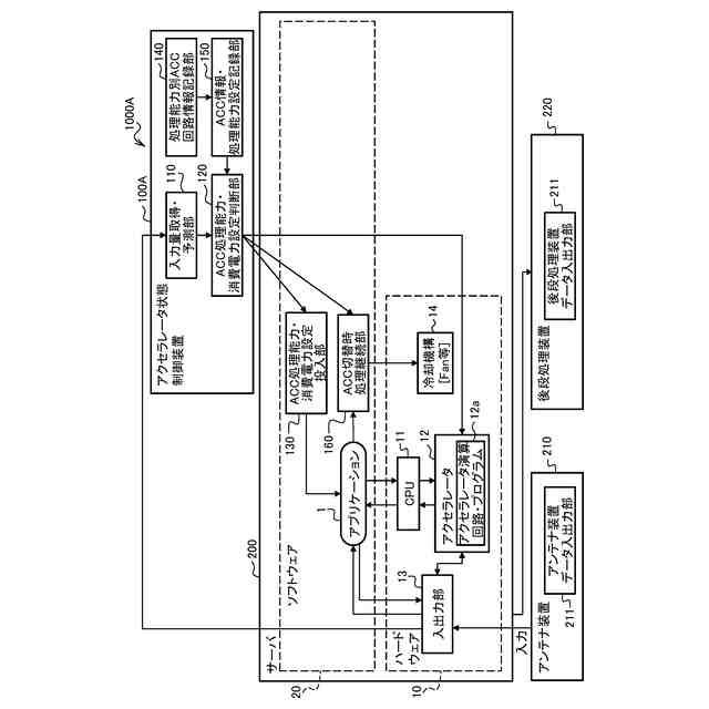
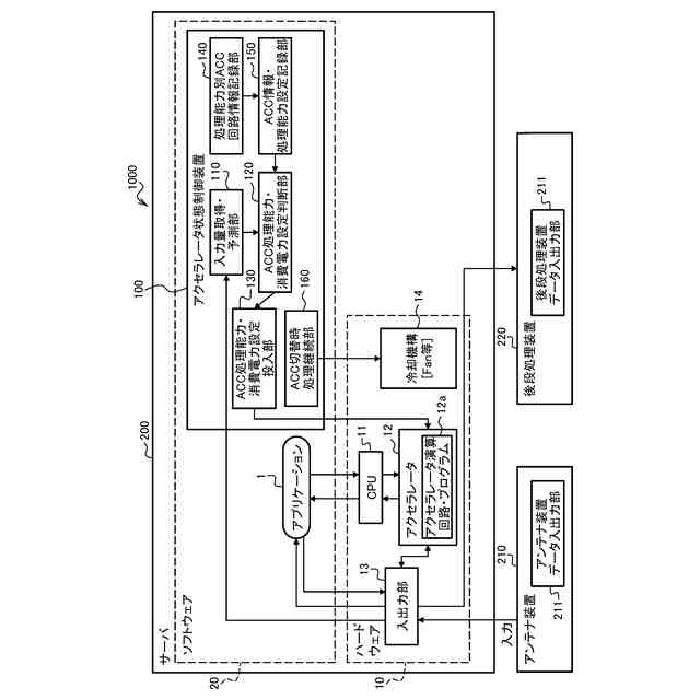
図17は、計算機システムを説明する図である。
図17に示すように、サーバ50は、ハードウェア10上にCPU11と、アクセラレータ演算回路・プログラム12aを有するアクセラレータ12と、入出力部13と、冷却機構(Fan等)14と、を搭載し、サーバ50上のCPU11上で動作するソフトウェア20のアプリケーション(以下、適宜APLという)1を備える。なお、冷却機構(Fan等)14は、図17のハードウェア10に搭載する例を示したが、ハードウェア10とは別のハードウェアに搭載されていてもよい。
【0007】
サーバ50は、外部からの入力データを受け付け、サーバ内部で演算処理を行った後に、外部に出力する。
【0008】
アプリケーション1は、標準として規定された関数群(API)を呼び出し、アクセラレータ12への一部処理のオフロードを行う。
【0009】
アクセラレータ12は、FPGA/GPU等の計算アクセラレータデバイスである。アクセラレータ12は、アクセラレータ演算回路・プログラム12aを有し、アクセラレータ演算回路・プログラム12aを用いて演算を行う。
なお、アクセラレータ12は、冷却用Fan故障などにより、一定の確率で故障が発生する。
入出力部13は、入力データを受け付け、出力する。
【0010】
図18は、サーバ50の入出力部13への入力データのトラヒック量の変動を説明する図である。
図18に示すように、入力データのトラヒック量は、時系列で変動する。例えば、RAN(Radio Access Network)における都市部トラヒックは、昼は多く、夜は少ない。
(【0011】以降は省略されています)
この特許をJ-PlatPat(特許庁公式サイト)で参照する
関連特許
NTT株式会社
光デバイス
21日前
NTT株式会社
圧力センサ
14日前
NTT株式会社
信号送信装置
22日前
NTT株式会社
光信号処理装置
23日前
NTT株式会社
推定装置及び推定方法
7日前
NTT株式会社
解析装置および解析方法
13日前
NTT株式会社
試験装置および試験方法
2か月前
NTT株式会社
分類装置、および分類方法
2か月前
NTT株式会社
量子計算装置、及び制御装置
1か月前
NTT株式会社
通信システム、及び通信方法
1か月前
NTT株式会社
音声抽出装置及び音声抽出方法
1か月前
NTT株式会社
光増幅器及び光増幅器監視方法
1か月前
NTT株式会社
足場を構築する施工方法及び治具
2か月前
NTT株式会社
検索装置、検索方法及びプログラム
21日前
NTT株式会社
無線通信方法及び無線通信システム
1か月前
NTT株式会社
交通量推定装置及び交通量推定方法
7日前
NTT株式会社
秘匿計算システム及び秘匿計算方法
21日前
NTT株式会社
映像処理装置、方法及びプログラム
3日前
NTT株式会社
秘匿計算システム及び秘匿計算方法
21日前
NTT株式会社
推論装置、推論方法、及びプログラム
1か月前
NTT株式会社
イオン伝送装置、及びイオン伝送方法
23日前
NTT株式会社
光ファイバの群遅延時間測定システム
13日前
NTT株式会社
情報処理装置、方法およびプログラム
21日前
NTT株式会社
データ解析装置、方法およびプログラム
21日前
NTT株式会社
生成システム、生成装置、および生成方法
1か月前
NTT株式会社
単一光子生成装置、及び単一光子生成方法
1か月前
NTT株式会社
情報処理装置、情報処理方法及びプログラム
1か月前
NTT株式会社
情報処理装置、情報処理方法及びプログラム
1か月前
NTT株式会社
置局設計装置、置局設計方法及びプログラム
1か月前
NTT株式会社
周期検出装置、周期検出方法及びプログラム
1か月前
NTT株式会社
量子計算装置、量子計算方法、及びプログラム
2か月前
NTT株式会社
配送計画装置、配送計画方法、及びプログラム
1か月前
NTT株式会社
通信制御システム、通信制御方法及びプログラム
1か月前
NTT株式会社
移動ロボット、移動量推定方法、及びプログラム
1か月前
NTT株式会社
推論装置、学習装置、推論方法、及びプログラム
13日前
NTT株式会社
修辞構造解析装置、修辞構造解析方法及びプログラム
1か月前
続きを見る
他の特許を見る