TOP
|
特許
|
意匠
|
商標
特許ウォッチ
Twitter
他の特許を見る
10個以上の画像は省略されています。
公開番号
2025137996
公報種別
公開特許公報(A)
公開日
2025-09-25
出願番号
2024036595
出願日
2024-03-11
発明の名称
ウエハステージ冷却システム
出願人
三菱重工業株式会社
代理人
SSIP弁理士法人
主分類
H01L
21/3065 20060101AFI20250917BHJP(基本的電気素子)
要約
【課題】簡易な構成でもってウエハステージを効率的に冷却できるウエハステージ冷却システムを提供する。
【解決手段】ウエハステージ冷却システムは、プラズマエッチングの対象となる半導体ウエハを支持するウエハステージを冷却するためのウエハステージ冷却システムであって、第1冷媒が循環するように構成された第1冷却装置と、第1冷媒と第2冷媒との間で熱交換が行わるように構成された熱交換器と、熱交換器とウエハステージとの間を循環する第2冷媒が封入されたヒートパイプラインとを備え、ヒートパイプラインは、第1冷媒との熱交換によって第2冷媒が気相状態から液相状態に凝縮するための凝縮部と、液相状態の第2冷媒がウエハステージの冷却を通じて蒸発するための蒸発部と、凝縮部と蒸発部との間で第2冷媒を循環させる少なくとも1つの循環ラインとを含む。
【選択図】図1
特許請求の範囲
【請求項1】
プラズマエッチングの対象となる半導体ウエハを支持するウエハステージを冷却するためのウエハステージ冷却システムであって、
第1冷媒が循環するように構成された第1冷却装置と、
前記第1冷媒と第2冷媒との間で熱交換が行わるように構成された熱交換器と、
前記熱交換器と前記ウエハステージとの間を循環する前記第2冷媒が封入されたヒートパイプラインと
を備え、
前記ヒートパイプラインは、
前記第1冷媒との熱交換によって前記第2冷媒が気相状態から液相状態に凝縮するための凝縮部と、
前記液相状態の前記第2冷媒が前記ウエハステージの冷却を通じて蒸発するための蒸発部と、
前記凝縮部と前記蒸発部との間で前記第2冷媒を循環させる少なくとも1つの循環ラインと、
を含む
ウエハステージ冷却システム。
続きを表示(約 1,300 文字)
【請求項2】
前記凝縮部が前記蒸発部よりも鉛直方向の上側に位置し、
前記ヒートパイプラインは、前記液相状態の前記第2冷媒が自重によって前記凝縮部から前記蒸発部まで移動するサーモサイフォン型のヒートパイプである
請求項1に記載のウエハステージ冷却システム。
【請求項3】
前記少なくとも1つの循環ラインの各々は、
前記凝縮部と前記蒸発部とに接続する単一の配管ラインを含み、
前記単一の配管ラインは、前記凝縮部から前記蒸発部までの前記第2冷媒の液相流路を規定すると共に、前記蒸発部から前記凝縮部までの前記第2冷媒の気相流路を規定する
請求項1または2に記載のウエハステージ冷却システム。
【請求項4】
前記蒸発部は、前記ウエハステージの内部に形成される内部流路である
請求項1または2に記載のウエハステージ冷却システム。
【請求項5】
前記内部流路は、平面視にて渦巻き状に形成され、
前記少なくとも1つの循環ラインは、複数の前記配管ラインを含み、
前記複数の配管ラインは、平面視において互いに異なる位置にて前記内部流路に接続されている
請求項4に記載のウエハステージ冷却システム。
【請求項6】
前記ウエハステージは、
前記半導体ウエハが載置される載置部と、
前記載置部を支持すると共に、前記載置部よりも高い放熱性を有するヒートシンク部と、
を含み、
前記内部流路は、前記ヒートシンク部の内部に形成されている
請求項4に記載のウエハステージ冷却システム。
【請求項7】
半導体工場のプロセスガスとして利用されるための液化ガスが流れる液化ガスラインをさらに備え、
前記熱交換器は、第3冷媒としての前記液化ガスと、前記第2冷媒との間の熱交換によって、前記第2冷媒を冷却するように構成されている
請求項1または2に記載のウエハステージ冷却システム。
【請求項8】
前記第1冷却装置は、
前記第1冷媒が循環するための第1冷媒循環ラインと、
前記第1冷媒循環ライン上に配置される圧縮機、膨張タービン、および熱交換部と、
を含み、
前記熱交換部は、前記膨張タービンによって排出される前記膨張した前記第1冷媒を前記熱交換器内に導入するように構成されている
請求項1または2に記載のウエハステージ冷却システム。
【請求項9】
半導体工場のプロセスガスとして利用されるための液化ガスが流れる液化ガスラインと、
前記膨張タービンから前記熱交換部に向かって流れる前記第1冷媒と、前記液化ガスラインを流れる前記液化ガスとの間の熱交換によって、前記第1冷媒を冷却するように構成された冷却用熱交換器と、
をさらに備える
請求項8に記載のウエハステージ冷却システム。
【請求項10】
前記第1冷却装置は、前記第1冷媒が気相状態を維持して前記第1冷媒循環ラインを循環するように構成されている
請求項8に記載のウエハステージ冷却システム。
発明の詳細な説明
【技術分野】
【0001】
本開示は、ウエハステージを冷却するためのウエハステージ冷却システムに関する。
続きを表示(約 2,200 文字)
【背景技術】
【0002】
半導体プラントの製造工程には、半導体ウエハ上に深溝を形成するためのエッチング加工工程が含まれる。エッチング加工中の半導体ウエハの温度は極低温に維持される必要がある。その具体的な手段の一例が特許文献1に開示されている。同文献では、半導体ウエハを支持するウエハステージを冷却するためのフロン冷媒が循環する冷媒配管と、フロン冷媒を冷却する冷却器が組み込まれた冷凍サイクルとが開示されている。冷凍サイクルによって冷却された極低温のフロン冷媒はウエハステージに供給されて、ウエハステージの温度は極低温に維持される(特許文献1の図3(b)参照)。
【先行技術文献】
【特許文献】
【0003】
特開2005-079539号公報
【発明の概要】
【発明が解決しようとする課題】
【0004】
半導体の微細化、高積層化、および3次元化に伴い、昨今では深溝の更なる微細化が求められるようになっており、エッチング加工中の半導体ウエハの温度も更に極低温にされることが求められるようになっている。これを実現するためには、簡易な構成でもってウエハステージを効率的に冷却することが好ましい。
【0005】
本開示の目的は、簡易な構成でもってウエハステージを効率的に冷却できるウエハステージ冷却システムを提供することである。
【課題を解決するための手段】
【0006】
本開示の少なくとも一実施形態に係るウエハステージ冷却システムは、
プラズマエッチングの対象となる半導体ウエハを支持するウエハステージを冷却するためのウエハステージ冷却システムであって、
第1冷媒が循環するように構成された第1冷却装置と、
前記第1冷媒と第2冷媒との間で熱交換が行わるように構成された熱交換器と、
前記熱交換器と前記ウエハステージとの間を循環する前記第2冷媒が封入されたヒートパイプラインと
を備え、
前記ヒートパイプラインは、
前記第1冷媒との熱交換によって前記第2冷媒が気相状態から液相状態に凝縮するための凝縮部と、
前記液相状態の前記第2冷媒が前記ウエハステージの冷却を通じて蒸発するための蒸発部と、
前記凝縮部と前記蒸発部との間で前記第2冷媒を循環させる少なくとも1つの循環ラインと、
を含む。
【発明の効果】
【0007】
本開示によれば、簡易な構成でもってウエハステージを効率的に冷却できるウエハステージ冷却システムを提供できる。
【図面の簡単な説明】
【0008】
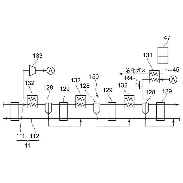
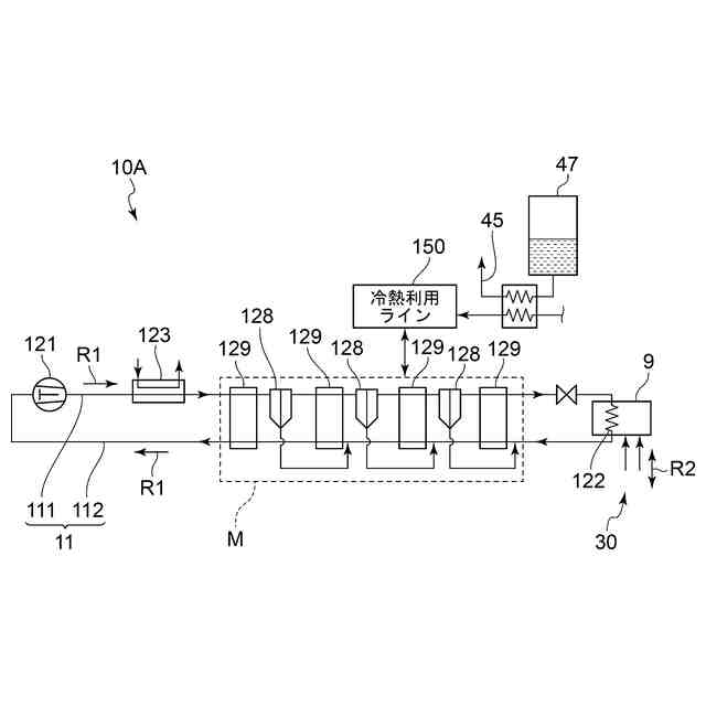
一実施形態に係るウエハステージ冷却システムの概略図である。
一実施形態に係る第1冷却装置の概略図である。
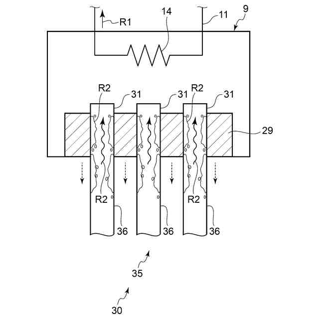
一実施形態に係る凝縮部の概略図である。
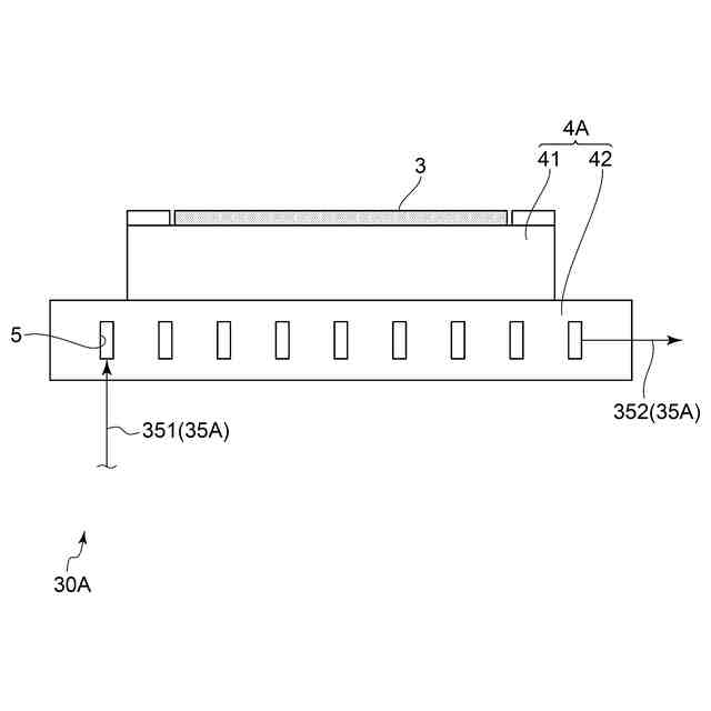
一実施形態に係るウエハステージの概略的な断面図である。
変形例に係るヒートパイプラインの概略図である。
変形例に係るウエハステージの概略図である。
追加的な構成要素を備えた第1冷却装置の概略図である。
変形例に係る第1冷却装置の概略図である。
図8の部分拡大図である。
他の実施形態に係るウエハステージ冷却システムの概略図である。
変形例に係るウエハステージ冷却システムの概略図である。
半導体工場に組み込まれる熱サイクルの基本概念図である。
【発明を実施するための形態】
【0009】
以下、添付図面を参照して本開示の幾つかの実施形態について説明する。ただし、実施形態として記載されている又は図面に示されている構成部品の寸法、材質、形状、その相対的配置等は、本開示の範囲をこれに限定する趣旨ではなく、単なる説明例にすぎない。
例えば、「ある方向に」、「ある方向に沿って」、「平行」、「直交」、「中心」、「同心」或いは「同軸」等の相対的或いは絶対的な配置を表す表現は、厳密にそのような配置を表すのみならず、公差、若しくは、同じ機能が得られる程度の角度や距離をもって相対的に変位している状態も表すものとする。
例えば、「同一」、「等しい」及び「均質」等の物事が等しい状態であることを表す表現は、厳密に等しい状態を表すのみならず、公差、若しくは、同じ機能が得られる程度の差が存在している状態も表すものとする。
例えば、四角形状や円筒形状等の形状を表す表現は、幾何学的に厳密な意味での四角形状や円筒形状等の形状を表すのみならず、同じ効果が得られる範囲で、凹凸部や面取り部等を含む形状も表すものとする。
一方、一の構成要素を「備える」、「含む」、又は、「有する」という表現は、他の構成要素の存在を除外する排他的な表現ではない。
なお、同様の構成については同じ符号を付し説明を省略することがある。
【0010】
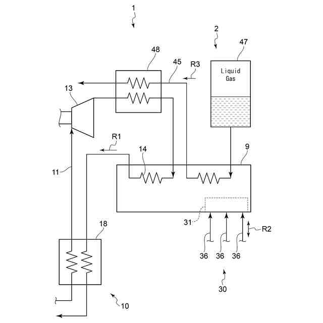
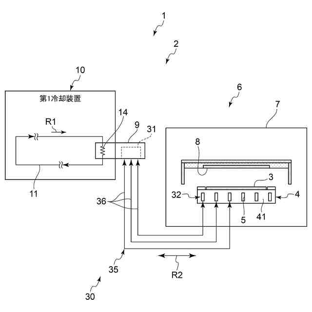
<ウエハステージ冷却システム2の概要>
図1は、本開示の一実施形態に係る半導体工場1に組み込まれたウエハステージ冷却システム2の概略図である。ウエハステージ冷却システム2は、半導体ウエハ3をプラズマエッチングの対象とするプラズマ処理装置6を備える。
(【0011】以降は省略されています)
この特許をJ-PlatPat(特許庁公式サイト)で参照する
関連特許
三菱重工業株式会社
加圧容器
29日前
三菱重工業株式会社
回転機械
29日前
三菱重工業株式会社
清掃装置
今日
三菱重工業株式会社
容器解体装置
3日前
三菱重工業株式会社
排熱システム
29日前
三菱重工業株式会社
搬送システム
1か月前
三菱重工業株式会社
位置計測方法
1か月前
三菱重工業株式会社
冷却システム
1か月前
三菱重工業株式会社
水素製造装置
1か月前
三菱重工業株式会社
フォークリフト
1か月前
三菱重工業株式会社
コールドプレート
29日前
三菱重工業株式会社
排熱回収システム
22日前
三菱重工業株式会社
コンプレッサ装置
29日前
三菱重工業株式会社
放射性物質移送容器
27日前
三菱重工業株式会社
炉内構造物の解体方法
3日前
三菱重工業株式会社
造形プロセスの監視方法
7日前
三菱重工業株式会社
推進薬プラントシステム
1か月前
三菱重工業株式会社
炭化炉及びその制御方法
1か月前
三菱重工業株式会社
ウエハステージ冷却システム
7日前
三菱重工業株式会社
計測装置、及び積層造形装置
21日前
三菱重工業株式会社
計測装置、及び積層造形装置
21日前
三菱重工業株式会社
水素供給システムおよび方法
3日前
三菱重工業株式会社
情報処理装置および情報処理方法
1か月前
三菱重工業株式会社
燃料噴射装置および往復動内燃機関
1か月前
三菱重工業株式会社
昇圧ポンプおよび流体供給システム
1か月前
三菱重工業株式会社
蒸気生成システム及び蒸気生成方法
今日
三菱重工業株式会社
ガス処理設備及びガス処理設備方法
1か月前
三菱重工業株式会社
自転防止機構、及びスクロール圧縮機
23日前
三菱重工業株式会社
積み付けパターン作成装置および方法
1か月前
三菱重工業株式会社
風車翼補修装置、及び、風車翼補修方法
1か月前
三菱重工業株式会社
アンモニア分解触媒および排ガス処理方法
22日前
三菱重工業株式会社
計画システム、計画方法およびプログラム
1か月前
三菱重工業株式会社
計画システム、計画方法およびプログラム
1か月前
三菱重工業株式会社
排気設備、及びこれを備えるガスタービン
1日前
三菱重工業株式会社
帯電除去装置、帯電除去方法及びプログラム
1か月前
三菱重工業株式会社
ガスタービン起動方法、及び、ガスタービン
13日前
続きを見る
他の特許を見る