TOP
|
特許
|
意匠
|
商標
特許ウォッチ
Twitter
他の特許を見る
10個以上の画像は省略されています。
公開番号
2025138296
公報種別
公開特許公報(A)
公開日
2025-09-25
出願番号
2024037308
出願日
2024-03-11
発明の名称
接続部材および木質構造
出願人
学校法人福岡大学
,
九州第一工業株式会社
,
岡部株式会社
代理人
個人
,
個人
,
個人
,
個人
,
個人
主分類
E04B
1/58 20060101AFI20250917BHJP(建築物)
要約
【課題】ボルトへのせん断力の集中を回避でき、かつ、木製部材の断面欠損をなるべく小さくできる接合金物と、それを用いた木質構造を提供する。
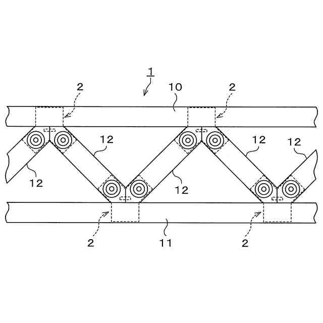
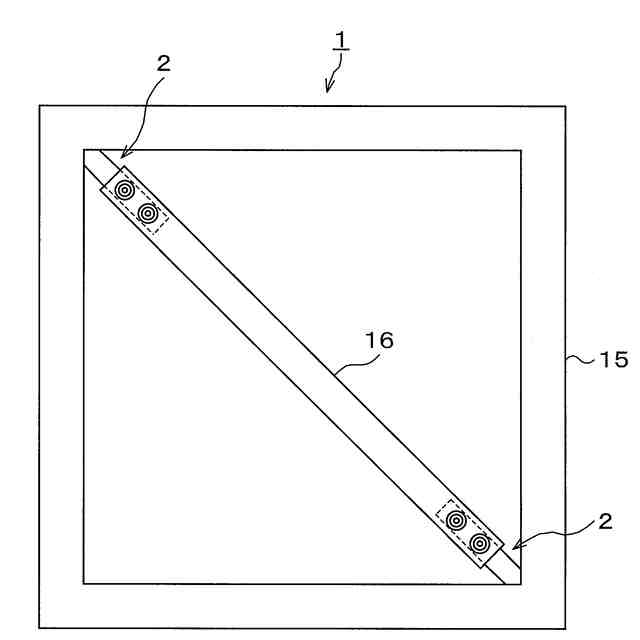
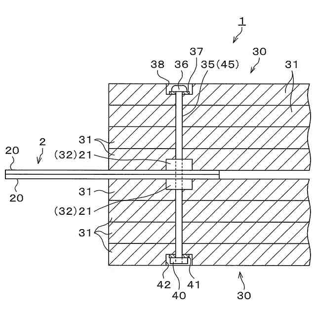
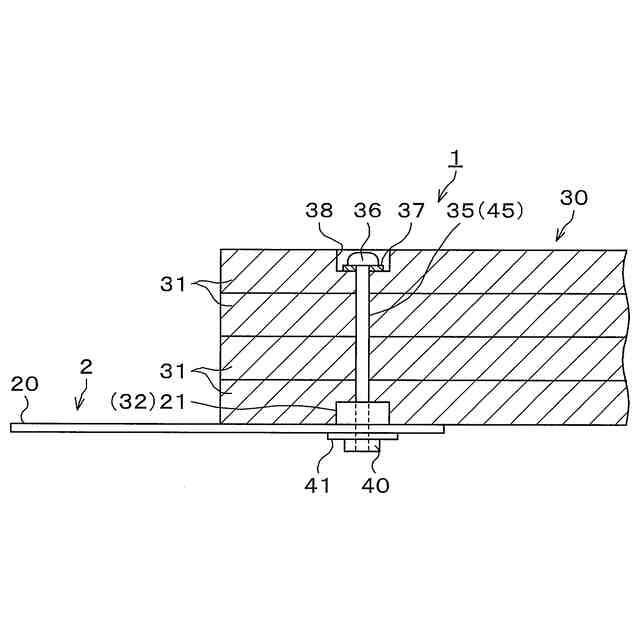
【解決手段】木質部材30同士、または、木質部材30と鋼部材またはコンクリート部材とを接続する接続部材2であって、木質部材30の側面に密着するプレート部分20と、プレート部分20から突起し、木質部材30の側面に形成された凹部32内に挿入される突起部分21を有する。突起部分21の表面が、凹部32の内面に接触しても良いし、突起部分21にキャップ部材60が取り付けられ、キャップ部材60の表面が凹部32の内面に接触しても良い。
【選択図】図3
特許請求の範囲
【請求項1】
木質部材同士、または、木質部材と鋼部材またはコンクリート部材とを接続する接続部材であって、
前記木質部材の側面に密着するプレート部分と、前記プレート部分から突起し、前記木質部材の側面に形成された凹部内に挿入される突起部分を有する、接続部材。
続きを表示(約 310 文字)
【請求項2】
前記突起部分の表面が、前記凹部の内面に接触する、請求項1に記載の接続部材。
【請求項3】
前記突起部分にキャップ部材が取り付けられ、前記キャップ部材の表面が前記凹部の内面に接触する、請求項1に記載の接続部材。
【請求項4】
前記突起部分がバーリング加工で形成されている、請求項1に記載の接続部材。
【請求項5】
前記突起部分が段抜き加工で形成されている、請求項1に記載の接続部材。
【請求項6】
請求項1~5の何れか一項に記載の接続部材を用いて木質部材同士、または、木質部材と鋼部材またはコンクリート部材とを接続した、木質構造。
発明の詳細な説明
【技術分野】
【0001】
本発明は、木質部材同士、または、木質部材と鋼部材またはコンクリート部材とを接続する接続部材に関し、更に、当該接続部材を用いて木質部材同士、または、木質部材と鋼部材またはコンクリート部材とを接続した木質構造に関する。
続きを表示(約 1,800 文字)
【背景技術】
【0002】
従来、鋼製部材と木製部材とを接合する技術としては、特願2006-2556号公報(以下、「先願技術」という。)がある。先願技術は、摩擦式シア部材底面と接合用鋼板との接触面圧を確保することができ、しかも鋼製部材と木製部材との間のせん断力によるずれを防止した耐久性の高い、鋼製部材と木製部材からなる複合部材、木製部材と鋼板との接合構造、木製部材と鋼板との接合方法、及び木製部材と鋼板との接合構造を備えた構造物を提供することを目的としている。
【0003】
先願技術の構成は、少なくとも1枚の鋼製部材に複数の木製部材又は集成材を締結ボルトで固定し、前記木製部材又は集成材が表面側に配置するようにし、各木製部材又は集成材に、少なくともシア部材を配置する部分の孔を孔軸方向に同内径とした円形の貫通孔を少なくとも1つ設け、その貫通孔に、その内径と同径か僅かに大きくした外径で軸方向全長にわたり同外径としたシア部材を配置すると共に前記鋼製部材に当接配置し、表面側に配置された木製部材又は集成材における前記貫通孔に配置されたシア部材の外側に押え部材が配置され、前記鋼製部材と各シア部材と各押え部材のボルト挿通孔に挿通配置した締結ボルトの締付け力により各シア部材を鋼製部材に圧着して摩擦接合すると共に、前記各押え部材により表面側の木製部材又は集成材のはずれ止めを図るようにしたことを特徴とする木製部材と鋼製部材からなる複合部材である。
【先行技術文献】
【特許文献】
【0004】
特願2006-2556号公報
【発明の概要】
【発明が解決しようとする課題】
【0005】
しかしながら、先願技術は、ボルトにせん断力(鋼製部材と木製部材との横ずれに抗する力)が集中する構成であり、ボルトを破損する恐れがあり、そのためにボルトを太くしなければならない。また、シア部材を木製部材に貫通させて設けているため、木製部材にシア部材と同等径の貫通孔を形成させる必要がある。そのため、貫通孔周りでの木製部材の断面欠損が大きくなり、木製部材自体の断面を大きくする必要がある。さらに、先願技術では、ボルト(ナット)が緩むと必要な摩擦力が得られなくなり、ボルトにせん断力が集中する可能性がある。
【0006】
本発明は、ボルトへのせん断力の集中を回避でき、かつ、木製部材の断面欠損をなるべく小さくできる接合金物と、それを用いた木質構造を提供することを目的とする。
【課題を解決するための手段】
【0007】
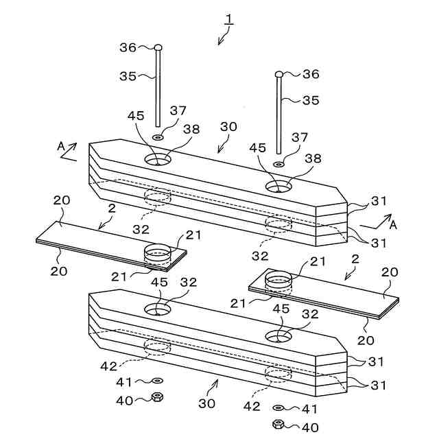
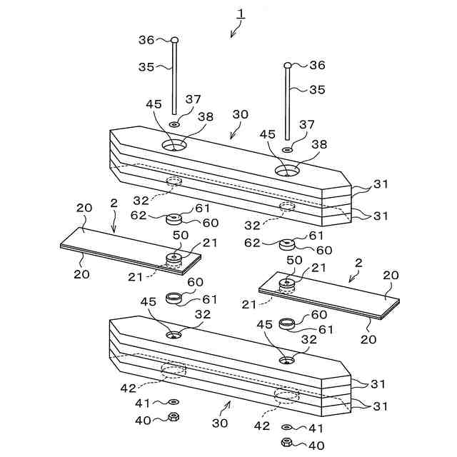
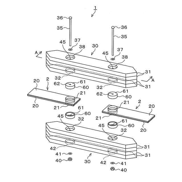
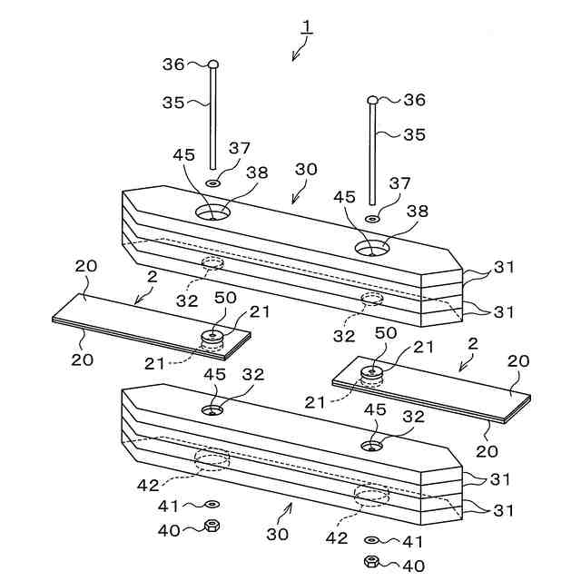
本発明によれば、木質部材同士、または、木質部材と鋼部材またはコンクリート部材とを接続する接続部材であって、前記木質部材の側面に密着するプレート部分と、前記プレート部分から突起し、前記木質部材の側面に形成された凹部内に挿入される突起部分を有する、接続部材が提供される。
【0008】
前記突起部分の表面が、前記凹部の内面に接触しても良い。また、前記突起部分にキャップ部材が取り付けられ、前記キャップ部材の表面が前記凹部の内面に接触しても良い。また、前記突起部分がバーリング加工で形成されていても良い。また、前記突起部分が段抜き加工で形成されていても良い。
【0009】
また本発明によれば、上記の接続部材を用いて木質部材同士、または、木質部材と鋼部材またはコンクリート部材とを接続した、木質構造が提供される。
【発明の効果】
【0010】
本発明によれば、接続部材のプレート部分に設けた突起部分の表面を、もしくは、突起部分に取り付けたキャップ部材の表面を、木質部材の側面に形成された凹部の内面に接触させることにより、接続部材と木質部材との間で生ずるせん断力に抗する力を、突起部分の表面と木質部材の凹部の内面との間、もしくは、キャップ部材の表面と木質部材の凹部の内面との間で支持することができ、ボルトへのせん断力の集中を回避できるようになる。また本発明によれば、木質部材の側面に形成された凹部が木質部材を貫通していないので、木質部材の断面欠損を小さく抑えることができ、木質部材の断面積を必要以上に大きくすることを回避できる。
【図面の簡単な説明】
(【0011】以降は省略されています)
この特許をJ-PlatPat(特許庁公式サイト)で参照する
関連特許
個人
接合構造
17日前
個人
屋台
1か月前
個人
タッチミー
16日前
個人
野良猫ハウス
1か月前
個人
安心補助てすり
今日
個人
転落防止用手摺
1か月前
積水樹脂株式会社
柵体
1か月前
ニチハ株式会社
建築板
1か月前
個人
ベンリナアングル
16日前
個人
居住車両用駐車場
1か月前
個人
筋交自動設定装置
24日前
個人
熱抵抗多層断熱建材
1か月前
個人
補強部材
1か月前
鹿島建設株式会社
壁体
1か月前
成友建設株式会社
建物
1か月前
個人
防災建築物
6日前
個人
身体用シェルター
24日前
個人
身体用シェルター
24日前
株式会社シンケン
住宅
1日前
三協立山株式会社
構造体
24日前
株式会社熊谷組
吊り治具
21日前
イワブチ株式会社
組立柱
1か月前
個人
可搬型供養墓
22日前
株式会社熊谷組
床構成材
14日前
株式会社熊谷組
木質材料
1か月前
三協立山株式会社
構造体
24日前
三協立山株式会社
構造体
24日前
三協立山株式会社
構造体
24日前
三協立山株式会社
構造体
24日前
三協立山株式会社
構造体
24日前
三洋工業株式会社
床構造
1日前
三協立山株式会社
構造体
1日前
株式会社エフコンサルタント
面材
24日前
鹿島建設株式会社
解体方法
6日前
アイジー工業株式会社
スターター
24日前
株式会社エフコンサルタント
面材
24日前
続きを見る
他の特許を見る