TOP
|
特許
|
意匠
|
商標
特許ウォッチ
Twitter
他の特許を見る
公開番号
2025140257
公報種別
公開特許公報(A)
公開日
2025-09-29
出願番号
2024039534
出願日
2024-03-14
発明の名称
スターター
出願人
アイジー工業株式会社
代理人
主分類
E04F
13/08 20060101AFI20250919BHJP(建築物)
要約
【課題】積雪地ではスターターと外装材のすき間に雪が入り込んでしまい、さらに外に積もった雪と繋がることにより多くの荷重がかかってしまい、スターターが変形してしまう恐れがある。雪が降らない時期においては、雨水等の排水機構を重視してスターターを設計してしまうと、排水孔が通行人から見えてしまい、建物の美観を損ねる恐れがあった。
【解決手段】本発明のスターター1では、地面に対して略垂直に固定面2を設け、固定面2の屋外側に載置面3、屋内側傾斜面4、底部5、屋外側傾斜面6、化粧面7および排水孔を設け、固定面2の屋内側には引っかけ部8、支持面9を設け、さらに積雪に対して充分な強度を持ち、屋外側から雨水等の排水機構が見えないことを特徴とする金属製外装材用のスターターである。
【選択図】図1
特許請求の範囲
【請求項1】
地面に対して略垂直に固定面を設け、
該固定面の途中に屋外側に向かって伸びる載置面を設け、
さらに該固定面の地面側の端部から屋外側に向かって屋内側傾斜面、底部、屋外側傾斜面を断面視略V字状に設け、
該屋外側傾斜面のさらに屋外側には化粧面を設けたことを特徴とするスターターであって、
該固定面の屋内側には引っかけ部および支持面を設けたことを特徴とする金属製外装材用のスターター。
続きを表示(約 70 文字)
【請求項2】
前記スターターの底部には複数の排水孔が設けられたことを特徴とする請求項1に記載の金属製外装材用のスターター。
発明の詳細な説明
【技術分野】
【0001】
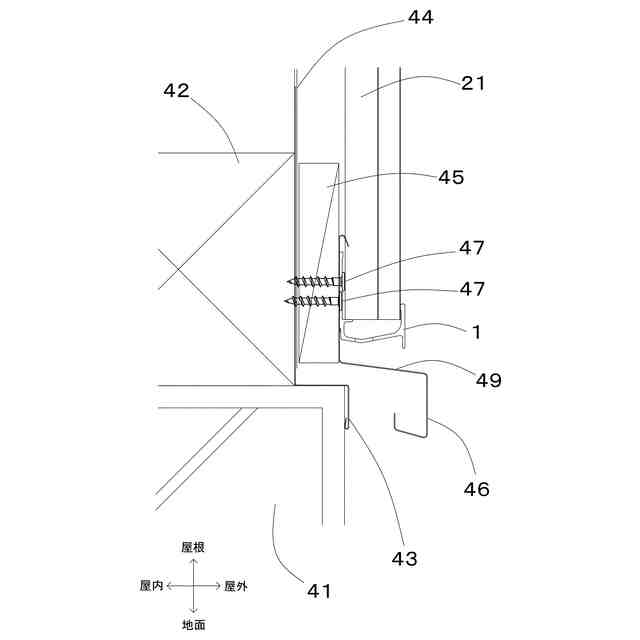
本発明は、積雪地域にて金属製外装材を縦張りする際に使用するスターターに関するものである。
続きを表示(約 1,600 文字)
【背景技術】
【0002】
金属製外装材の施工には、外装材の端部を覆うことができるスターターと呼ばれる部材を使用することが多い。スターターは主に、建物の土台部や1階と2階の縦継ぎ部等に使用される部材だが、積雪地では、積雪の影響を考慮した特殊なスターターを使用することがある。例えば特許文献1や2のように外装材端部の留め付けに使用される。
【先行技術文献】
【特許文献】
【0003】
特開2007-023571号公報
特開2017-172163号公報
【発明の概要】
【発明が解決しようとする課題】
【0004】
特許文献1には、雨水等の水抜きを効率的に行え、結露等も防ぐことができる通気機構を有するスターターが記載され、特に上下方向に外装材が隣接する場合について記載されている。上下方向に外装材が隣接するというのは、例えば、1階と2階の継ぎ目が発生する状況である。この状況の場合、スターターはあまり目立たないように外装材と同様の色味の物を使用することが多い。しかし、継ぎ目に使用されるスターターは特に通行人が見上げる位置に施工されるため、雨水等の排水を優先した形状にしてしまうと、排水孔が見えてしまい、せっかくの建物の美観を損ねる場合がある。
【0005】
特許文献2には、雪による前面部端部の変形が生じにくい見切り縁が記載され、雪が見切り縁に入らないように見切り縁と外装材のすき間をできるだけ抑えたスターターが記載されている。雪は凍結すると膨張するため、見切り縁のすき間に入って凍結すると、見切り縁を変形させることがある。しかし、雪が入らないように設計してしまうと、使用できる外装材の厚みを限定してしまいかねない。
さらに特許文献2のように、前面部側に支持部を設けると、万が一見切り縁と外装材間に雪や雨水等が入ってしまった場合、充分な排水経路を確保できない恐れがある。
【課題を解決するための手段】
【0006】
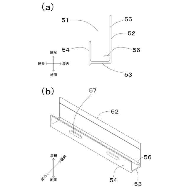
そこで本発明は、地面に対して略垂直に固定面を設け、該固定面の途中に屋外側に向かって伸びる載置面を設け、さらに該固定面の地面側の端部から屋外側に向かって屋内側傾斜面、底部、屋外側傾斜面を断面視略V字状に設け、該屋外側傾斜面のさらに屋外側には化粧面を設けたことを特徴とするスターターであって、該固定面の屋内側には引っかけ部および支持面を設けたことを特徴とする金属製外装材用のスターターを提供する。
【0007】
さらに本発明の態様として、上述の特徴に加えて、スターターの底部には複数の排水孔が設けられている。そのため、外装材とスターターのすき間に浸入した雪や雨水等は、底部に向かって流れるようにスムーズに排水することができる。
【0008】
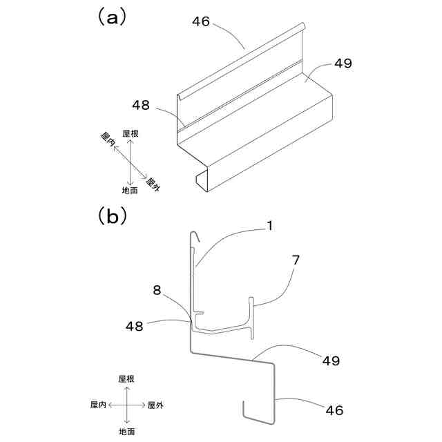
また、本発明では、引っかけ部が金属製外装材を施工する際に、水切りの突起部と当接するように設けられたスターターを提供する。
【発明の効果】
【0009】
本発明によれば、積雪地での雪による変形を防ぎ、建物の美観性を損なわない排水機構を構築することができる。
【図面の簡単な説明】
【0010】
本発明に係るスターターの断面図である。
本発明に係るスターターの斜視図である。
本発明に係るスターターを使用する金属製外装材の一実施例を示した断面図および斜視図である。
本発明に係るスターターを使用した土台部における一実施例の施工図である。
本発明に係るスターターを使用する水切りの一実施例の斜視図および施工例の部分拡大図である。
本発明に係るスターターの従来例を示した断面図および斜視図である。
【発明を実施するための形態】
【実施例】
(【0011】以降は省略されています)
この特許をJ-PlatPat(特許庁公式サイト)で参照する
関連特許
アイジー工業株式会社
スターター
8日前
個人
接合構造
1日前
個人
屋台
18日前
個人
タッチミー
今日
個人
野良猫ハウス
1か月前
個人
フェンス
1か月前
個人
転落防止用手摺
28日前
個人
筋交自動設定装置
8日前
個人
居住車両用駐車場
1か月前
個人
地下型マンション
3か月前
ニチハ株式会社
建築板
1か月前
積水樹脂株式会社
柵体
27日前
個人
ベンリナアングル
今日
個人
鋼管結合資材
3か月前
個人
熱抵抗多層断熱建材
1か月前
株式会社タナクロ
テント
3か月前
個人
柵
2か月前
個人
補強部材
1か月前
成友建設株式会社
建物
1か月前
個人
循環流水式屋根融雪装置
3か月前
鹿島建設株式会社
壁体
1か月前
個人
身体用シェルター
8日前
個人
身体用シェルター
8日前
三協立山株式会社
構造体
8日前
三協立山株式会社
構造体
8日前
三協立山株式会社
構造体
8日前
三協立山株式会社
構造体
8日前
三協立山株式会社
構造体
8日前
株式会社熊谷組
吊り治具
5日前
三協立山株式会社
構造体
8日前
インターマン株式会社
天井構造
1か月前
イワブチ株式会社
組立柱
27日前
個人
可搬型供養墓
6日前
株式会社熊谷組
木質材料
18日前
岡部株式会社
型枠緊結金具
3か月前
株式会社NejiLaw
継手構造
1か月前
続きを見る
他の特許を見る