TOP
|
特許
|
意匠
|
商標
特許ウォッチ
Twitter
他の特許を見る
10個以上の画像は省略されています。
公開番号
2025159981
公報種別
公開特許公報(A)
公開日
2025-10-22
出願番号
2024062901
出願日
2024-04-09
発明の名称
床構造
出願人
三洋工業株式会社
代理人
個人
主分類
E04F
15/024 20060101AFI20251015BHJP(建築物)
要約
【課題】床パネルを固定する木ネジ等の部材が床パネルの表面に現れることなく、また、床パネルを一枚ずつ簡単に支持脚に固定することができる床構造を提供すること。
【解決手段】本発明に係る床構造は、複数の支持(2)と、前記各支持脚(2)に角部が載せられ、支持される矩形床パネル(20)とから成る床構造であって、前記矩形床パネル(20)の角部底面に磁石又は磁性体を設け、前記支持脚(2)の上面に磁性体又は磁石を設け、
前記矩形床パネル(20)の角部を前記支持脚(2)の上面に載せた時に、矩形床パネル(20)に設けられた磁石又は磁性体と、支持脚(2)に設けられた磁性体又は磁石とが接触し、そのクーロン力により矩形床パネル(20)と支持脚(2)が固定されるようにしたことを特徴とする。
【選択図】図8
特許請求の範囲
【請求項1】
複数の支持脚(2)と、
前記各支持脚(2)に角部が載せられ、支持される矩形床パネル(20)と
から成る床構造であって、
前記矩形床パネル(20)の角部底面に磁石又は磁性体を設け、
前記支持脚(2)の上面に磁性体又は磁石を設け、
前記矩形床パネル(20)の角部を前記支持脚(2)の上面に載せた時に、矩形床パネル(20)に設けられた磁石又は磁性体と、支持脚(2)に設けられた磁性体又は磁石とが接触し、そのクーロン力により矩形床パネル(20)と支持脚(2)が固定されるようにした
ことを特徴とする床構造。
続きを表示(約 550 文字)
【請求項2】
前記矩形床パネル(20)に設けられた磁石又は磁性体が凸部又は凹部を形成し、
前記支持脚(2)に設けられた磁性体又は磁石が前記矩形床パネル(20)の凸部又は凹部が篏合可能な凹部又は凸部を形成する
ことを特徴とする請求項1に記載の床構造。
【請求項3】
前記支持脚(2)に非磁性体から成る板状パネル受け部(10)を設け、
前記矩形床パネル(20)に設けられた磁石又は磁性体が凸部を形成し、
前記板状パネル受け部(10)に、前矩形床パネル(20)の凸部が篏合可能な凹部が形成され、前記凹部に磁性体又は磁石を設けた
ことを特徴とする請求項1に記載の床構造。
【請求項4】
前記板状パネル受け部(10)が、その上面から上方に向けて突出する相互に90度の角度を成して配置された四つの固定板片(11)を備えている
ことを特徴とする請求項3に記載の床構造。
【請求項5】
前記支持脚(2)に設けられる磁性体又は磁石が中心に貫通孔を備えたドーナツ形であり、
前記貫通孔を介して前記磁性体又は磁石を前記支持脚(2)にビス(16)で固定した
ことを特徴とする請求項1に記載の床構造。
発明の詳細な説明
【技術分野】
【0001】
本発明は、特に、二重床構造において支持脚に床パネルを取り付ける床構造の改良に関する。
続きを表示(約 5,200 文字)
【背景技術】
【0002】
建物の床構造としては、基礎スラブ上に直接、床パネル等を敷設する直床構造と、床パネルを基礎スラブから間隔を開けて設け、床パネルと基礎スラブとの間に空間を形成する二重床構造とがある。
二重床構造は、基礎スラブ上に複数の防振支持脚を設け、これら防振支持脚で床パネルを支持するものであり、基礎スラブと床パネルとの間の空間が床衝撃音を遮音すると共に、前記空間が配管スペースとして利用できることから二重床構造を採用する建物が多くなってきている。
特許文献1は、二重床構造における床パネルの従来の取付方法を示している。この従来の取付方法によれば、図12に示すように、一つの支持脚33に設けたパネル受け金具34に4枚の床パネル35,39,40及び41の角部を載せ、これら床パネルを、接続金具48を介して木ネジ47,52,53及び54を用いて上方から前記パネル受け金具34に固定するものである。
【先行技術文献】
【特許文献】
【0003】
特開平6-146544号公報
【発明の概要】
【発明が解決しようとする課題】
【0004】
上記した従来の床パネルの取付方法によれば、一つの支持脚33によって4枚の床パネル35,39,40及び41の角部を支持することができるので、支持脚33の数を全体として減らすことができるという効果を奏し、また、4枚の床パネルを、接続金具48を介して上方から木ネジで固定するように構成されているので施工が簡単であるという効果を奏する。
しかしながら、上記した従来の床パネルの取付方法は、木ネジを用いて床パネルを上方から固定するように構成されているので、固定後の木ネジの頭部が床パネルの表面に現れてしまい、床全体の外観が悪くなるという問題点がある。さらに、接続金具48を介して上方から木ネジで固定するため4枚の床パネルを全て支持脚33のパネル受け金具34に載せてから木ネジで固定する必要があるので、この点において施工が難しいという問題もある。
本発明は、上記した従来の問題点を解消し、床パネルを固定する木ネジ等の部材を使用する必要がなく、また、床パネルを一枚ずつ、かつ、簡単に、支持脚に固定することができる床構造を提供することを目的としている。
【課題を解決するための手段】
【0005】
上記した目的を達成するために、本発明に係る床構造は、複数の支持脚と、前記各支持脚に角部が載せられ、支持される矩形床パネルとから成る床構造であって、前記矩形床パネルの角部底面に磁石又は磁性体を設け、前記支持脚の上面に磁性体又は磁石を設け、前記矩形床パネルの角部を前記支持脚の上面に載せた時に、矩形床パネルに設けられた磁石又は磁性体と、支持脚に設けられた磁性体又は磁石とが接触し、そのクーロン力により矩形床パネルと支持脚とが固定されるようにしたことを特徴としている。
前記矩形床パネルに設けられた磁石又は磁性体で凸部又は凹部を形成し、前記支持脚に設けられた磁性体又は磁石で前記矩形床パネルの凸部又は凹部が篏合可能な凹部又は凸部を形成してもよい。
また、前記支持脚に非磁性体から成る板状パネル受け部を設け、前記矩形床パネルに設けられた磁石又は磁性体で凸部を形成し、前記板状パネル受け部に、前矩形床パネルの凸部が篏合可能な凹部を形成し、前記凹部に磁性体又は磁石を設けてもよい。この場合、前記板状パネル受け部に、その上面から上方に向けて突出する相互に90度の角度を成して配置された四つの固定板片を設けることもできる。
さらにまた、前記支持脚に設けられる磁性体又は磁石を、中心に貫通孔を備えたドーナツ形の磁性体又は磁石で形成し、前記貫通孔を介して前記磁性体又は磁石を前記支持脚にビスで固定するように構成してもよい。
【発明の効果】
【0006】
本発明に係る床構造によれば、複数の支持脚と、前記各支持脚に角部が載せられ、支持される矩形床パネルとから成る床構造であって、前記矩形床パネルの角部底面に磁石又は磁性体を設け、前記支持脚の上面に磁性体又は磁石を設け、前記矩形床パネルの角部を前記支持脚の上面に載せた時に、矩形床パネルに設けられた磁石又は磁性体と、支持脚に設けられた磁性体又は磁石とが接触し、そのクーロン力により矩形床パネルと支持脚とが固定されるように構成しているので、床パネルと支持脚とを木ネジやビス等の連結部材を使用することなく固定することが可能になり、その結果、支持脚に対する床パネルの着脱が容易になり、かつ、木ネジやビス等の連結部材が床パネル表面に現れて床の外観を損ねることがない。
前記矩形床パネルに設けられた磁石又は磁性体で凸部又は凹部を形成し、前記支持脚に設けられた磁性体又は磁石で前記矩形床パネルの凸部又は凹部が篏合可能な凹部又は凸部を形成することで、床パネルと支持脚とがクーロン力だけでなく、凸部と凹部との篏合によっても固定されることになるので、床パネルと支持脚との固定強度が上がり、さらに、凸部と凹部とを篏合させて床パネルと支持脚とを固定することで位置決めが正確になるという効果を奏する。
また、前記支持脚に非磁性体から成る板状パネル受け部を設け、前記矩形床パネルに設けられた磁石又は磁性体で凸部を形成し、前記板状パネル受け部に、前矩形床パネルの凸部が篏合可能な凹部を形成し、前記凹部に磁性体又は磁石を設けることで、支持脚が特別な構造を持つ必要がなくなるため、板状パネル受け部を別途設けることで、既存の支持脚を使用した床構造に簡単に適用することが可能になる。
さらに、前記板状パネル受け部に、その上面から上方に向けて突出する相互に90度の角度を成して配置された四つの固定板片を設けることで、固定板片で床パネルの位置決めをすることが可能になるので床パネルの位置決めが容易になり、さらに、固定板片で床パネルが使用時にズレることを防止することも可能になる。
さらにまた、前記支持脚に設けられる磁性体又は磁石を、中心に貫通孔を備えたドーナツ形の磁性体又は磁石で形成し、前記貫通孔を介して前記磁性体又は磁石を前記支持脚にビスで固定するように構成することで、支持脚に簡単に磁性体又は磁石を設けることが可能になる。
【図面の簡単な説明】
【0007】
本発明に係る床構造の一実施例を示す概略部分側面図である。に用いられる板状パネル受け部の一実施例の上面図
図1に示した床構造に用いられる板状パネル受け部の一実施例の上面図
図2に示した板状パネル受け部のA-A断面図
図1に示した床構造を組み立てる工程を示す図である。
図1に示した床構造を組み立てる工程を示す図である。
図1に示した床構造を組み立てる工程を示す図である。
図1に示した床構造を組み立てる工程を示す図である。
図1に示した床構造を組み立てる工程を示す図である。
本発明に係る床構造の第二実施例を示す図8に対応する図である。
本発明に係る床構造の第三実施例を示す図8に対応する図である。
本発明に係る床構造の第四実施例を示す図8に対応する図である。
(a)及び(b)は従来の床構造を示す図である。
【発明を実施するための形態】
【0008】
以下、添付図面に示した一実施例を参照して本発明に係る床構造の実施の形態を説明していく。
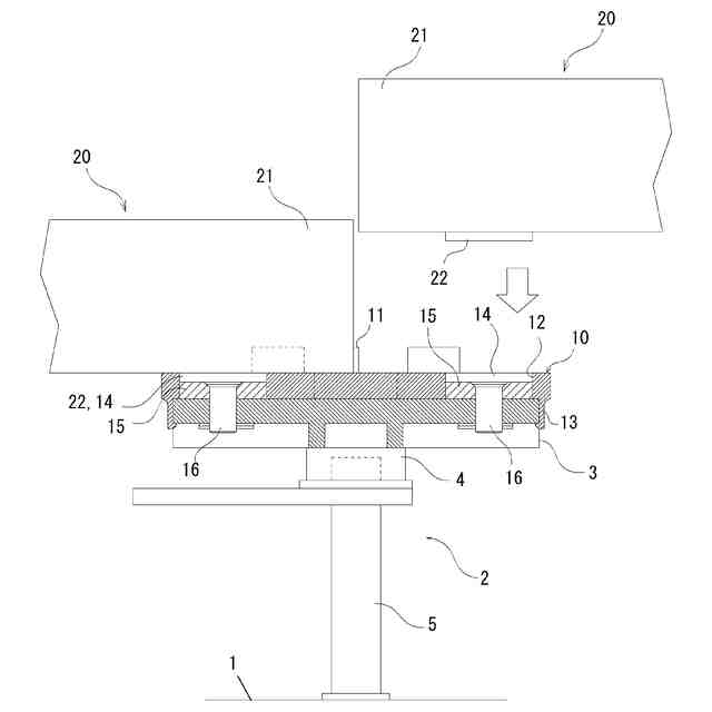
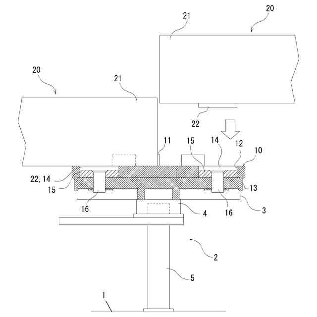
図1は、本発明に係る床構造の一実施例を示す概略部分側面図である。
図1に示した実施例に係る床構造によれば、基礎面1上に、複数の支持脚2を立設し、前記支持脚2の上部支持板3に、板状パネル受け部10を介して、矩形床パネル20の角部21が載置支持されている。
図2は、図1に示した床構造に用いられる板状パネル受け部10の一実施例の上面図、図3は、図2に示した板状パネル受け部2のA-A断面図である。
図面に示すように、この実施例では、板状パネル受け部10は、上面視正方形の板体で形成され、非磁性体材料、例えば、樹脂材料等から成る。
前記板状パネル受け部10は、その上面から上方に向けて突出する相互に90度の角度を成して配置された四つの固定板片11を備え、二つの固定板片11の間に矩形床パネル20の角部21が載置されるように構成されている。
前記板状パネル受け部10の二つの固定板片11間には、各々断面円形の貫通孔12が形成されており、板状パネル受け部10を支持脚2の上部支持板3に固定する時に各貫通孔12に後述する磁石15が挿入されるように構成されている。
また、前記板状パネル受け部10の底面には、底面から下方に向けて突出する固定爪部13が一体に形成されており、前記固定爪部13を用いて、支持脚2の上部支持板3に板状パネル受け部10を固定することができるように構成されている。
上記したように構成された板状パネル受け部10は、磁石15と共に支持脚2の上部支持板3に固定され、矩形床パネル20を載置支持するために用いられる。
【0009】
図4~図8は、基礎面1上に立設された支持脚2に、磁石15及び板状パネル受け部10を固定した後、矩形床パネル20を載置支持する工程を示す図である。
図4に示すように、基礎面1上に立設された支持脚2は、上部支持板3と、上部支持板3に固定された高さ調整部材4と、前記高さ調整部材4が上下方向に調整可能に取り付けられた基礎部5とから成る。
また、前記磁石15は、中心に貫通孔を有するドーナツ形の円筒状磁石であり、ビス16を用いて支持脚2の上部支持板3に固定される(図5参照)。
支持脚2の上部支持板3に磁石15を固定した後、固定爪部13を用いて板状パネル受け部10が支持脚2の上部支持板3に固定される(図6参照)。図6に示すように、板状パネル受け部10を上部支持板3に固定する時に、上部支持板3に固定された磁石15は、板状パネル受け部10の貫通孔12に挿入される。
ここで、図4~図8から明らかなように、磁石15の厚みh1は、板状パネル受け部10の厚みh2より薄くされており、それにより、板状パネル受け部10の貫通孔12に磁石15が挿入されるように板状パネル受け部10を上部支持板11に固定すると、板状パネル受け部10の貫通孔2の上部空間が、底面に磁石15が設けられた円筒状の凹部14を形成する。
一方、図7及び図8に示すように、矩形床パネル20の底面の各角部21には、各々前記板状パネル受け部10の凹部14に篏合可能な形状及び寸法の磁性体から成る円筒状凸部22が形成されており、矩形床パネル20を、その角部21の側面が板状パネル受け部10の固定板片11に接触するように板状パネル受け部10に載置すると、前記矩形床パネル20の前記各凸部22が、板状パネル受け部10に形成された凹部14に篏合し、磁性体から成る凸部22と、凹部14の底面に配置された磁石15とが接触して、両者のクーロン力によって矩形床パネル20が、支持脚2に固定される。
【0010】
上記した実施例では、磁石15をビス16で支持脚2の上部支持板3に固定し、板状パネル受け部10の貫通孔12に前記磁石15が挿入されるように前記板状パネル受け部10を上部支持板3に固定することで、板状パネル受け部10に磁石を備えた凹部14を形成しているが、この構成は本実施例に限定されることなく、例えば、図9に示すように、非磁性体から成る板状パネル受け部10に予め上方に開口する凹部14を形成し、その凹部14内に磁石15を設け、板状パネル受け部10を支持脚2の上部支持板3に載置しただけで、磁性体から成る上部支持板3と凹部14内に設けられた磁石15とのクーロン力によって板状パネル受け部10を上部支持板3に固定するように構成してもよい。尚、図9は、本発明に係る床構造の第二実施例を示す図8に対応する図であり、同一又は対応する構成部材には第一実施例と同じ符号を付している。
このように構成することで、板状パネル受け部10に固定爪部13を設ける必要がなくなるので、板状パネル受け部10の構成が簡単になり、かつ、板状パネル受け部10を支持脚2に固定する方法も簡単になる。
(【0011】以降は省略されています)
この特許をJ-PlatPat(特許庁公式サイト)で参照する
関連特許
個人
接合構造
17日前
個人
タッチミー
16日前
個人
屋台
1か月前
個人
野良猫ハウス
1か月前
個人
安心補助てすり
今日
個人
フェンス
2か月前
個人
転落防止用手摺
1か月前
積水樹脂株式会社
柵体
1か月前
個人
ベンリナアングル
16日前
ニチハ株式会社
建築板
1か月前
個人
筋交自動設定装置
24日前
個人
居住車両用駐車場
1か月前
個人
熱抵抗多層断熱建材
1か月前
個人
柵
2か月前
個人
補強部材
1か月前
個人
身体用シェルター
24日前
個人
身体用シェルター
24日前
株式会社シンケン
住宅
1日前
個人
防災建築物
6日前
成友建設株式会社
建物
1か月前
鹿島建設株式会社
壁体
1か月前
個人
可搬型供養墓
22日前
三協立山株式会社
構造体
24日前
三協立山株式会社
構造体
24日前
三協立山株式会社
構造体
24日前
三協立山株式会社
構造体
24日前
三協立山株式会社
構造体
24日前
株式会社熊谷組
吊り治具
21日前
インターマン株式会社
天井構造
2か月前
三協立山株式会社
構造体
24日前
株式会社熊谷組
床構成材
14日前
株式会社熊谷組
木質材料
1か月前
三協立山株式会社
構造体
1日前
イワブチ株式会社
組立柱
1か月前
三洋工業株式会社
床構造
1日前
日鉄建材株式会社
屋根構造
1か月前
続きを見る
他の特許を見る