TOP
|
特許
|
意匠
|
商標
特許ウォッチ
Twitter
他の特許を見る
公開番号
2025138757
公報種別
公開特許公報(A)
公開日
2025-09-25
出願番号
2025107448,2024113953
出願日
2025-06-25,2019-01-18
発明の名称
診断支援装置、学習装置、診断支援方法、学習方法及びプログラム
出願人
株式会社ニコン
代理人
個人
,
個人
,
個人
主分類
A61B
3/12 20060101AFI20250917BHJP(医学または獣医学;衛生学)
要約
【課題】眼底画像から糖尿病網膜症のスクリーニングを行う診断支援装置を提供する。
【解決手段】診断支援装置は、眼底の画像である眼底画像と、眼底の蛍光眼底造影画像に基づいて特定された血液循環異常領域とに基づいて、眼底画像と、眼底画像における血液循環異常領域との関係を学習した学習モデルを用いて、眼底画像における血液循環異常領域を特定する特定部と、患者の眼底画像と、学習モデルとを用いて特定部が特定した患者の眼底画像における血液循環異常領域を示す情報を出力する出力部とを有する。
【選択図】なし
特許請求の範囲
【請求項1】
眼底の画像である眼底画像と、前記眼底の蛍光眼底造影画像に基づいて特定された血液循環異常領域とに基づいて、眼底画像と、前記眼底画像における血液循環異常領域との関係を学習した学習モデルを用いて、眼底画像における血液循環異常領域を特定する特定部と、
患者の眼底画像と、前記学習モデルとを用いて前記特定部が特定した患者の前記眼底画像における血液循環異常領域を示す情報を出力する出力部と
を有する診断支援装置。
発明の詳細な説明
【技術分野】
【0001】
本発明は、診断支援装置、学習装置、診断支援方法、学習方法及びプログラムに関する。
本願は、2018年1月19日に、日本に出願された特願2018-7585号に基づき優先権を主張し、その内容をここに援用する。
続きを表示(約 3,200 文字)
【背景技術】
【0002】
糖尿病網膜症は本邦の失明原因の第2位を占める重要な疾患であるが、自覚症状が出現するのは、病期がかなり進行してからとなるため、検診などでの早期発見・早期治療が重要である。この課題に対し、糖尿病網膜症の初期変化である毛細血管瘤を強調させる眼底画像解析システム(特許文献1参照)や、眼底画像から糖尿病網膜症のスクリーニングを行う画像解析システム(特許文献2参照)が提案されている。
【先行技術文献】
【特許文献】
【0003】
特開2010-178802号公報
US2014/0314288A1
【発明の概要】
【0004】
本発明の一態様は、眼底の画像である眼底画像と、前記眼底の蛍光眼底造影画像に基づいて特定された血液循環異常領域とに基づいて、眼底画像と、前記眼底画像における血液循環異常領域との関係を学習した学習モデルを用いて、眼底画像における血液循環異常領域を特定する特定部と、患者の眼底画像と、前記学習モデルとを用いて前記特定部が特定した患者の前記眼底画像における血液循環異常領域を示す情報を出力する出力部とを有する診断支援装置である。
【図面の簡単な説明】
【0005】
本発明の情報処理装置の一実施形態であるサーバを含む、情報処理システムの構成図である。
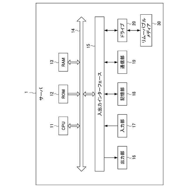
図1の情報処理システムのうち、サーバのハードウェア構成を示すブロック図である。
図2のサーバの機能的構成のうち、NPA・NV存在確率マップ生成処理、付随所見存在確率マップ生成処理、推定NPA・NV特定処理、及び推定NPA・NV表示処理の各種処理を実現するための機能的構成の一例を示す機能ブロック図である。
図3のサーバが実行するNPA・NV存在確率マップ生成処理、付随所見存在確率マップ生成処理、推定NPA・NV特定処理、及び推定NPA・NV表示処理等の各種処理の流れを説明するフローチャートである。
図3のサーバが実行する処理に用いられる各種情報の流れを示す図である。
図3のサーバが実行する処理において取得される眼底画像情報の一例を示す図である。
図3のサーバが実行する処理において取得される蛍光眼底造影画像情報の一例を示す図である。
図3のサーバが実行するNPA・NV存在確率マップ生成処理で出力されるNPA・NV存在確率マップの一例を示す図である。
図3のサーバが実行する推定NPA・NV特定処理において特定される推定NPA及び推定NVの一例を示す図である。
本発明の一実施形態の変形例の情報処理システムの構成図である。
本発明の一実施形態の変形例の学習装置の一例を示すブロック図である。
眼底画像の一例を示す図である。
蛍光眼底造影画像の一例を示す図である。
血液循環異常領域の一例を示す図である。
ニューラルネットワークの構造の一例を示す図である。
本発明の一実施形態の変形例の診断支援装置の一例を示すブロック図である。
本発明の一実施形態の変形例の学習装置の動作の一例を示すフローチャートである。
本発明の一実施形態の変形例の診断支援装置の動作の一例を示すフローチャートである。
【発明を実施するための形態】
【0006】
以下、本発明の実施形態について図面を用いて説明する。
図1は、本発明の情報処理装置の一実施形態であるサーバ1を含む、情報処理システムの構成図である。
【0007】
図1に示す情報処理システムは、サーバ1と、眼科医端末2と、検査機器3とを含むように構成されている。
サーバ1と、眼科医端末2と、検査機器3とは、インターネット(Internet)等のネットワークNを介して相互に接続されている。
【0008】
サーバ1は、図1に示す情報処理システムを管理するサーバであり、例えば、NPA・NV存在確率マップ生成処理、付随所見存在確率マップ生成処理、推定NPA・NV特定処理等の各種処理を実行する。なお、サーバ1が実行する具体的な処理の内容については、図3を参照して後述する。
「NPA・NV存在確率マップ生成処理」とは、サーバ1が実行する処理のうち、NPA・NV教師情報を生成してからNPA・NV存在確率マップを生成するまでの一連の処理をいう。
「NPA・NV教師情報」とは、患者の眼底画像情報における網膜無灌流領域(NPA/non-perfusion area)(以下「網膜無灌流領域」または「NPA」と呼ぶ)の存在確率(以下「NPA存在確率」と呼ぶ)と、新生血管(NV/neovascularization)の存在確率(以下「NV存在確率」と呼ぶ)とを演算する際の教師情報をいう。具体的には、「NPA・NV教師情報」は、蛍光眼底造影画像情報と、この情報に付されたNPA・NVアノテーション情報とに基づいて生成される。
「網膜無灌流領域」とは、眼虚血性疾患において網膜血管閉塞の結果生じる網膜の循環不良領域をいう。
【0009】
「NPA・NV存在確率マップ」とは、眼底画像情報にNPA存在確率と、NV存在確率とを識別表示させた画像情報である。
「眼底画像情報」とは、眼底画像に基づく画像情報をいう。
「蛍光眼底造影画像情報」とは、蛍光眼底造影画像に基づく情報をいう。
「NPA・NVアノテーション情報」とは、蛍光眼底造影画像情報に付された、網膜無灌流領域(NPA)と新生血管(NV)とのうち少なくとも一方に関する眼科医Dの診断注記をいう。
「新生血管」とは、網膜無灌流領域における網膜の循環不良や虚血がさらに進行したものである。新生血管から、出血や、増殖膜形成を介した網膜剥離が生じると、最終的には失明に至るため、網膜無灌流領域や新生血管などの網膜の循環不良領域を特定することは、診療上非常に重要である。
なお、NPA・NV存在確率マップ生成処理の具体的な処理の流れについては、図4のフローチャートを参照して後述する。
【0010】
「付随所見存在確率マップ生成処理」とは、サーバ1が実行する処理のうち、付随所見教師情報を生成してから付随所見存在確率マップを生成するまでの一連の処理をいう。
「付随所見教師情報」とは、患者の眼底画像情報における付随所見の存在確率を演算する際の教師情報をいう。具体的には、「付随所見教師情報」は、蛍光眼底造影画像情報及び眼底画像情報と、これらの画像情報に付された付随所見アノテーション情報とに基づいて生成された教師情報をいう。
「付随所見アノテーション情報」とは、蛍光眼底造影画像情報及び眼底画像情報に対して眼科医Dが「正常ではない」という判断を付随的に行った診断注記のうち、網膜無灌流領域(NPA)または新生血管(NV)に関する診断注記以外のものをいう。例えば、毛細血管瘤、眼底出血、硬性白斑、軟性白斑、静脈異常、網膜内細小血管異常、硝子体出血、増殖膜、網膜剥離といった情報は、いずれも「付随所見アノテーション情報」の一例である。
「付随所見存在確率マップ」とは、眼底画像情報に付随所見の存在確率を識別表示させた画像情報(図示せず)である。
なお、付随所見存在確率マップ生成処理の具体的な処理の流れについては、図4のフローチャートを参照して後述する。
(【0011】以降は省略されています)
この特許をJ-PlatPat(特許庁公式サイト)で参照する
関連特許
株式会社ニコン
撮像素子および撮像装置
3日前
株式会社ニコン
顕微鏡、方法、及びプログラム
13日前
株式会社ニコンビジョン
観察光学系、光学機器、および観察光学系の製造方法
1日前
株式会社ニコン
変倍光学系、光学機器、および変倍光学系の製造方法
13日前
株式会社ニコン
変倍光学系、光学機器、および変倍光学系の製造方法
13日前
株式会社ニコン
変倍光学系、光学機器、および変倍光学系の製造方法
13日前
株式会社ニコン
撮像装置
3日前
株式会社ニコン
交換レンズ
3日前
株式会社ニコン
光学系および光学機器
2日前
株式会社ニコン
カバー装置及び撮像装置
7日前
株式会社ニコン
レンズ鏡筒及び撮像装置
13日前
株式会社ニコン
変倍光学系および光学機器
1日前
株式会社ニコン
変倍光学系および光学機器
2日前
株式会社ニコン
固体撮像素子及び撮像装置
2日前
株式会社ニコン
パルス光生成装置、パルス光生成方法及び加工装置
7日前
株式会社ニコン
診断支援装置、学習装置、診断支援方法、学習方法及びプログラム
7日前
個人
短下肢装具
2か月前
個人
前腕誘導装置
2か月前
個人
洗井間専家。
6か月前
個人
嚥下鍛錬装置
2か月前
個人
胸骨圧迫補助具
27日前
個人
ホバーアイロン
5か月前
個人
歯の修復用材料
3か月前
個人
汚れ防止シート
3日前
個人
バッグ式オムツ
3か月前
個人
アイマスク装置
1か月前
個人
矯正椅子
4か月前
個人
シャンプー
5か月前
個人
哺乳瓶冷まし容器
2か月前
個人
歯の保護用シール
4か月前
個人
湿布連続貼り機。
1か月前
個人
陣痛緩和具
2か月前
個人
エア誘導コルセット
1か月前
株式会社八光
剥離吸引管
4か月前
個人
治療用酸化防御装置
21日前
個人
性行為補助具
2か月前
続きを見る
他の特許を見る