TOP
|
特許
|
意匠
|
商標
特許ウォッチ
Twitter
他の特許を見る
10個以上の画像は省略されています。
公開番号
2025135870
公報種別
公開特許公報(A)
公開日
2025-09-19
出願番号
2024033900
出願日
2024-03-06
発明の名称
顕微鏡、方法、及びプログラム
出願人
株式会社ニコン
,
地方独立行政法人神奈川県立病院機構
代理人
弁理士法人一色国際特許事務所
主分類
G02B
21/36 20060101AFI20250911BHJP(光学)
要約
【課題】新規な画像位置合わせ方法を提供する。
【解決手段】マクロ画像を取得する第1観察光学系と、第1観察光学系とは異なる、ミクロ画像を取得する第2観察光学系と、制御部と、を備え、マクロ画像内の注目領域の位置を示す位置情報を取得し、位置情報に基づき、第1標本を載置するステージと第2観察光学系との位置関係を制御し、第2観察光学系を用いて注目領域のミクロ画像を取得する。第1観察光学系をいて、第1標本とは異なる第2標本の第2マクロ画像を取得し、前記マクロ画像と第2マクロ画像との位置ずれ量であるマクロずれ量を算出し、マクロずれ量に基づき、第2マクロ画像において、第1位置情報に対応する第2注目領域の位置を示す第2位置情報を取得し、第2標本を載置するステージを制御し、第2観察光学系を用いて第2注目領域の第2ミクロ画像の取得を実行する。
【選択図】図7A
特許請求の範囲
【請求項1】
マクロ画像を取得する第1観察光学系と、
前記第1観察光学系とは異なる、ミクロ画像を取得する第2観察光学系と、
制御部と、を備え、
前記制御部は、
前記第1観察光学系を用いて、第1標本の第1マクロ画像を取得する処理と、
前記第1マクロ画像内の第1注目領域の位置を示す第1位置情報を取得する取得処理と、
前記第1位置情報に基づき、前記第1標本を載置するステージと前記第2観察光学系との位置関係を制御し、前記第2観察光学系を用いて前記第1注目領域の第1ミクロ画像を取得する処理と、
前記第1観察光学系を用いて、前記第1標本とは異なる第2標本の第2マクロ画像を取得する処理と、
前記第1マクロ画像と前記第2マクロ画像との位置ずれ量であるマクロずれ量を算出する処理と、
前記マクロずれ量に基づき、前記第2マクロ画像において、前記第1位置情報に対応する第2注目領域の位置を示す第2位置情報を取得する処理と、
前記第2位置情報に基づき、前記第2標本を載置する前記ステージと前記第2観察光学系との位置関係を制御し、前記第2観察光学系を用いて前記第2注目領域の第2ミクロ画像を取得する処理と、
を実行する顕微鏡。
続きを表示(約 1,500 文字)
【請求項2】
前記制御部は、
前記取得処理において入力部からの指示により前記第1位置情報を取得する、
請求項1に記載の顕微鏡。
【請求項3】
前記第1マクロ画像及び前記第2マクロ画像のそれぞれの解像度は、前記第1ミクロ画像及び前記第2ミクロ画像のどちらの解像度よりも低い、
請求項1または2に記載の顕微鏡。
【請求項4】
前記第1マクロ画像及び前記第2マクロ画像は、それぞれ、前記第1観察光学系により一括取得される、
請求項1から3のいずれか1項に記載の顕微鏡。
【請求項5】
前記制御部は、
前記第1ミクロ画像と第2ミクロ画像との位置ずれ量であるミクロずれ量を算出し、
前記ミクロずれ量に基づき、前記マクロずれ量を補正する処理をさらに実行する、
請求項1から4のいずれか1項に記載の顕微鏡。
【請求項6】
前記第1注目領域は、少なくとも、第1注目領域その1、第1注目領域その2として、前記第1マクロ画像内に複数存在し、
前記制御部は、前記第1注目領域その1の位置を示す第1位置情報その1、及び前記第1注目領域その2の位置を示す第1位置情報その2を取得し、
前記第2マクロ画像において、前記第1位置情報その1に対応する第2注目領域その1の位置を示す第2位置情報その1、及び前記第1位置情報その2に対応する第2注目領域その2の位置を示す第2位置情報その2を取得し、
前記ミクロずれ量は、前記第1注目領域その1の前記第1ミクロ画像と、前記第2注目領域その1の前記第2ミクロ画像とに基づき算出され、
前記補正されたマクロずれ量に基づき、前記第2マクロ画像において、前記第2位置情報その2を修正する処理と、
前記修正した第2位置情報その2に基づき、前記第2注目領域その2の前記第2ミクロ画像を取得する処理と、を実行する、
請求項5に記載の顕微鏡。
【請求項7】
制御部は、
前記第1ミクロ画像と前記第2ミクロ画像との位置ずれ量であるミクロずれ量を算出し、
前記ミクロずれ量に基づき、前記第2標本を載置する前記ステージと前記第2観察光学系との位置関係を制御する処理をさらに実行する、
請求項1から4のいずれか1項に記載の顕微鏡。
【請求項8】
前記制御部は、
記憶部に保存された前記第1ミクロ画像を読み出し、表示部に表示するとともに、前記第2観察光学系によって取得している最中の前記第2ミクロ画像を前記表示部に表示する処理をさらに実行する、
請求項1から7のいずれか1項に記載の顕微鏡。
【請求項9】
前記制御部は、
入力部からの指示により、前記第2標本を載置するステージと前記第2観察光学系との位置関係を制御し、前記表示部に表示される前記第2ミクロ画像の前記第2注目領域を移動させる処理をさらに実行する、
請求項8に記載の顕微鏡。
【請求項10】
前記制御部は、
入力部からの指示により、前記第1マクロ画像及び前記第2マクロ画像の少なくとも一つの透明度を向上させて表示部に表示し、前記第1マクロ画像に表示された前記第1標本と前記第2マクロ画像に表示された前記第2標本との重なりを変化させる処理をさらに実行する、
請求項1から9のいずれか1項に記載の顕微鏡。
(【請求項11】以降は省略されています)
発明の詳細な説明
【技術分野】
【0001】
本発明は、顕微鏡、方法、及びプログラムに関する。
続きを表示(約 2,700 文字)
【背景技術】
【0002】
従来、顕微鏡で取得した画像の位置合わせを実行する方法が知られている(特許文献1)。
【先行技術文献】
【特許文献】
【0003】
特許第6643072号公報
【発明の概要】
【発明が解決しようとする課題】
【0004】
本開示の技術は、新規な画像位置合わせ方法を提供する。
【課題を解決するための手段】
【0005】
本発明の一実施態様は、マクロ画像を取得する第1観察光学系と、前記第1観察光学系とは異なる、ミクロ画像を取得する第2観察光学系と、制御部と、を備え、前記制御部は、前記第1観察光学系を用いて、第1標本の第1マクロ画像を取得する処理と、前記第1マクロ画像内の第1注目領域の位置を示す第1位置情報を取得する取得処理と、前記第1位置情報に基づき、前記第1標本を載置するステージと前記第2観察光学系との位置関係を制御し、前記第2観察光学系を用いて前記第1注目領域の第1ミクロ画像を取得する処理と、前記第1観察光学系を用いて、前記第1標本とは異なる第2標本の第2マクロ画像を取得する処理と、前記第1マクロ画像と前記第2マクロ画像との位置ずれ量であるマクロずれ量を算出する処理と、前記マクロずれ量に基づき、前記第2マクロ画像において、前記第1位置情報に対応する第2注目領域の位置を示す第2位置情報を取得する処理と、前記第2位置情報に基づき、前記第2標本を載置する前記ステージと前記第2観察光学系との位置関係を制御し、前記第2観察光学系を用いて前記第2注目領域の第2ミクロ画像を取得する処理と、を実行する顕微鏡である。
【0006】
また、本発明の一実施態様は、マクロ画像を取得する第1観察光学系と、前記第1観察光学系とは異なる、ミクロ画像を取得する第2観察光学系と、制御部と、を備えた顕微鏡において前記制御部に実行させる方法であって、前記第1観察光学系を用いて、第1標本の第1マクロ画像を取得する処理と、前記第1マクロ画像内の第1注目領域の位置を示す第1位置情報を取得する取得処理と、前記第1位置情報に基づき、前記第1標本を載置するステージと前記第2観察光学系との位置関係を制御し、前記第2観察光学系を用いて前記第1注目領域の第1ミクロ画像を取得する処理と、前記第1観察光学系を用いて、前記第1標本とは異なる第2標本の第2マクロ画像を取得する処理と、前記第1マクロ画像と前記第2マクロ画像との位置ずれ量であるマクロずれ量を算出する処理と、前記マクロずれ量に基づき、前記第2マクロ画像において、前記第1位置情報に対応する第2注目領域の位置を示す第2位置情報を取得する処理と、前記第2位置情報に基づき、前記第2標本を載置する前記ステージと前記第2観察光学系との位置関係を制御し、前記第2観察光学系を用いて前記第2注目領域の第2ミクロ画像を取得する処理と、を含む方法である。
【0007】
本発明のさらなる一実施態様は、マクロ画像を取得する第1観察光学系と、前記第1観察光学系とは異なる、ミクロ画像を取得する第2観察光学系と、制御部と、を備えた顕微鏡において前記制御部に対し、前記第1観察光学系を用いて、第1標本の第1マクロ画像を取得する処理と、前記第1マクロ画像内の第1注目領域の位置を示す第1位置情報を取得する取得処理と、前記第1位置情報に基づき、前記第1標本を載置するステージと前記第2観察光学系との位置関係を制御し、前記第2観察光学系を用いて前記第1注目領域の第1ミクロ画像を取得する処理と、前記第1観察光学系を用いて、前記第1標本とは異なる第2標本の第2マクロ画像を取得する処理と、前記第1マクロ画像と前記第2マクロ画像との位置ずれ量であるマクロずれ量を算出する処理と、前記マクロずれ量に基づき、前記第2マクロ画像において、前記第1位置情報に対応する第2注目領域の位置を示す第2位置情報を取得する処理と、前記第2位置情報に基づき、前記第2標本を載置する前記ステージと前記第2観察光学系との位置関係を制御し、前記第2観察光学系を用いて前記第2注目領域の第2ミクロ画像を取得する処理と、を実行させるプログラムである。
【図面の簡単な説明】
【0008】
実施形態に係るシステムの全体構成図であり、光学系P1が使用された状況を示す。
実施形態に係るシステムの全体構成図であり、光学系P2が使用された状況を示す。情報処理装置のハードウェア構成を示す図である。
(a)システムの全体構成を示すブロック図、(b)情報処理装置のハードウェア構成を示すブロック図、及び(c)情報処理装置の機能構成(ソフトウェア構成)を示すブロック図である。
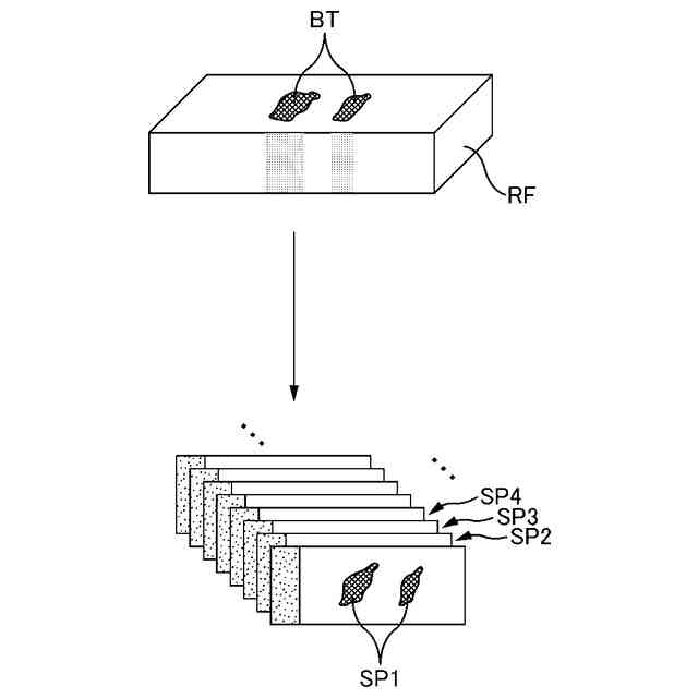
生物組織と標本の構成を示す図である。
標本と注目領域の構成を示す図である。
生物組織とミクロ画像の構成を示す図である。
実施形態において実行される処理のフローチャートである。
実施形態において実行される処理のフローチャートである。
実施形態において実行される処理のフローチャートである。
マクロ画像及びミクロ画像において実行される位置合わせの概要を説明する図である。
出力装置において表示される画面の一例であり、1つのミクロ画像が表示された状況を示す。
出力装置において表示される画面の一例であり、2つのミクロ画像が重ねて表示された状況を示す。
出力装置において表示される画面の一例であり、2つのミクロ画像が並べて表示された状況を示す。
出力装置において表示される画面の一例であり、複数のミクロ画像が並べて表示された状況を示す。
出力装置において表示される画面の一例であり、複数のミクロ画像が並べて表示された状況を示す。
出力装置において表示される画面の一例であり、複数のミクロ画像が並べて表示された状況を示す。
【発明を実施するための形態】
【0009】
以下、本発明をその一実施形態に即して図面を参照しつつ説明する。
【0010】
〔構成〕
図1及び図2に本発明の一実施形態に係るシステム1の構成を示す。システム1は、情報処理装置10を内蔵した顕微鏡装置30と、出力装置40と、入力装置50とを備える。出力装置40、入力装置50、及び顕微鏡装置30は、図示しないバス等の通信手段を介して互いにデータの送受信が可能となるように接続されている。
(【0011】以降は省略されています)
この特許をJ-PlatPat(特許庁公式サイト)で参照する
関連特許
株式会社ニコン
撮像素子および撮像装置
2日前
株式会社ニコン
顕微鏡、方法、及びプログラム
12日前
株式会社ニコン
光学系、光学機器及び光学系の製造方法
13日前
株式会社ニコン
光学系、光学機器及び光学系の製造方法
13日前
株式会社ニコン
変倍光学系、光学機器、および変倍光学系の製造方法
12日前
株式会社ニコン
変倍光学系、光学機器、および変倍光学系の製造方法
12日前
株式会社ニコンビジョン
観察光学系、光学機器、および観察光学系の製造方法
今日
株式会社ニコン
変倍光学系、光学機器、および変倍光学系の製造方法
12日前
株式会社ニコン
電子機器
14日前
株式会社ニコン
撮像素子
14日前
株式会社ニコン
撮像装置
2日前
株式会社ニコン
撮像装置
14日前
株式会社ニコン
交換レンズ
2日前
株式会社ニコン
光学系および光学機器
1日前
株式会社ニコン
レンズ鏡筒及び撮像装置
12日前
株式会社ニコン
カバー装置及び撮像装置
6日前
株式会社ニコン
装置及び構造物の製造方法
14日前
株式会社ニコン
眼科装置及び画像処理方法
27日前
株式会社ニコン
変倍光学系および光学機器
今日
株式会社ニコン
固体撮像素子及び撮像装置
1日前
株式会社ニコン
変倍光学系および光学機器
1日前
株式会社ニコン
マイクロ流体デバイス、マイクロ流体デバイスの観察装置、マイクロ流体デバイスの観察方法
28日前
株式会社ニコン
パルス光生成装置、パルス光生成方法及び加工装置
6日前
株式会社ニコン
画像処理装置、画像処理方法、プログラム、及び眼科システム
29日前
株式会社ニコン
診断支援装置、学習装置、診断支援方法、学習方法及びプログラム
6日前
カンタツ株式会社
光学系
23日前
日本精機株式会社
表示装置
28日前
日本精機株式会社
表示装置
1か月前
日本精機株式会社
表示装置
28日前
キヤノン株式会社
映像表示装置
12日前
アイカ工業株式会社
反射防止フィルム
23日前
インターマン株式会社
立体映像表示装置
12日前
瀚宇彩晶股ふん有限公司
表示パネル
1か月前
日本精機株式会社
ヘッドアップディスプレイ
28日前
沖電気工業株式会社
光導波路素子
28日前
沖電気工業株式会社
光導波路素子
28日前
続きを見る
他の特許を見る