TOP
|
特許
|
意匠
|
商標
特許ウォッチ
Twitter
他の特許を見る
10個以上の画像は省略されています。
公開番号
2025138859
公報種別
公開特許公報(A)
公開日
2025-09-25
出願番号
2025114223,2023564806
出願日
2025-07-07,2022-10-26
発明の名称
パルス光生成装置、パルス光生成方法及び加工装置
出願人
株式会社ニコン
代理人
個人
,
個人
,
個人
主分類
G02F
1/35 20060101AFI20250917BHJP(光学)
要約
【課題】波長変換時に発生するパルス面のチルト、ポインティングの変化を減らすことができるパルス光生成装置を提供する。
【解決手段】パルス光生成装置10は、パルス光が入射し、第1パルス光を波長変換した第2パルス光を出射する非線形光学結晶20と、非線形光学結晶から出射される第2パルス光の進路上に配置され、入射したパルス光の周波数帯域に含まれる周波数の変化量に対するパルス光の周波数成分ごとの非線形光学結晶からの出射角の変化量の割合を減じた第3パルス光を出射する回折格子30と、を備える。
【選択図】図1
特許請求の範囲
【請求項1】
パルス光源から出射される第1パルス光が入射し、前記第1パルス光を波長変換した第2パルス光を出射する非線形光学結晶と、
前記非線形光学結晶から出射される前記第2パルス光の進路上に配置され、入射したパルス光の周波数の変化量に対するポインティングの変化量の割合を減じた第3パルス光を出射する回折格子と、
を備える、パルス光生成装置。
続きを表示(約 1,100 文字)
【請求項2】
前記進路上の前記非線形光学結晶と前記回折格子との間に配置され、前記非線形光学結晶から入射した前記第2パルス光の周波数の変化量に対するポインティングの変化量を縮小又は拡大した第4パルス光を出射する光学系をさらに備え、
前記回折格子は、入射する前記第4パルス光の前記変化量の割合を減じたパルス光を前記第3パルス光として出射する、
請求項1に記載のパルス光生成装置。
【請求項3】
前記光学系は、
前記進路上の前記非線形光学結晶と前記回折格子との間に配置された第1レンズと、
前記進路上の前記第1レンズと前記回折格子との間に配置された第2レンズと、
を有し、
前記非線形光学結晶の出射面と前記回折格子の格子面とは互いに共役の位置に配置されている、
請求項2に記載のパルス光生成装置。
【請求項4】
前記第1レンズの焦点距離をf1と表し、前記第2レンズの焦点距離をf2と表すと、
前記第1レンズと前記第2レンズとの距離は(f1+f2)である、
請求項3に記載のパルス光生成装置。
【請求項5】
前記非線形光学結晶によるポインティングの変化をαcと表し、前記回折格子によるポインティングの変化をαgと表すと、次に示す(1)式が成り立つ、
請求項4に記載のパルス光生成装置。
TIFF
2025138859000025.tif
17
170
【請求項6】
前記パルス光の前記回折格子の格子面への入射角度と前記第3パルス光の前記格子面からの出射角度とは互いに略等しい、
請求項1から5の何れか一項に記載のパルス光生成装置。
【請求項7】
パルス光源から入射した第1パルス光を波長変換した第2パルス光を非線形光学結晶から回折格子に向けて出射するステップと、
前記第2パルス光の周波数の変化量に対するポインティングの変化量の割合を減じた第3パルス光を出射するステップと、
を備える、パルス光生成方法。
【請求項8】
第1パルス光を出射するパルス光源と、
前記パルス光源から出射される前記第1パルス光を波長変換した第2パルス光を出射する非線形光学結晶と、
前記非線形光学結晶から出射される前記第2パルス光の進路上に配置され、入射したパルス光の周波数の変化量に対するポインティングの変化量の割合を減じた第3パルス光を出射する回折格子と、
前記回折格子から出射される前記第3パルス光を被加工物に照射し、前記被加工物を加工する加工部と、備える、
加工装置。
発明の詳細な説明
【技術分野】
【0001】
本発明は、パルス光生成装置、パルス光生成方法及び加工装置に関する。
本願は、2021年11月30日に出願された日本国特願2021-194049号に基づき優先権を主張し、その内容をここに援用する。
続きを表示(約 1,800 文字)
【背景技術】
【0002】
従来、近赤外の波長を有する第1レーザ超短パルス光と、非線形光学結晶ユニットを用いて第1レーザ超短パルス光を波長変換することで生成され且つ紫外の波長を有する第2レーザ超短パルス光とを被加工物体に照射し、2種類のレーザ超短パルス光によって効率良く加工する方法が知られている。(例えば、特許文献1参照)。
【先行技術文献】
【特許文献】
【0003】
特開2008-272794号公報
【発明の概要】
【0004】
本発明の一態様は、パルス光源から出射される第1パルス光が入射し、第1パルス光を波長変換した第2パルス光を出射する非線形光学結晶と、非線形光学結晶から出射される第2パルス光の進路上に配置され、入射したパルス光の周波数の変化量に対するポインティングの変化量の割合を減じた第3パルス光を出射する回折格子と、を備えるパルス光生成装置である。
【0005】
本発明の一態様は、パルス光源から入射した第1パルス光を波長変換した第2パルス光を非線形光学結晶から回折格子に向けて出射するステップと、非線形光学結晶から出射される第2パルス光の進路上で、回折格子に入射するパルス光の周波数の変化量に対するポインティングの変化量の割合を減じた第3パルス光を出射するステップと、を備えるパルス光生成方法である。
【0006】
本発明の一態様は、第1パルス光を出射するパルス光源と、パルス光源から出射される第1パルス光を波長変換した第2パルス光を出射する非線形光学結晶と、非線形光学結晶から出射される第2パルス光の進路上に配置され、入射したパルス光の周波数の変化量に対するポインティングの変化量の割合を減じた第3パルス光を出射する回折格子と、回折格子から出射される第3パルス光を被加工物に照射し、被加工物を加工する加工部と、備える加工装置である。
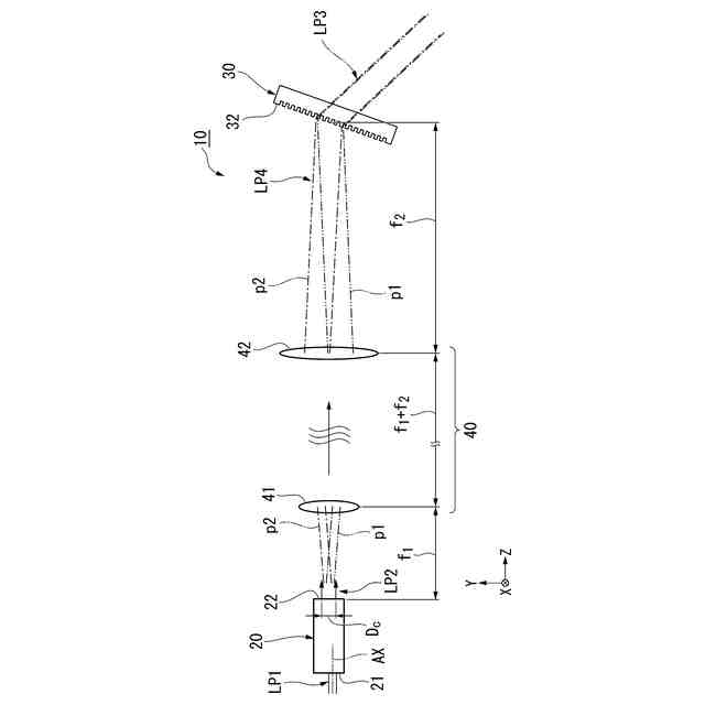
【図面の簡単な説明】
【0007】
本実施形態のパルス光生成装置の構成を示す図である。
図1に示すパルス光生成装置の非線形光学結晶での第2高調波発生の様子を示す図である。
図1に示すパルス光生成装置の回折格子で発生するパルス光のチルト量を説明するための図である。
図1に示すパルス光生成装置の非線形光学結晶の角度と屈折率との関係を示す図である。
図1に示すパルス光生成装置の非線形光学結晶から出射される第2高調波のパルス面と第2パルス光の角度による色分散との関係を示す図である。
回折格子によるパルス面の補正及びパルス光の色分散の補正について示す図である。
回折格子によるパルス面の補正及びパルス光の色分散の補正について示す別の図である。
本実施形態のパルス光生成方法のフローチャートである。
本実施形態の加工装置の構成を示す図である。
【発明を実施するための形態】
【0008】
以下、本実施形態について図面を参照して説明する。本実施形態の以下の詳細な説明は、例示的なものに過ぎず、限定するものではない。図面及び以下の詳細な説明の全体にわたって、同じ又は同様の参照符号が使用される。
【0009】
[パルス光生成装置]
図1は、本実施形態のパルス光生成装置10の構成を示す図である。パルス光生成装置10は、非線形光学結晶によって波長変換されたパルス光のビーム品質を回折格子によって高める装置である。図1に示すように、パルス光生成装置10は、少なくとも非線形光学結晶20と、回折格子30と、を備え、拡大縮小光学系(光学系)40をさらに備える。
【0010】
非線形光学結晶20は、不図示のパルス光源から出射される第1パルス光LP1を波長変換し、第1パルス光LP1の波長帯域とは異なる波長帯域を有する第2パルス光LP2を出射する結晶である。第2パルス光LP2の波長帯域は、パルス光生成装置10の用途等に応じて決まる領域であり、例えば紫外(ultraviolet:UV)領域又は可視領域である。第1パルス光LP1の波長帯域は、第2パルス光LP2の波長帯域及び非線形光学結晶20の材料によって決まり、例えば近赤外(infrared:IR)領域又は可視領域である。
(【0011】以降は省略されています)
この特許をJ-PlatPat(特許庁公式サイト)で参照する
関連特許
株式会社ニコン
撮像素子
8日前
株式会社ニコン
撮像素子及び撮像装置
5日前
株式会社ニコン
撮像素子及び撮像装置
8日前
株式会社ニコン
撮像ユニットおよび撮像装置
5日前
株式会社ニコン
変倍光学系、光学機器、および変倍光学系の製造方法
5日前
株式会社ニコン
画像処理方法、画像処理装置、及び画像処理プログラム
5日前
東レ株式会社
積層フィルム
3日前
アイカ工業株式会社
反射防止フィルム
9日前
スタンレー電気株式会社
照明装置
4日前
日本電気株式会社
光集積回路素子
1日前
日東電工株式会社
調光フィルム
2日前
住友化学株式会社
積層体
1日前
日本分光株式会社
赤外顕微鏡
8日前
日本精機株式会社
ヘッドアップディスプレイ装置
2日前
旭化成株式会社
成形体
8日前
旭化成株式会社
成形体
8日前
キヤノン株式会社
レンズ装置および撮像装置
2日前
住友ベークライト株式会社
積層体の製造方法
2日前
キヤノン株式会社
画像表示装置
8日前
キヤノン株式会社
レンズ装置および撮像装置
10日前
Orbray株式会社
MEMS光スイッチの制御方法
2日前
レーザーテック株式会社
検査装置及び検査方法
12日前
古河電気工業株式会社
光モジュール、光接続構造
2日前
住友化学株式会社
偏光板及び画像表示装置
3日前
京セラ株式会社
走査装置及び制御装置
1日前
住友ベークライト株式会社
光学シート
1日前
京セラ株式会社
走査装置及び制御装置
1日前
日東電工株式会社
積層光学部材及び光学装置
1日前
TDK株式会社
メタサーフェスレンズ
1日前
住友ベークライト株式会社
光学性積層体
1日前
住友ベークライト株式会社
光学性積層体
1日前
日本カーバイド工業株式会社
微小球型再帰反射シート
1日前
日本カーバイド工業株式会社
微小球型再帰反射シート
1日前
KDDI株式会社
光増幅器
9日前
国立大学法人徳島大学
光共振器、及び光周波数コム発生装置
2日前
エピフォトニクス株式会社
光導波路素子
9日前
続きを見る
他の特許を見る