TOP
|
特許
|
意匠
|
商標
特許ウォッチ
Twitter
他の特許を見る
10個以上の画像は省略されています。
公開番号
2025139239
公報種別
公開特許公報(A)
公開日
2025-09-26
出願番号
2024038061
出願日
2024-03-12
発明の名称
サーバ装置、サーバ装置の制御方法及びプログラム
出願人
日本電気株式会社
代理人
個人
主分類
G08G
1/123 20060101AFI20250918BHJP(信号)
要約
【課題】モビリティサービスの利用者の家族等が抱く不安を解消する、サーバ装置を提供する。
【解決手段】サーバ装置は、記憶手段と、認証手段と、通知制御手段と、を備える。記憶手段は、所定のサービスの各会員それぞれについて、生体情報と各会員とは異なる人物の連絡先を対応付けて記憶する。認証手段は、車両に乗車しようとする被認証者の生体情報を取得し、取得した生体情報と記憶された複数の生体情報を用いて被認証者を認証すると共に、認証結果を車両に通知する。通知制御手段は、車両が、認証成功と判定された被認証者の輸送を開始すると、認証成功と判定された被認証者に対応付けて記憶された人物に対して、認証成功と判定された被認証者が車両に乗車した旨を通知する。
【選択図】図1
特許請求の範囲
【請求項1】
所定のサービスの各会員それぞれについて、生体情報と前記各会員とは異なる人物の連絡先を対応付けて記憶する、記憶手段と、
車両に乗車しようとする被認証者の生体情報を取得し、前記取得した生体情報と前記記憶された複数の生体情報を用いて前記被認証者を認証すると共に、認証結果を前記車両に通知する、認証手段と、
前記車両が、認証成功と判定された前記被認証者の輸送を開始すると、前記認証成功と判定された被認証者に対応付けて記憶された人物に対して、前記認証成功と判定された被認証者が前記車両に乗車した旨を通知する、通知制御手段と、
を備える、サーバ装置。
続きを表示(約 1,800 文字)
【請求項2】
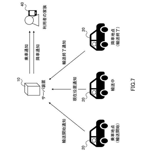
前記通知制御手段は、前記車両が、前記認証成功と判定された被認証者の輸送を終了すると、前記認証成功と判定された被認証者に対応付けて記憶された人物に対して、前記認証成功と判定された被認証者が前記車両から降車した旨を通知する、請求項1に記載のサーバ装置。
【請求項3】
前記通知制御手段は、
前記認証成功と判定された被認証者が前記車両に乗車した乗車地点に関する情報を含む輸送開始通知を前記車両から受信し、
前記輸送開始通知の受信に応じて、前記乗車地点に関する情報を含む乗車通知を前記認証成功と判定された被認証者に対応付けて記憶された人物が所持する端末に送信する、請求項2に記載のサーバ装置。
【請求項4】
前記通知制御手段は、
前記認証成功と判定された被認証者の輸送を終了した降車地点に関する情報を含む輸送終了通知を前記車両から受信し、
前記輸送終了通知の受信に応じて前記降車地点に関する情報を含む降車通知を前記認証成功と判定された被認証者に対応付けて記憶された人物が所持する端末に送信する、請求項3に記載のサーバ装置。
【請求項5】
前記認証手段は、
前記車両の内部を撮影することで得られた画像データに写る複数の生体情報を取得し、
前記取得した複数の生体情報それぞれに対応する人物が前記所定のサービスの会員か否か判定し、前記車両に乗車している前記会員の人数と前記車両に乗車している前記会員ではない非会員の人数を前記車両に通知する、請求項1乃至4のいずれか一項に記載のサーバ装置。
【請求項6】
前記認証手段は、
前記車両の内部を撮影することで得られた画像データに写る複数の生体情報を取得し、
前記取得した複数の生体情報それぞれに対応する人物が前記所定のサービスの会員か否か判定し、
前記取得した複数の生体情報それぞれに対応する人物のなかに前記所定のサービスの会員ではない非会員が含まれる場合、不審者が乗車している旨を前記車両に通知する、請求項1乃至4のいずれか一項に記載のサーバ装置。
【請求項7】
前記認証手段は、
前記取得した複数の生体情報それぞれに対応する人物のなかに前記所定のサービスの会員ではない非会員が含まれる場合、前記不審者が前記車両に乗車している旨を、前記車両に乗車している前記所定のサービスの会員に対応付けて記憶された人物、警察及び警備会社のうち少なくとも1つに通知する、請求項6に記載のサーバ装置。
【請求項8】
前記所定のサービスは、前記車両のサブスクリプションサービスである、請求項1乃至4のいずれか一項に記載のサーバ装置。
【請求項9】
所定のサービスの各会員それぞれについて、生体情報と前記各会員とは異なる人物の連絡先を対応付けて記憶する、記憶工程と、
車両に乗車しようとする被認証者の生体情報を取得し、前記取得した生体情報と前記記憶された複数の生体情報を用いて前記被認証者を認証すると共に、認証結果を前記車両に通知する、認証工程と、
前記車両が、認証成功と判定された前記被認証者の輸送を開始すると、前記認証成功と判定された被認証者に対応付けて記憶された人物に対して、前記認証成功と判定された被認証者が前記車両に乗車した旨を通知する、通知制御工程と、
を備える、サーバ装置の制御方法。
【請求項10】
サーバ装置に搭載されたコンピュータに、
所定のサービスの各会員それぞれについて、生体情報と前記各会員とは異なる人物の連絡先を対応付けて記憶する、記憶処理と、
車両に乗車しようとする被認証者の生体情報を取得し、前記取得した生体情報と前記記憶された複数の生体情報を用いて前記被認証者を認証すると共に、認証結果を前記車両に通知する、認証処理と、
前記車両が、認証成功と判定された前記被認証者の輸送を開始すると、前記認証成功と判定された被認証者に対応付けて記憶された人物に対して、前記認証成功と判定された被認証者が前記車両に乗車した旨を通知する、通知制御処理と、
を実行させるためのプログラム。
発明の詳細な説明
【技術分野】
【0001】
本発明は、サーバ装置、サーバ装置の制御方法及びプログラムに関する。
続きを表示(約 1,800 文字)
【背景技術】
【0002】
自立走行車両を用いたモビリティサービスに関する技術が存在する。
【0003】
例えば、特許文献1には、自律走行する車両を用いてライドシェアサービスを提供する場合に、依頼情報とは異なる状態で車両が出発することを抑制する、と記載されている。特許文献1に記載された車両の制御装置は、自律走行によってライドシェアサービスを提供するように構成された車両を制御する。車両の制御装置は、第1情報取得部と、第2情報取得部と、判定部と、車両制御部と、を備える。第1情報取得部は、ライドシェアサービスの利用が想定される乗客の第1情報を取得する。第2情報取得部は、ピックアップ地点において車両に乗車した乗客の第2情報を取得する。判定部は、第1情報と第2情報とを照合することによって車両の出発の可否を判定する。車両制御部は、判定部による判定結果に基づいて車両を制御する。判定部は、第1情報と第2情報とが一致しない場合には、車両の出発を禁止する。
【先行技術文献】
【特許文献】
【0004】
特開2020-077167号公報
【発明の概要】
【発明が解決しようとする課題】
【0005】
タクシーを対象としたサブスクリプションサービスが始まっている。当該サブスクリプションサービスの利用者として、学校や病院に通う子供や高齢者が想定される。ここで、子供や高齢者の家族は、子供や高齢者が正しくタクシーに乗車したか否か、タクシーから降車したか否かを気遣うことが多い。
【0006】
特許文献1をはじめとして、モビリティサービスを利用する利用者が抱く家族の不安を解消するような技術は存在しない。
【0007】
本発明は、モビリティサービスの利用者の家族等が抱く不安を解消することに寄与する、サーバ装置、サーバ装置の制御方法及びプログラムを提供することを主たる目的とする。
【課題を解決するための手段】
【0008】
本発明の第1の視点によれば、所定のサービスの各会員それぞれについて、生体情報と前記各会員とは異なる人物の連絡先を対応付けて記憶する、記憶手段と、車両に乗車しようとする被認証者の生体情報を取得し、前記取得した生体情報と前記記憶された複数の生体情報を用いて前記被認証者を認証すると共に、認証結果を前記車両に通知する、認証手段と、前記車両が、認証成功と判定された前記被認証者の輸送を開始すると、前記認証成功と判定された被認証者に対応付けて記憶された人物に対して、前記認証成功と判定された被認証者が前記車両に乗車した旨を通知する、通知制御手段と、を備える、サーバ装置が提供される。
【0009】
本発明の第2の視点によれば、所定のサービスの各会員それぞれについて、生体情報と前記各会員とは異なる人物の連絡先を対応付けて記憶する、記憶工程と、車両に乗車しようとする被認証者の生体情報を取得し、前記取得した生体情報と前記記憶された複数の生体情報を用いて前記被認証者を認証すると共に、認証結果を前記車両に通知する、認証工程と、前記車両が、認証成功と判定された前記被認証者の輸送を開始すると、前記認証成功と判定された被認証者に対応付けて記憶された人物に対して、前記認証成功と判定された被認証者が前記車両に乗車した旨を通知する、通知制御工程と、を備える、サーバ装置の制御方法が提供される。
【0010】
本発明の第3の視点によれば、サーバ装置に搭載されたコンピュータに、所定のサービスの各会員それぞれについて、生体情報と前記各会員とは異なる人物の連絡先を対応付けて記憶する、記憶処理と、車両に乗車しようとする被認証者の生体情報を取得し、前記取得した生体情報と前記記憶された複数の生体情報を用いて前記被認証者を認証すると共に、認証結果を前記車両に通知する、認証処理と、前記車両が、認証成功と判定された前記被認証者の輸送を開始すると、前記認証成功と判定された被認証者に対応付けて記憶された人物に対して、前記認証成功と判定された被認証者が前記車両に乗車した旨を通知する、通知制御処理と、を実行させるためのプログラムが提供される。
【発明の効果】
(【0011】以降は省略されています)
この特許をJ-PlatPat(特許庁公式サイト)で参照する
関連特許
日本電気株式会社
分析装置
3日前
日本電気株式会社
マルチバンドバラン
21日前
日本電気株式会社
量子回路装置と制御方法
3日前
日本電気株式会社
検知装置および検知方法
3日前
日本電気株式会社
量子回路装置と制御方法
3日前
日本電気株式会社
端末装置および無線通信方法
14日前
日本電気株式会社
機器冷却装置及びその冷却方法
15日前
日本電気株式会社
共振器及びそれを備えた導波回路
1日前
日本電気株式会社
プログラム、算出装置、及び方法
15日前
日本電気株式会社
システム及びマイグレーション方法
3日前
日本電気株式会社
ピーク抑圧装置及びピーク抑圧方法
13日前
日本電気株式会社
推定装置、推定方法及びプログラム
6日前
日本電気株式会社
推定装置、推定方法及びプログラム
6日前
日本電気株式会社
処理装置、処理方法、及びプログラム
3日前
日本電気株式会社
画像管理システムおよび画像管理方法
1日前
日本電気株式会社
予測システム、予測方法及びプログラム
6日前
日本電気株式会社
管理システム、管理方法及びプログラム
13日前
日本電気株式会社
通信システム及びパケット順序補正方法
14日前
日本電気株式会社
判定装置、判定方法、及び、プログラム
23日前
日本電気株式会社
映像伝送装置、映像伝送方法、プログラム
3日前
日本電気株式会社
映像処理装置、映像処理方法、プログラム
3日前
日本電気株式会社
情報処理システム、処理方法、プログラム
3日前
日本電気株式会社
マルチコアファイバ増幅器及び光増幅方法
21日前
日本電気株式会社
処理システム、処理方法およびプログラム
6日前
日本電気株式会社
管理装置、管理方法および管理プログラム
1日前
日本電気株式会社
画像選択装置、画像選択方法及び記憶媒体
1日前
日本電気株式会社
情報処理装置、情報処理方法、プログラム
1日前
日本電気株式会社
自動可変チルト装置及び光信号利得等化方法
22日前
日本電気株式会社
処理システム、処理方法、およびプログラム
1日前
日本電気株式会社
情報収集装置、情報収集方法及びプログラム
22日前
日本電気株式会社
人数計数装置、人数計数方法及びプログラム
13日前
日本電気株式会社
情報処理装置、情報処理方法及びプログラム
6日前
日本電気株式会社
情報処理装置、情報処理方法及びプログラム
1日前
日本電気株式会社
処理システム、処理方法、およびプログラム
3日前
日本電気株式会社
処理システム、処理方法、およびプログラム
1日前
日本電気株式会社
処理システム、処理方法、およびプログラム
3日前
続きを見る
他の特許を見る