TOP
|
特許
|
意匠
|
商標
特許ウォッチ
Twitter
他の特許を見る
公開番号
2025139131
公報種別
公開特許公報(A)
公開日
2025-09-26
出願番号
2024037907
出願日
2024-03-12
発明の名称
情報処理装置、情報処理方法及びプログラム
出願人
日本電気株式会社
代理人
個人
,
個人
主分類
G06Q
50/10 20120101AFI20250918BHJP(計算;計数)
要約
【課題】問い合わせ内容の重要度に応じてより適切な担当者を割り当てる情報処理装置、情報処理方法及びプログラムを提供する。
【解決手段】情報処理装置は、問い合わせ情報に含まれる問い合わせ内容の重要度であって所定の数の段階のいずれかを示す重要度を取得し、複数の担当者の技術レベルであって前記段階の数と同じ数の段階のいずれかを示す技術レベルを取得し、複数の担当者の中から、重要度が示す段階と技術レベルが示す段階との一致度が高い担当者を、問い合わせに対応する担当者として特定する。
【選択図】図7
特許請求の範囲
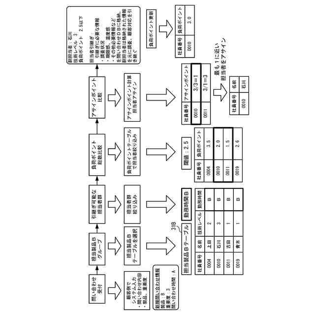
【請求項1】
問い合わせ情報に含まれる問い合わせ内容の重要度であって所定の数の段階のいずれかを示す重要度を取得する重要度取得部と、
複数の担当者の技術レベルであって前記段階の数と同じ数の段階のいずれかを示す技術レベルを取得する技術レベル取得部と、
前記複数の担当者の中から、前記重要度が示す段階と前記技術レベルが示す段階との一致度が高い担当者を、問い合わせに対応する担当者として特定する担当者特定部と、
を備えることを特徴とする情報処理装置。
続きを表示(約 2,000 文字)
【請求項2】
問い合わせの対象製品に対応付けて構成された複数のグループのうち、前記複数の担当者の各々が対応可能な製品に対応するグループに対応付けて登録された前記複数の担当者の情報を記憶する記憶部を更に備え、
前記担当者特定部は、前記複数のグループのうち、前記問い合わせ情報に含まれる問い合わせの対象製品に対応するグループを選択し、該選択したグループに登録されている担当者の中から、前記重要度が示す段階と前記技術レベルが示す段階との一致度が高い担当者を、前記問い合わせに対応する担当者として特定する
ことを特徴とする請求項1に記載の情報処理装置。
【請求項3】
前記記憶部は、前記複数のグループの各々に登録されている前記複数の担当者の情報毎に、各担当者の勤務時間を紐付けて記憶しており、
前記選択したグループに含まれる担当者の中から、前記問い合わせ情報を受け付けた問い合わせ時間に対応する勤務時間を有する担当者を絞り込む担当者絞り込み部を更に備え、
前記担当者特定部は、前記担当者絞り込み部によって絞り込まれた担当者の中から、前記重要度が示す段階と前記技術レベルが示す段階との一致度が高い担当者を、前記問い合わせに対応する担当者として特定する
ことを特徴とする請求項2に記載の情報処理装置。
【請求項4】
前記記憶部は、前記複数のグループの各々に登録されている前記複数の担当者の情報毎に、少なくとも前記問い合わせに対応する担当者に特定される度に更新される負荷ポイントを紐付けて記憶しており、
前記選択したグループに含まれる担当者の中から、前記負荷ポイントが閾値未満の担当者を絞り込む負荷ポイント比較部を更に備え、
前記担当者特定部は、前記負荷ポイント比較部によって絞り込まれた担当者の中から、前記重要度が示す段階と前記技術レベルが示す段階との一致度が高い担当者を、前記問い合わせに対応する担当者として特定する
ことを特徴とする請求項2又は3に記載の情報処理装置。
【請求項5】
前記担当者特定部は、前記負荷ポイント比較部によって絞り込まれた担当者の中から、前記重要度が示す段階に対する前記技術レベルが示す段階の割合を算出し、当該割合が1に近い担当者を、前記問い合わせに対応する担当者として特定する
ことを特徴とする請求項4に記載の情報処理装置。
【請求項6】
前記問い合わせに対応する担当者として特定した当該担当者の前記負荷ポイントを、前記重要度が示す段階に対する前記技術レベルが示す段階の割合に基づいて更新する更新部を更に備える
ことを特徴とする請求項5に記載の情報処理装置。
【請求項7】
前記担当者絞り込み部は、前記選択したグループに応付けて登録されている担当者の中から、前記問い合わせに対応する担当者から引継ぎ可能な勤務時間を有する担当者を絞り込み、
前記担当者特定部は、前記担当者絞り込み部によって絞り込まれた担当者の中から、前記重要度が示す段階と前記技術レベルが示す段階との一致度が高い担当者を、前記問い合わせに対応する副担当者として特定する
ことを特徴とする請求項3に記載の情報処理装置。
【請求項8】
前記担当者特定部は、前記特定された副担当者に対して、前記問い合わせに対する調査状況、期限感、温度感、その他の必要情報を含む引継ぎに必要な情報を提供する
ことを特徴とする請求項7に記載の情報処理装置。
【請求項9】
問い合わせ情報に含まれる問い合わせ内容の重要度であって所定の数の段階のいずれかを示す重要度を取得するステップと、
複数の担当者の技術レベルであって前記段階の数と同じ数の段階のいずれかを示す技術レベルを取得するステップと、
前記複数の担当者の中から、前記重要度が示す段階と前記技術レベルが示す段階との一致度が高い担当者を、問い合わせに対応する担当者として特定するステップと、
を含むことを特徴とする情報処理方法。
【請求項10】
情報処理装置のコンピュータに、
問い合わせ情報に含まれる問い合わせ内容の重要度であって所定の数の段階のいずれかを示す重要度を取得する重要度取得機能、
複数の担当者の技術レベルであって前記段階の数と同じ数の段階のいずれかを示す技術レベルを取得する技術レベル取得機能、
前記複数の担当者の中から、前記重要度が示す段階と前記技術レベルが示す段階との一致度が高い担当者を、問い合わせに対応する担当者として特定する担当者特定機能、
として機能させることを特徴とするプログラム。
発明の詳細な説明
【技術分野】
【0001】
本開示は、情報処理装置、情報処理方法及びプログラムに関する。
続きを表示(約 1,500 文字)
【背景技術】
【0002】
製品の問い合わせサポート業務では、担当者の割り当てる際、単純に担当者をラウンドロビン(持ち回り)で割り当てる手法や、各担当者の勤務時間などを考慮することでより効率的に多数の人員を自動で割り当てる手法が知られている。
【0003】
例えば、特許文献1には、個人の能力や業務の内容に基づいて、作業者間での作業時間のばらつきが少なく、及び/又は各業務に要するのべ作業時間が少ない人員配置を行う人員配置支援装置が記載されている。
【先行技術文献】
【特許文献】
【0004】
特開2006-285773号
【発明の概要】
【発明が解決しようとする課題】
【0005】
製品の問い合わせサポート業務においては、しばしば24時間、突発的な問い合わせ業務への対応が求められることが多く、対応時間、対応の質が顧客への満足度に直結するため、様々な問い合わせ内容の重要度に応じて、担当製品とその担当者毎の技術レベル、タ当社の勤務時間など、より多くの要素を考慮して最適な人材を割り当てる必要がある。
【0006】
特許文献1に記載された人員配置支援装置は、予め決められた作業に対して、個人の能力や業務の内容に基づいて、作業時間のばらつきや、各業務に要するのべ作業時間が少なくなるように人員配置を行うことを目的としている。このため、24時間、突発的に発生する問い合わせに対して、特に、問い合わせの重要度を考慮して適切な人員を割り当てることができない。
【0007】
本開示の目的は、上述の課題を解決する情報処理装置、情報処理方法及びプログラムを提供することにある。
【課題を解決するための手段】
【0008】
本開示の一態様に係る情報処理装置は、問い合わせ情報に含まれる問い合わせ内容の重要度であって所定の数の段階のいずれかを示す重要度を取得する重要度取得部と、複数の担当者の技術レベルであって前記段階の数と同じ数の段階のいずれかを示す技術レベルを取得する技術レベル取得部と、前記複数の担当者の中から、前記重要度が示す段階と前記技術レベルが示す段階との一致度が高い担当者を、問い合わせに対応する担当者として特定する担当者特定部と、を備える。
【0009】
本開示の一態様に係る情報処理方法は、問い合わせ情報に含まれる問い合わせ内容の重要度であって所定の数の段階のいずれかを示す重要度を取得するステップと、複数の担当者の技術レベルであって前記段階の数と同じ数の段階のいずれかを示す技術レベルを取得するステップと、前記複数の担当者の中から、前記重要度が示す段階と前記技術レベルが示す段階との一致度が高い担当者を、問い合わせに対応する担当者として特定するステップと、を含む。
【0010】
本開示の一態様に係るプログラムは、情報処理装置のコンピュータに、問い合わせ情報に含まれる問い合わせ内容の重要度であって所定の数の段階のいずれかを示す重要度を取得する重要度取得機能、複数の担当者の技術レベルであって前記段階の数と同じ数の段階のいずれかを示す技術レベルを取得する技術レベル取得機能、前記複数の担当者の中から、前記重要度が示す段階と前記技術レベルが示す段階との一致度が高い担当者を、問い合わせに対応する担当者として特定する担当者特定機能、として機能させる。
【発明の効果】
(【0011】以降は省略されています)
この特許をJ-PlatPat(特許庁公式サイト)で参照する
関連特許
日本電気株式会社
分析装置
5日前
日本電気株式会社
学習装置
29日前
日本電気株式会社
原子発振器
1か月前
日本電気株式会社
超伝導量子回路
25日前
日本電気株式会社
マルチバンドバラン
23日前
日本電気株式会社
通信装置および通信方法
1日前
日本電気株式会社
量子回路装置と制御方法
5日前
日本電気株式会社
検知装置および検知方法
5日前
日本電気株式会社
送信装置および通信装置
1日前
日本電気株式会社
量子回路装置と制御方法
5日前
日本電気株式会社
分析方法および分析システム
2日前
日本電気株式会社
端末装置および無線通信方法
16日前
日本電気株式会社
機器冷却装置及びその冷却方法
17日前
日本電気株式会社
処理装置、方法、及びプログラム
29日前
日本電気株式会社
共振器及びそれを備えた導波回路
3日前
日本電気株式会社
プログラム、算出装置、及び方法
17日前
日本電気株式会社
システム及びマイグレーション方法
5日前
日本電気株式会社
推定装置、推定方法及びプログラム
8日前
日本電気株式会社
ピーク抑圧装置及びピーク抑圧方法
15日前
日本電気株式会社
推定装置、推定方法及びプログラム
8日前
日本電気株式会社
リング共振器、およびその製造方法
1か月前
日本電気株式会社
リング共振器、およびその製造方法
1か月前
日本電気株式会社
画像管理システムおよび画像管理方法
3日前
日本電気株式会社
処理装置、処理方法、及びプログラム
5日前
日本電気株式会社
波長可変レーザ装置及びその構成方法
1日前
日本電気株式会社
推定装置、推定方法、及び、記録媒体
2日前
日本電気株式会社
通信装置、通信方法及び通信プログラム
2日前
日本電気株式会社
予測システム、予測方法及びプログラム
8日前
日本電気株式会社
管理システム、管理方法及びプログラム
15日前
日本電気株式会社
通信システム及びパケット順序補正方法
16日前
日本電気株式会社
判定装置、判定方法、及び、プログラム
25日前
日本電気株式会社
注文端末、注文受付方法及びプログラム
1日前
日本電気株式会社
画像選択装置、画像選択方法及び記憶媒体
3日前
日本電気株式会社
管理装置、管理方法および管理プログラム
3日前
日本電気株式会社
性能監視装置、性能監視方法、プログラム
1日前
日本電気株式会社
マルチコアファイバ増幅器及び光増幅方法
23日前
続きを見る
他の特許を見る