TOP
|
特許
|
意匠
|
商標
特許ウォッチ
Twitter
他の特許を見る
公開番号
2025139309
公報種別
公開特許公報(A)
公開日
2025-09-26
出願番号
2024038165
出願日
2024-03-12
発明の名称
切削インサート及び切削工具
出願人
株式会社タンガロイ
代理人
個人
,
個人
,
個人
,
個人
主分類
B23B
27/14 20060101AFI20250918BHJP(工作機械;他に分類されない金属加工)
要約
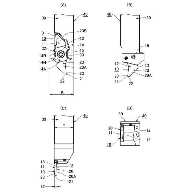
【課題】 切削インサートを有する切削工具の剛性を改善し、当該切削工具の占有スペースの狭小化を図ること。
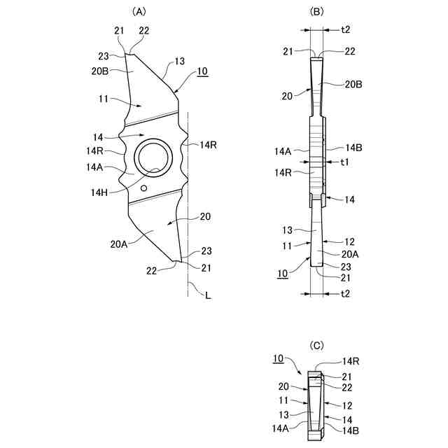
【解決手段】 第1端面11と、第2端面12と、前記第1端面11と前記第2端面12とを接続し、切れ刃21を備える周側面13とを有してなる切削インサート10であって、前記第1端面11と前記第2端面12の各輪郭形状が長手方向と短手方向とを有するものとされ、前記周側面13の少なくとも一部に前記第1端面11と前記第2端面12の各長手方向に臨むすくい面22を設けたもの。
【選択図】 図3
特許請求の範囲
【請求項1】
第1端面と、第2端面と、前記第1端面と前記第2端面とを接続し、切れ刃を備える周側面とを有してなる切削インサートであって、
前記第1端面と前記第2端面の各輪郭形状が長手方向と短手方向とを有するものとされ、
前記周側面の少なくとも一部に前記第1端面と前記第2端面の各長手方向に臨むすくい面を設けた切削インサート。
続きを表示(約 660 文字)
【請求項2】
前記第1端面と前記第2端面の各長手方向に沿う前記周側面の一方側と他方側の少なくとも一部に前記すくい面を設ける請求項1に記載の切削インサート。
【請求項3】
前記第1端面に直交する方向から視た正面視で180度回転対称をなす請求項1又は2に記載の切削インサート。
【請求項4】
前記第1端面と前記第2端面の各輪郭形状が長手方向と短手方向とを有する略平行四辺形とされる請求項3に記載の切削インサート。
【請求項5】
前記第1端面に直交する方向から視た正面視で鏡像対称をなす請求項1に記載の切削インサート。
【請求項6】
前記周側面のうちで、前記第1端面と前記第2端面の各短手方向に交差する部位に設けられて凹凸状をなす少なくとも1つの凹凸部を備える請求項1乃至5のいずれかに記載の切削インサート。
【請求項7】
前記すくい面が、前記第1端面の各長手方向に沿って前記周側面に外接する直線から離れて内側に設定される請求項1乃至6のいずれかに記載の切削インサート。
【請求項8】
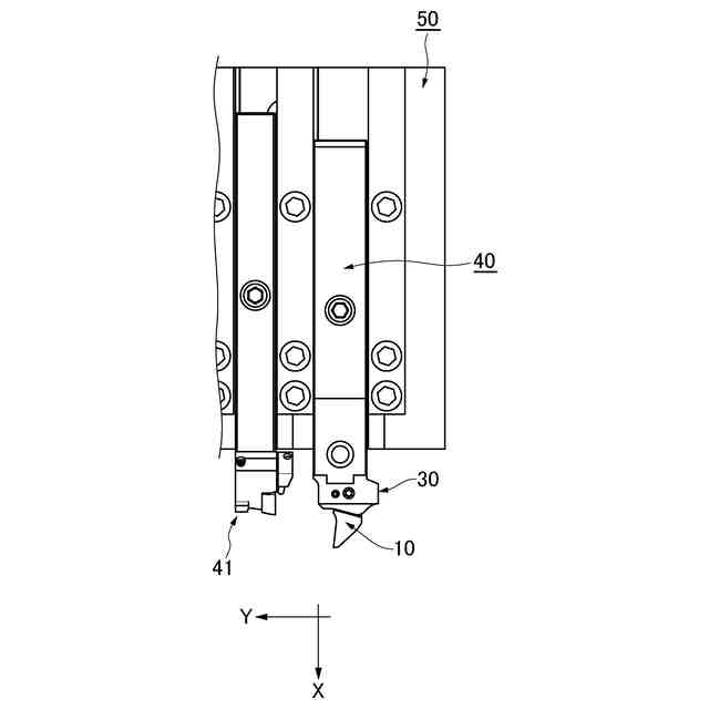
請求項1乃至7のいずれかに記載の切削インサートと、前記切削インサートが保持されるホルダとを有する切削工具。
【請求項9】
前記切削インサートが、前記ホルダの長手方向に沿って外方に突出する状態で、該ホルダの先端部に保持され、かつその長手方向の先端部に、当該長手方向に臨むすくい面を有する請求項8に記載の切削工具。
発明の詳細な説明
【技術分野】
【0001】
本発明は切削インサート及び切削工具に関する。
続きを表示(約 1,200 文字)
【背景技術】
【0002】
従来、自動盤の突切り加工等に用いられる切削インサートして、特許文献1乃至特許文献3に記載のものがある。
【0003】
特許文献1に記載のものは、ホルダに保持される略平行四辺形状をなし、その長手方向の先端部に、当該長手方向に直交する方向(横向き)に臨むすくい面を有するものである。この従来技術は、一例として、ホルダの長手方向に沿って外方に突出する状態で、該ホルダの先端部に保持される切削インサートを開示している。
【0004】
尚、特許文献1に記載の切削インサートは、本発明に係る切削インサートの外郭形状を開示している。そして、特許文献1に記載のホルダは、本発明の切削インサートでも共通化できる。
【0005】
特許文献2に記載の切削インサートは、ホルダに保持される平行四辺形状をなし、その長手方向の先端部に、当該長手方向に直交する方向(横向き)に臨むすくい面を有するものである。この切削インサートは、ホルダの長手方向に直交する外方(横向き)に突出する状態で、該ホルダの先端部に保持されるものとされている。
【0006】
特許文献3に記載の切削インサートは、ホルダが長尺で薄肉の板状ブレード部を有し、この板状ブレード部の長手方向の先端部に切削インサートを挿入し、当該長手方向に臨むすくい面を当該切削インサートに有するものとしている。
【先行技術文献】
【特許文献】
【0007】
WO2016/093275A1
特開2002-18605号公報
特表2020-506074号公報
【発明の概要】
【発明が解決しようとする課題】
【0008】
しかしながら、特許文献2に記載の切削インサートは、ホルダから横向き外方に突出する状態で該ホルダに保持されるものであるため、ホルダ及び切削インサートからなる切削工具の占有スペースが大きくなる。従って、機械が小さいにもかかわらず、被削材に複雑な形状を加工するための多くの切削工具を搭載する自動盤で特に要請される、被削材と工具の干渉、隣り合う工具同士の干渉を回避することに困難がある。
【0009】
特許文献3に記載の切削インサートは短小なものであるため、これによる被削材の加工径の制限を回避するため、この切削インサートを長尺で薄肉の板状ブレード部に挿入し、この板状ブレード部をホルダの長手方向に沿う外方に突出させて用いる。従って、切削インサートを含む切削工具の剛性確保に困難がある。
【0010】
本発明の課題は、切削インサートを有する切削工具の剛性を改善し、当該切削工具の占有スペースの狭小化を図ることにある。
【課題を解決するための手段】
(【0011】以降は省略されています)
この特許をJ-PlatPat(特許庁公式サイト)で参照する
関連特許
株式会社タンガロイ
切削工具
16日前
株式会社タンガロイ
被覆切削工具
9日前
株式会社タンガロイ
切削インサート及び切削工具
9日前
個人
タップ
5か月前
個人
フライス盤
25日前
個人
加工機
4か月前
麗豊実業股フン有限公司
ラクトバチルス・パラカセイNB23菌株及びそれを筋肉量の増加や抗メタボリック症候群に用いる用途
4か月前
日東精工株式会社
ねじ締め機
5か月前
日東精工株式会社
ねじ締め機
4か月前
株式会社不二越
ドリル
4か月前
日東精工株式会社
ねじ締め機
1か月前
株式会社不二越
ドリル
5か月前
日東精工株式会社
ねじ締め機
25日前
株式会社北川鉄工所
回転装置
3か月前
日東精工株式会社
ねじ締め装置
3か月前
株式会社ダイヘン
溶接電源装置
2か月前
日東精工株式会社
ねじ締め装置
16日前
株式会社ダイヘン
溶接電源装置
1か月前
株式会社ダイヘン
溶接電源装置
2か月前
株式会社FUJI
工作機械
2日前
株式会社FUJI
工作機械
2か月前
個人
切削油供給装置
1か月前
日東精工株式会社
多軸ねじ締め機
5か月前
株式会社FUJI
工作機械
3か月前
株式会社FUJI
工作機械
6か月前
株式会社アンド
半田付け方法
27日前
株式会社アンド
半田付け方法
4か月前
日進工具株式会社
エンドミル
5か月前
株式会社アンド
半田付け方法
4か月前
個人
型枠製造装置のフレーム
6日前
エフ・ピー・ツール株式会社
リーマ
5か月前
株式会社ダイヘン
多層盛り溶接方法
5か月前
キヤノン電子株式会社
加工システム
1か月前
村田機械株式会社
レーザ加工機
4か月前
ブラザー工業株式会社
工作機械
5か月前
村田機械株式会社
レーザ加工機
4か月前
続きを見る
他の特許を見る