TOP
|
特許
|
意匠
|
商標
特許ウォッチ
Twitter
他の特許を見る
公開番号
2025139389
公報種別
公開特許公報(A)
公開日
2025-09-26
出願番号
2024038304
出願日
2024-03-12
発明の名称
ガスケット
出願人
NOK株式会社
代理人
弁理士法人NYTパートナーズ
主分類
F16J
15/10 20060101AFI20250918BHJP(機械要素または単位;機械または装置の効果的機能を生じ維持するための一般的手段)
要約
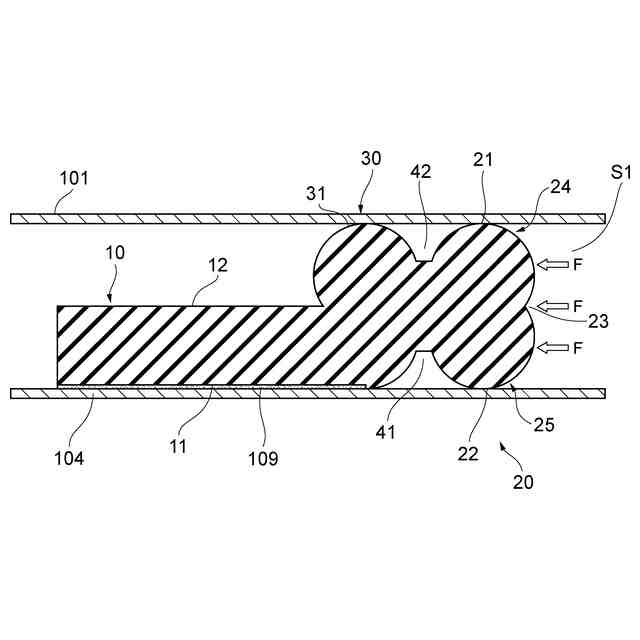
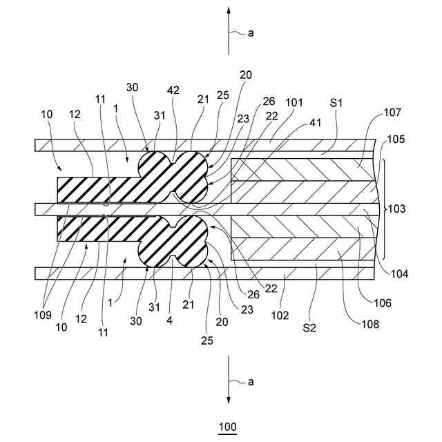
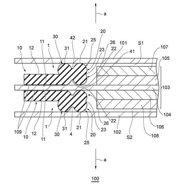
【課題】接着層の劣化を抑制することができるガスケットを提供する。
【解決手段】ガスケット1は、圧縮されて、対向する一対の部材の間の空間を密封するガスケットである。ガスケット1は、環状の接着部10と、環状のシール部20とを備えている。シール部20は、密封された空間に、接着部10が曝されないようにするようになっている。
【選択図】図1
特許請求の範囲
【請求項1】
圧縮されて、対向する一対の部材の間の空間を密封するためのガスケットであって、
環状の接着部と、
環状のシール部とを備え、
前記シール部は、前記密封された空間に、前記接着部が曝されないようにする、
ガスケット。
続きを表示(約 1,000 文字)
【請求項2】
前記シール部は、前記接着部の内周側に設けられており、
前記圧縮の方向における前記シール部の幅は、前記圧縮方向における前記接着部の幅よりも大きい、
請求項1に記載のガスケット。
【請求項3】
前記シール部は、前記一対の部材の一方に接触する環状の面である第1シール面と、前記一対の部材の他方に接触する環状の面である第2シール面とを有している、
請求項1に記載のガスケット。
【請求項4】
前記接着部は、環状の面である接着面を有しており、
前記接着面は、接着層を介して前記一対の部材の他方に接着される面である、
請求項3に記載のガスケット。
【請求項5】
前記接着部は、前記接着面に前記圧縮の方向において背向する環状の面である背向面を有しており、
前記圧縮の方向において、前記背向面は、前記第1シール面よりも前記第2シール面の側にある、
請求項4に記載のガスケット。
【請求項6】
前記第2シール面と前記接着部との間には、環状の溝である第1逃げ部が形成されており、
前記第1逃げ部は、前記前記シール部と前記接着部との間に、環状の空間を形成している、
請求項3に記載のガスケット。
【請求項7】
前記シール部は、前記第1シール面と前記第2シール面との間に、前記密封される空間に面する環状の面である側面を有しており、
前記側面は、前記密封される空間の側に突出している、
請求項3に記載のガスケット。
【請求項8】
前記シール部は、前記第1シール面と前記第2シール面との間に、前記密封される空間に面する環状の面である側面を有しており、
前記側面は、直線に沿って延びる筒面である、
請求項3に記載のガスケット。
【請求項9】
前記シール部は、前記第1シール面と前記第2シール面との間に、前記密封される空間に面する環状の面である側面を有しており、
前記側面は、前記密封される空間の側とは反対側に凹んでいる、
請求項3に記載のガスケット。
【請求項10】
前記シール部と前記接着部との間に倒れ抑止部をさらに備え、
前記倒れ抑止部は、前記シール部の倒れを抑止するようになっている、
請求項1に記載のガスケット。
(【請求項11】以降は省略されています)
発明の詳細な説明
【技術分野】
【0001】
本発明は、ガスケットに関し、特に、水電解装置や燃料電池に用いられるガスケットに関する。
続きを表示(約 1,200 文字)
【背景技術】
【0002】
水素発生装置や燃料電池の各セルにはガスケットが設けられている。ガスケットは、陽極側のセパレータ及び陰極側のセパレータ夫々と電解質膜との間で圧縮され、各セパレータと電解質膜との間の空間を密封し、これらセル内部の空間内の電解液や生成物の漏洩を防止し、また、夫々の空間内の電解液や生成物の混合を防止する(例えば、特許文献1参照)。
【先行技術文献】
【特許文献】
【0003】
特開2012-117140号公報
【発明の概要】
【発明が解決しようとする課題】
【0004】
セルの作用効率の向上のために、セパレータと電解質膜との間の幅が狭められているセパレータがある。例えば、セパレータと電解質膜との間の幅が2mm以下のセルがある。このようなセルにおいては、シールの反力が大きくなることによるセパレータの変形や破損を抑制するために、セパレータと電解質膜との間に挟まれた際に生じる反力が低くなるようなシールが用いられている。このようなシールは、セパレータ又は電解質膜に接着されて固定されており、接着層を介して固定されている。
【0005】
一方、水電解装置や燃料電池のセルに用いられるガスケットに対しては、電解液や生成物に対する耐久性も求められている。具体的には、電解液の種類に応じて、耐水性、耐酸性、又は耐アルカリ性を維持可能な耐久性能が求められている。特に、電解液に対する接着層の劣化速度は速く、ガスケットの長期の使用において、ガスケットのセパレータ又は電解質膜に対する固定状態が維持されなくなる場合があった。
【0006】
このように、水素発生装置や燃料電池のセルの従来のガスケットに対しては、接着層の劣化を防止することができる構成が求められている。
【0007】
本発明は、上述の課題に鑑みてなされたものであり、その目的は、接着層の劣化を抑制することができるガスケットを提供することにある。
【課題を解決するための手段】
【0008】
上記目的を達成するために、本発明に係るガスケットは、圧縮されて、対向する一対の部材の間の空間を密封するためのガスケットであって、環状の接着部と、環状のシール部とを備え、前記シール部は、前記密封された空間に、前記接着部が曝されないようにする。
【0009】
本発明の一態様に係るガスケットにおいて、前記シール部は、前記接着部の内周側に設けられており、前記圧縮の方向における前記シール部の幅は、前記圧縮方向における前記接着部の幅よりも大きい。
【0010】
本発明の一態様に係るガスケットにおいて、前記シール部は、前記一対の部材の一方に接触する環状の面である第1シール面と、前記一対の部材の他方に接触する環状の面である第2シール面とを有している。
(【0011】以降は省略されています)
この特許をJ-PlatPat(特許庁公式サイト)で参照する
関連特許
NOK株式会社
混練装置
4日前
NOK株式会社
密封装置
1か月前
NOK株式会社
吸音構造体
1か月前
NOK株式会社
ガスケット
7日前
NOK株式会社
ガスケット
4日前
NOK株式会社
セルユニット
4日前
NOK株式会社
セルユニット
4日前
NOK株式会社
セルユニット
4日前
NOK株式会社
セルユニット
4日前
NOK株式会社
動力伝達機構
1か月前
NOK株式会社
樹脂ゴム複合体
1か月前
NOK株式会社
トーショナルダンパ
2か月前
NOK株式会社
密封装置および密封構造
1か月前
NOK株式会社
ダストカバー、およびボールジョイント
3か月前
NOKクリューバー株式会社
潤滑グリース組成物
22日前
NOK株式会社
導電構造体及び導電密封装置
3か月前
NOK株式会社
導電性摺動部材、密封装置、密封装置の製造方法
1か月前
東ソー株式会社
バイオマス由来のクロロスルホン化ポリエチレン
2か月前
個人
流路体
8か月前
個人
鍋虫ねじ
1か月前
個人
ホース保持具
5か月前
個人
クラッチ装置
8か月前
個人
回転伝達機構
1か月前
個人
紛体用仕切弁
1か月前
個人
トーションバー
6か月前
個人
差動歯車用歯形
3か月前
個人
ジョイント
14日前
個人
ナット
15日前
株式会社不二工機
電磁弁
4か月前
株式会社不二工機
電磁弁
3か月前
個人
地震の揺れ回避装置
2か月前
個人
ボルトナットセット
6か月前
個人
回転式配管用支持具
7か月前
個人
固着具と成形品部材
8か月前
株式会社オンダ製作所
継手
7か月前
株式会社アイシン
駆動装置
8か月前
続きを見る
他の特許を見る