TOP
|
特許
|
意匠
|
商標
特許ウォッチ
Twitter
他の特許を見る
公開番号
2025139460
公報種別
公開特許公報(A)
公開日
2025-09-26
出願番号
2024038411
出願日
2024-03-12
発明の名称
車両用表示制御装置
出願人
トヨタ自動車株式会社
代理人
弁理士法人太陽国際特許事務所
主分類
G01C
21/36 20060101AFI20250918BHJP(測定;試験)
要約
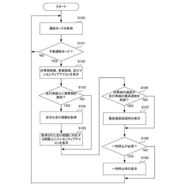
【課題】ドライバが安全運転を行うためのガイドにインセンティブを付加して表示させることができる車両用表示制御装置を提供する。
【解決手段】車両用表示制御装置10は、自車両の運転席周辺に設けられた表示領域に対して、前記自車両が走行する走行車線を模した車線画像と、前記自車両が前記走行車線を通過することによって獲得可能なインセンティブを示すアイコンと、を表示させる表示制御部54を備える。
【選択図】図2
特許請求の範囲
【請求項1】
自車両の運転席周辺に設けられた表示領域に対して、前記自車両が走行する走行車線を模した車線画像と、前記自車両が前記走行車線を通過することによって獲得可能なインセンティブを示すアイコンと、を表示させる表示制御部を備える、
車両用表示制御装置。
続きを表示(約 430 文字)
【請求項2】
前記自車両が安全に通過することが可能な前記走行車線の経路を取得する取得部を備え、
前記表示制御部は、前記経路に対応する前記車線画像上の経路に前記アイコンを表示させる、
請求項1に記載の車両用表示制御装置。
【請求項3】
前記表示制御部は、前記走行車線の経路が直進方向である場合に、前記アイコンを表示させる、
請求項2に記載の車両用表示制御装置。
【請求項4】
前記表示制御部は、前記自車両の速度及び前記走行車線の制限速度に基づいて、前記アイコンを変化して表示させる、
請求項1に記載の車両用表示制御装置。
【請求項5】
前記表示制御部は、前記走行車線上に前記自車両の停止が必要となる停止位置が存在する場合に、前記自車両が前記停止位置において停止している時間に基づいて、前記アイコンを変化して表示させる、
請求項1に記載の車両用表示制御装置。
発明の詳細な説明
【技術分野】
【0001】
開示の技術は、車両用表示制御装置に関する。
続きを表示(約 1,400 文字)
【背景技術】
【0002】
特許文献1には、現在地から目的地までの車両走行において、基準走行ルートに対してCO2排出量が削減される走行ルート(CO2削減ルート)の選択によるCO2削減走行を行ったユーザに対して報酬ポイントが付与されるインセンティブ付与システムが開示されている。
【先行技術文献】
【特許文献】
【0003】
特開2023-028544号公報
【発明の概要】
【発明が解決しようとする課題】
【0004】
特許文献1に記載の技術では、CO2排出量が削減されることに対するインセンティブを付加することはできるが、安全に走行することに対してインセンティブを付与することに関しては改善の余地がある。
【0005】
本発明は、以上の事情を鑑みてなされたものであり、ドライバが安全運転を行うためのガイドにインセンティブを付加して表示させることができる車両用表示制御装置を提供することを目的とする。
【課題を解決するための手段】
【0006】
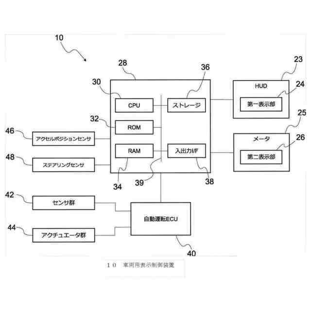
請求項1に記載の車両用表示制御装置は、自車両の運転席周辺に設けられた表示領域に対して、前記自車両が走行する走行車線を模した車線画像と、前記自車両が前記走行車線を通過することによって獲得可能なインセンティブを示すアイコンと、を表示させる表示制御部を備える。請求項1に記載の車両用表示制御装置によれば、ドライバが安全運転を行うためのガイドにインセンティブを付加して表示させることができる。
【0007】
請求項2に記載の車両用表示制御装置は、請求項1に記載の車両用表示制御装置において、前記自車両が安全に通過することが可能な前記走行車線の経路を取得する取得部を備え、前記表示制御部は、前記経路に対応する前記車線画像上の経路に前記アイコンを表示させる。請求項2に記載の車両用表示制御装置によれば、安全に通過可能であると解析された経路を通過することをドライバに対して促すことができる。
【0008】
請求項3に記載の車両用表示制御装置は、請求項1又は2に記載の車両用表示制御装置において、前記表示制御部は、前記走行車線の経路が直進方向である場合に、前記アイコンを表示させる。請求項3に記載の車両用表示制御装置によれば、直進方向にまっすぐ走ることをドライバに対して促すことができる。
【0009】
請求項4に記載の車両用表示制御装置は、請求項1から3の何れか1項に記載の車両用表示制御装置において、前記表示制御部は、前記自車両の速度及び前記走行車線の制限速度に基づいて、前記アイコンを変化して表示させる。そのため、請求項4に記載の車両用表示制御装置によれば、制限速度を超えない速度で走行することをドライバに対して促すことができる。
【0010】
請求項5に記載の車両用表示制御装置は、請求項1から4の何れか1項に記載の車両用表示制御装置において、前記表示制御部は、前記走行車線上に前記自車両の停止が必要となる停止位置が存在する場合に、前記自車両が前記停止位置において停止している時間に基づいて、前記アイコンを変化して表示させる。請求項5に記載の車両用表示制御装置によれば、自車両の停止をドライバに対して促すことができる。
【発明の効果】
(【0011】以降は省略されています)
この特許をJ-PlatPat(特許庁公式サイト)で参照する
関連特許
トヨタ自動車株式会社
電池
今日
トヨタ自動車株式会社
車両
9日前
トヨタ自動車株式会社
車両
5日前
トヨタ自動車株式会社
車両
19日前
トヨタ自動車株式会社
車両
28日前
トヨタ自動車株式会社
電池
9日前
トヨタ自動車株式会社
車両
5日前
トヨタ自動車株式会社
電池
1日前
トヨタ自動車株式会社
サーバ
13日前
トヨタ自動車株式会社
電動車
5日前
トヨタ自動車株式会社
電動車
5日前
トヨタ自動車株式会社
電動車
5日前
トヨタ自動車株式会社
電動車
1日前
トヨタ自動車株式会社
モータ
20日前
トヨタ自動車株式会社
電解液
5日前
トヨタ自動車株式会社
ケース
今日
トヨタ自動車株式会社
回転子
20日前
トヨタ自動車株式会社
電動車
7日前
トヨタ自動車株式会社
ロータ
7日前
トヨタ自動車株式会社
回転子
5日前
トヨタ自動車株式会社
電動車
19日前
トヨタ自動車株式会社
蓄電装置
9日前
トヨタ自動車株式会社
蓄電装置
9日前
トヨタ自動車株式会社
加熱装置
19日前
トヨタ自動車株式会社
蓄電装置
19日前
トヨタ自動車株式会社
電動車両
5日前
トヨタ自動車株式会社
蓄電装置
13日前
トヨタ自動車株式会社
冷却構造
12日前
トヨタ自動車株式会社
蓄電装置
9日前
トヨタ自動車株式会社
駆動装置
5日前
トヨタ自動車株式会社
蓄電装置
6日前
トヨタ自動車株式会社
二次電池
9日前
トヨタ自動車株式会社
蓄電装置
5日前
トヨタ自動車株式会社
蓄電装置
6日前
トヨタ自動車株式会社
蓄電セル
5日前
トヨタ自動車株式会社
検査装置
9日前
続きを見る
他の特許を見る