TOP
|
特許
|
意匠
|
商標
特許ウォッチ
Twitter
他の特許を見る
10個以上の画像は省略されています。
公開番号
2025139867
公報種別
公開特許公報(A)
公開日
2025-09-29
出願番号
2024038937
出願日
2024-03-13
発明の名称
有機発光装置及びその製造方法
出願人
キヤノン株式会社
代理人
個人
,
個人
主分類
H10K
71/00 20230101AFI20250919BHJP()
要約
【課題】耐水性に優れ、かつ狭額縁化が可能な有機発光装置の製造方法を提供する。
【解決手段】基板1上に複数の有機発光素子6を形成する有機発光素子形成工程と、有機発光素子6を覆い、非表示領域に溝10aを有する第一封止層7を形成する第一封止層形成工程と、第一封止層7の上に、シャドウマスク20を用いて、第二封止層8を形成する第二封止層形成工程と、を有する有機発光装置の製造方法であって、第二封止層形成工程は、シャドウマスク20の開口部の周囲を構成する端部が溝10aの上に位置するよう配置された状態で、第二封止層8を形成する工程である。
【選択図】図4
特許請求の範囲
【請求項1】
基板上に複数の有機発光素子を形成する有機発光素子形成工程と、
前記有機発光素子を覆い、非表示領域に溝を有する第一封止層を形成する第一封止層形成工程と、
前記第一封止層の上に、シャドウマスクを用いて、第二封止層を形成する第二封止層形成工程と、
を有する有機発光装置の製造方法であって、
前記第二封止層形成工程は、前記シャドウマスクの開口部の周囲を構成する端部が前記溝の上に位置するよう配置された状態で、前記第二封止層を形成する工程であることを特徴とする有機発光装置の製造方法。
続きを表示(約 910 文字)
【請求項2】
前記シャドウマスクを除去した後、前記第二封止層を覆う第三封止層を形成する第三封止層形成工程を有することを特徴とする請求項1に記載の有機発光装置の製造方法。
【請求項3】
前記第一封止層の水分透過量は、10
-5
g/m
2
/day以下であることを特徴とする請求項1または2に記載の有機発光装置の製造方法。
【請求項4】
前記第二封止層は、アスペクト比が1/10より高い構造においてコンフォーマルな堆積が可能な層であることを特徴とする請求項1または2に記載の有機発光装置の製造方法。
【請求項5】
前記基板の非表示領域に溝を形成する基板溝形成工程を有し、
前記第一封止層の前記溝は、前記基板における溝に沿って形成されていることを特徴とする請求項1または2に記載の有機発光装置の製造方法。
【請求項6】
前記基板溝形成工程は、前記基板の表示領域の周囲に沿って溝を形成する工程であることを特徴とする請求項5に記載の有機発光装置の製造方法。
【請求項7】
前記第一封止層形成工程は、前記第一封止層を、前記基板の全面に形成する工程であることを特徴とする請求項1または2に記載の有機発光装置の製造方法。
【請求項8】
前記第一封止層は、窒化珪素、酸化珪素及び窒化酸化珪素からなる群から選ばれる少なくとも一種を含むことを特徴とする請求項1または2に記載の有機発光装置の製造方法。
【請求項9】
前記第二封止層は、ヘキサメチルジシロキサン、ジメチルシロキサン、酸化アルミニウム、酸化ハフニウム、酸化ジルコニア、酸化チタンからなる群から選ばれる少なくとも一種を含むことを特徴とする請求項1または2に記載の有機発光装置の製造方法。
【請求項10】
前記第三封止層の水分透過量は、10
-5
g/m
2
/day以下であることを特徴とする請求項2に記載の有機発光装置の製造方法。
(【請求項11】以降は省略されています)
発明の詳細な説明
【技術分野】
【0001】
本発明は、有機発光装置及びその製造方法に関する。
続きを表示(約 2,900 文字)
【背景技術】
【0002】
有機ELディスプレイ等の有機発光装置は、同じ外箱(ベゼル、キャビネット)サイズでのより大きな表示領域の実現、或いは、ディスプレイサイズを維持したままでの本体小型化の実現が求められ、表示領域周辺の封止領域の狭額縁化が求められている。
表示領域周辺の封止領域を狭額縁化する技術として、特許文献1には、封止層をシャドウマスクでパターニングする方法が開示されている。
【先行技術文献】
【特許文献】
【0003】
特許第6642936号公報
【発明の概要】
【発明が解決しようとする課題】
【0004】
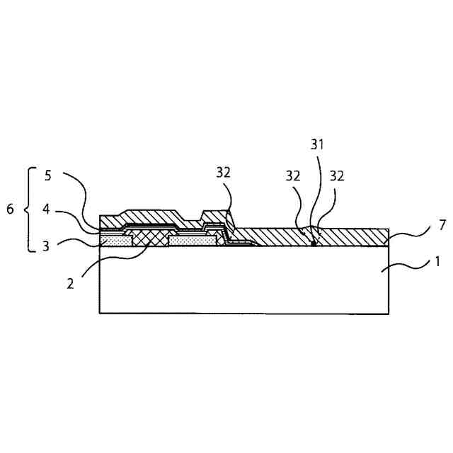
封止層には、外部から水分の浸入を防ぐ耐水性の高い層を含むことが好ましいが、耐水性の高い層は、図6に示す様に異物や段差によって亀裂を生じる場合がある。図6の有機発光装置は、基板1と、画素分離膜2と、有機発光素子6と、有機発光素子6を覆い保護する封止層7とを具備するものである。ここで、有機発光素子6は、下部電極3と、有機化合物層4と、上部電極5とをこの順に有する素子である。また、耐水性の高い封止層7は、有機発光素子6を覆う様に形成されている。封止層7は、画素分離膜2の段差や異物31で亀裂32が発生する場合がある。そこで、亀裂32を平滑化するカバーレッジ性の高い層を含むことが好ましい。さらに、カバーレッジ性の高い層は透湿性が高い場合があるため、カバーレッジ性の高い層の上に耐水性の高い封止層を積層して、カバーレッジ性の高い層の上と端部を覆うことが好ましい。
カバーレッジ性の高い層を形成するために、特許文献1のように封止層をシャドウマスクでパターニングする場合、図7に示す様に、下地とシャドウマスクが接触する部分に異物やキズが発生する。図7(a)に示す様に、耐水性の高い封止層7の上に、シャドウマスク20によって、カバーレッジ性の高い封止層8をパターニングして形成する際、シャドウマスク20のエッジで、封止層7、封止層8にキズによる異物31が発生する。そして、図7(b)のように、封止層7、封止層8の上に耐水性の高い封止層9を積層すると、このキズによる異物31周辺の亀裂32から水分が侵入して、侵入水が横浸透33によってデバイスに到達し、腐食するという問題が発生し得る。
また、シャドウマスクをリブで浮かせる等により、シャドウマスクと下地との接触を回避すると、封止層がぼけて広がり、表示領域周辺の封止領域の狭額縁化が達成できないという問題がある。
本発明は、上記課題に鑑み、耐水性に優れ、かつ狭額縁化が可能な有機発光装置及びその製造方法を提供することを目的とする。
【課題を解決するための手段】
【0005】
本発明の有機発光装置の製造方法は、
基板上に複数の有機発光素子を形成する有機発光素子形成工程と、
前記有機発光素子を覆い、非表示領域に溝を有する第一封止層を形成する第一封止層形成工程と、
前記第一封止層の上に、シャドウマスクを用いて、第二封止層を形成する第二封止層形成工程と、
を有する有機発光装置の製造方法であって、
前記第二封止層形成工程は、前記シャドウマスクの開口部の周囲を構成する端部が前記溝の上に位置するよう配置された状態で、前記第二封止層を形成する工程であることを特徴とする。
本発明の有機発光装置は、
基板上に複数の有機発光素子と、前記有機発光素子を覆う封止層と、を有する有機発光装置であって、
前記封止層は、第一封止層と前記第一封止層を覆う第二封止層とを有し、
前記第一封止層は、非表示領域に溝を有し、
前記第二封止層の端部は、前記溝の内部に形成されていることを特徴とする。
【発明の効果】
【0006】
本発明によれば、耐水性に優れ、かつ狭額縁化が可能な有機発光装置及びその製造方法を提供することができる。
【図面の簡単な説明】
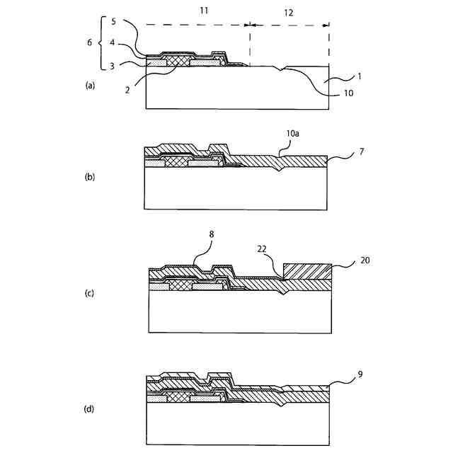
【0007】
本発明の有機発光装置の一例を示す概略図である。
図1(a)のB部の部分拡大図である。
基板の溝の形状の例を示す概略断面図である。
本発明の有機発光装置の製造方法の一例を示す概略断面図である。
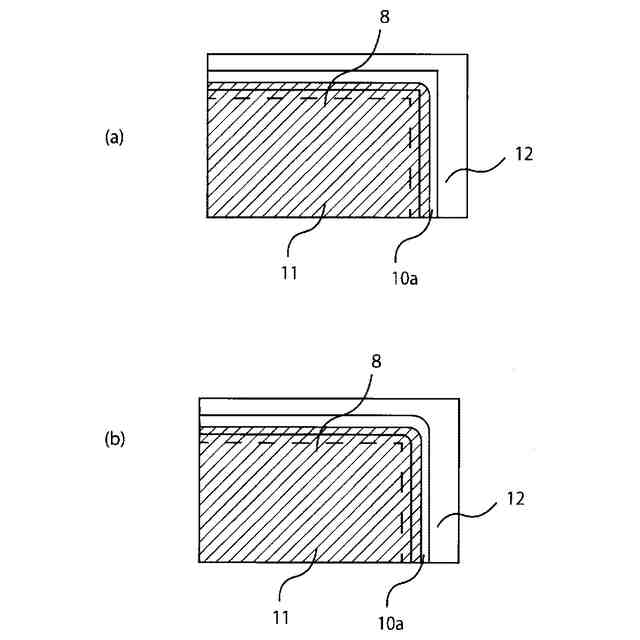
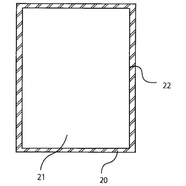
シャドウマスクの一例を示す平面図である。
異物や段差によって封止層に亀裂が生じる状況を示す概略断面図である。
シャドウマスクが接触する部分に異物やキズが発生する状況を説明する概略断面図である。
本発明の一実施形態に係る表示装置の一例を表す模式図である。
(a)本発明の一実施形態に係る撮像装置の一例を表す模式図である。(b)本発明の一実施形態に係る電子機器の一例を表す模式図である。
(a)本発明の一実施形態に係る表示装置の一例を表す模式図である。(b)折り曲げ可能な表示装置の一例を表す模式図である。
(a)本発明の一実施形態に係る照明装置の一例を示す模式図である。(b)本発明の一実施形態に係る車両用灯具を有する移動体の一例を示す模式図である。
(a)本発明の一実施形態に係るウェアラブルデバイスの一例を示す模式図である。(b)本発明の一実施形態に係るウェアラブルデバイスの他の例を示す模式図である。
(a)本発明の一実施形態に係る画像形成装置の一例を表す模式図である。(b)(c)本発明の一実施形態に係る画像形成装置の露光光源の一例を表す模式図である。
【発明を実施するための形態】
【0008】
以下、本発明の有機発光装置及びその製造方法の実施形態について説明するが、本発明はこれらの実施形態に限定されるものではない。
【0009】
<有機発光装置>
まず、本発明の有機発光装置の実施形態について図面を参照しながら説明する。図1は、本発明の有機発光装置の一例を示す概略図である。図1(a)は平面図、図1(b)は、図1(a)のA-A’断面図である。図1において、1は基板、2は画素分離膜、3は下部電極、4は有機化合物層、5は上部電極、6は有機発光素子、7は第一封止層、8は第二封止層、9は第三封止層、10、10aは溝、11は表示領域、12は非表示領域、13はパッド電極である。尚、図示の便宜上、図1(a)においては、溝10、表示領域11、非表示領域12、パッド電極13以外の図示を省略している。
【0010】
図1に示す有機発光装置は、図1(a)に示す様に、表示領域11と、表示領域11の外側の非表示領域12を有し、非表示領域12に複数のパッド電極13を有する。また、図1に示す有機発光装置は、基板1の非表示領域12に、表示領域11の周囲に沿って溝10を有する。
(【0011】以降は省略されています)
この特許をJ-PlatPat(特許庁公式サイト)で参照する
関連特許
キヤノン株式会社
トナー
2日前
キヤノン株式会社
トナー
1か月前
キヤノン株式会社
定着装置
10日前
キヤノン株式会社
電子機器
4日前
キヤノン株式会社
撮像装置
18日前
キヤノン株式会社
電子機器
1か月前
キヤノン株式会社
現像装置
1か月前
キヤノン株式会社
発光装置
1か月前
キヤノン株式会社
発光装置
9日前
キヤノン株式会社
光学装置
1か月前
キヤノン株式会社
光学機器
1か月前
キヤノン株式会社
電子機器
1か月前
キヤノン株式会社
撮像装置
1か月前
キヤノン株式会社
定着装置
25日前
キヤノン株式会社
定着装置
25日前
キヤノン株式会社
定着装置
25日前
キヤノン株式会社
記録装置
18日前
キヤノン株式会社
電子機器
1か月前
キヤノン株式会社
電子機器
27日前
キヤノン株式会社
撮像装置
1か月前
キヤノン株式会社
撮像装置
17日前
キヤノン株式会社
記録装置
17日前
キヤノン株式会社
撮像装置
16日前
キヤノン株式会社
撮像装置
1か月前
キヤノン株式会社
定着装置
16日前
キヤノン株式会社
電子機器
6日前
キヤノン株式会社
撮像装置
1か月前
キヤノン株式会社
撮像装置
10日前
キヤノン株式会社
電子機器
10日前
キヤノン株式会社
表示装置
9日前
キヤノン株式会社
電子機器
10日前
キヤノン株式会社
収容装置
10日前
キヤノン株式会社
記録装置
2日前
キヤノン株式会社
電子機器
18日前
キヤノン株式会社
発光装置
1か月前
キヤノン株式会社
電子機器
25日前
続きを見る
他の特許を見る