TOP
|
特許
|
意匠
|
商標
特許ウォッチ
Twitter
他の特許を見る
公開番号
2025139868
公報種別
公開特許公報(A)
公開日
2025-09-29
出願番号
2024038938
出願日
2024-03-13
発明の名称
表示装置及びその製造方法
出願人
キヤノン株式会社
代理人
個人
,
個人
主分類
H10K
50/852 20230101AFI20250919BHJP()
要約
【課題】干渉構造を有する表示装置において、各色の画素間での発光特性のばらつきを抑制する。
【解決手段】反射層14と第1電極17との間に配置する第1絶縁層16の厚さが、発光色の異なる画素間で異なる表示装置において、面積諧調マスクを用いて膜厚に勾配を設けたフォトレジストを形成して絶縁膜をエッチングして第1絶縁層16を形成することにより、反射層14の端部上において第1絶縁層16の斜面が基板10の第1面に対してなす角度Aが、各色の画素間で±10%以内とする。
【選択図】図1
特許請求の範囲
【請求項1】
基板の第1面上に第1画素と第2画素を有し、
前記第1画素及び第2画素はそれぞれ、反射層と、第1絶縁層と、第1電極と、前記第1電極の端部を覆う第2絶縁層と、前記第1電極及び前記第2絶縁層を覆う有機化合物層と、前記有機化合物層を覆う第2電極と、を当該順で有し、
前記反射層と前記第1電極との距離が、前記第1画素と前記第2画素とで互いに異なる表示装置であって、
前記反射層の端部上において前記第1絶縁層の斜面が前記第1面に対してなす角度Aが、前記第1画素と前記第2画素とで、その差が±10%以内であることを特徴とする表示装置。
続きを表示(約 1,000 文字)
【請求項2】
前記反射層の端部上に反射防止膜を有し、前記反射防止膜と前記反射層との段差によって前記第1絶縁層の斜面が形成されていることを特徴とする請求項1に記載の表示装置。
【請求項3】
前記角度Aが、前記第1画素と前記第2画素とでほぼ等しいことを特徴とする請求項1に記載の表示装置。
【請求項4】
前記角度Aが、前記第1画素及び前記第2画素のいずれにおいても、50°乃至70°であることを特徴とする請求項1に記載の表示装置。
【請求項5】
前記第1絶縁層の斜面の最上部及び最下部における前記角度Aが連続的に変化していることを特徴とする請求項1に記載の表示装置。
【請求項6】
さらに第3画素を有し、前記第3画素において、前記反射層と前記第1電極との距離が、前記第1画素及び前記第2画素とは異なり、且つ、前記角度Aが前記第1画素乃至前記第3画素において±10%以内であることを特徴とする請求項1に記載の表示装置。
【請求項7】
前記反射層と前記第1電極との距離が、第1画素<第2画素<第3画素であることを特徴とする請求項6に記載の表示装置。
【請求項8】
前記表示装置が前記第2電極上にカラーフィルタを有し、前記第1画素乃至前記第3画素の各画素上のカラーフィルタの透過光の波長が、第1画素<第2画素<第3画素であることを特徴とする請求項7に記載の表示装置。
【請求項9】
前記第1画素及び前記第2画素がそれぞれ、トランジスタを有していることを特徴とする請求項1に記載の表示装置。
【請求項10】
基板上に第1画素と第2画素とを有する表示装置の製造方法であって、
基板の第1面上に前記複数の画素毎に反射層を形成する工程と、
前記反射層上に、前記第1画素と前記第2画素とで異なる厚さで、且つ前記反射層の端部に形成される斜面と前記基板の第1面とのなす角度Aが、前記第1画素と前記第2画素とで、その差が±10%以内になるように第1絶縁層を形成する工程と、
前記第1絶縁層上に画素毎に第1電極を形成する工程と、
前記第1電極の端部を覆う第2絶縁層を形成する工程と、
前記第1電極及び前記第2絶縁層を覆う有機化合物層を形成する工程と、
前記有機化合物層を覆う第2電極を形成する工程と、を有することを特徴とする表示装置の製造方法。
(【請求項11】以降は省略されています)
発明の詳細な説明
【技術分野】
【0001】
本発明は、表示装置及びその製造方法に関する。
続きを表示(約 3,000 文字)
【背景技術】
【0002】
近年の有機エレクトロルミネッセンス素子(EL素子)を用いた表示装置では、性能向上目的で透明電極を用いた干渉構造が用いられる。透明電極は有機EL素子から発せられた光を透過し、透過した光を反射・干渉させることで共振構造を形成し、発光効率を向上させている。透明電極を用いた光干渉による発光素子は例えば特許文献1で開示されており、反射層、絶縁層、下部電極、有機層、透明電極が形成され、絶縁層の膜厚を各色画素に最適化し、干渉効果を高める構造が提案されている。
【先行技術文献】
【特許文献】
【0003】
特開2021-72282号公報
【発明の概要】
【発明が解決しようとする課題】
【0004】
特許文献1に開示された干渉構造においては、画素間領域での絶縁膜表面に段差があり、発光領域の端部近傍において絶縁層表面は基板表面に対して角度を持つ斜面をなす。この時、各色の画素内で絶縁層の膜厚が異なる一方で各色の画素間における膜厚は一定となることから、その段差は画素ごとに異なる値を取ることになる。特許文献1においては画素ごとに絶縁層の成膜とエッチングを繰り返す形でこの構造を形成しているが、画素ごとにエッチング工程での絶縁膜の量が異なっていることから、形成後の上記斜面の角度は異なる値をとり得る。例えば、各色の干渉膜厚を波長λに対しλ/4で設計した場合、反射層上の第1絶縁層の膜厚は青色<緑色<赤色の順となっているが、青色の画素における前記段差部の角度が最も急峻となり得る。このとき、絶縁膜表面の斜面上に成膜される下部電極、有機層、透明電極の膜厚は、斜面の角度が急峻なほど相対的に薄くなり得る。これによって発光特性にばらつきが生じやすくなる懸念がある。
本発明の課題は、干渉構造を有する表示装置において、各色の画素間での発光特性のばらつきを抑制することにある。
【課題を解決するための手段】
【0005】
本発明の第1は、基板の第1面上に第1画素と第2画素を有し、
前記第1画素及び第2画素はそれぞれ、反射層と、第1絶縁層と、第1電極と、前記第1電極の端部を覆う第2絶縁層と、前記第1電極及び前記第2絶縁層を覆う有機化合物層と、前記有機化合物層を覆う第2電極と、を当該順で有し、
前記反射層と前記第1電極との距離が、前記第1画素と前記第2画素とで互いに異なる表示装置であって、
前記反射層の端部上において前記第1絶縁層の斜面が前記第1面に対してなす角度Aが、前記第1画素と前記第2画素とで、その差が±10%以内であることを特徴とする。
本発明の第2は、基板上に第1画素と第2画素とを有する表示装置の製造方法であって、
基板の第1面上に前記複数の画素毎に反射層を形成する工程と、
前記反射層上に、前記第1画素と前記第2画素とで異なる厚さで、且つ前記反射層の端部に形成される斜面と前記基板の第1面とのなす角度Aが、前記第1画素と前記第2画素とで、その差が±10%以内になるように第1絶縁層を形成する工程と、
前記第1絶縁層上に画素毎に第1電極を形成する工程と、
前記第1電極の端部を覆う第2絶縁層を形成する工程と、
前記第1電極及び前記第2絶縁層を覆う有機化合物層を形成する工程と、
前記有機化合物層を覆う第2電極を形成する工程と、を有することを特徴とする。
【発明の効果】
【0006】
本発明においては、各画素の反射層上の絶縁層の斜面の角度をほぼ等しく形成することによって、発光特性のばらつきが抑制された表示装置を提供することができる。
【図面の簡単な説明】
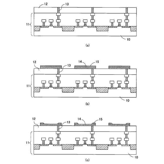
【0007】
本発明の表示装置の一実施形態の厚さ方向の断面模式図である。
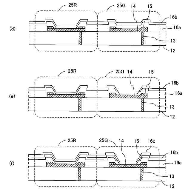
図1に示した表示装置の製造工程図である。
図1に示した表示装置の製造工程図である。
本発明の表示装置における、第1絶縁層の斜面と基板の第1面とのなす角度の説明図である。
面積諧調マスクを用いたエッチング工程を示す図である。
従来技術を用いた表示装置の製造工程図である。
従来技術を用いた表示装置の製造工程図である。
従来技術で製造した表示装置における、第1絶縁層の構成を示す断面模式図である。
【発明を実施するための形態】
【0008】
以下、本発明について実施形態を挙げて詳細に説明するが、本発明が以下の実施形態に限定されるものではない。実施形態には複数の特徴が記載されているが、これらの複数の特徴の全てが発明に必須のものとは限らず、また、複数の特徴は任意に組み合わせられてもよい。さらに、添付図面においては、同一もしくは同様の構成に同一の参照番号を付し、重複した説明は省略する。
【0009】
図1に本発明の一実施形態の有機EL素子からなる表示装置の断面図を示す。本実施形態においては、基板10上に駆動回路層11があり、その上に表面が平坦化された絶縁性の層間膜12が設けられている。層間膜12の上に有機EL素子が設けられ、駆動回路層11と反射層14とは導電プラグ13を介して接続されている。導電プラグ13は、例えばTi/TiNなどのバリアメタルを有するWプラグで有りうる。反射層14上には反射防止層15が設けられており、反射防止層15は反射率を上げるため、反射層14の中央部の領域が例えばフォトリソグラフィ法及びドライエッチング法により除去されている。反射防止層15の上には第1絶縁層16、アノードとして機能する第1電極17、第2絶縁層18、有機化合物層19、カソードとして機能する第2電極20、防湿層21、平坦化層22、カラーフィルタ23が、前記の順に積層されている。有機化合物層19から基板10に向けて放射された光を透過させるため第1電極17は透明材料であることが望ましく、例えば酸化インジウム錫(ITO)または酸化インジウム亜鉛(IZO)を用いて形成される。この透明材料はより薄いほど光の吸収を低減させることができ、消費電力において有利となる。尚、第1電極17と駆動回路層11は、不図示の接続部を介して電気的に接続されている。この接続部は、反射層14や反射防止層15を含んでいても良い。
【0010】
本実施形態に係る表示装置には前記構造を各々持つ第1画素25R、第2画素25G、第3画素25Bが含まれており、各画素には各々異なる色の第1カラーフィルタ23R、第2カラーフィルタ23G、第3カラーフィルタ23Bが設けられている。第1画素25R、第2画素25G、第3画素25Bは、有機EL表示装置から外部へ放射される光の色が相互に異なっており、例えば第1画素25Rは赤色(R)の光、第2画素25Gは緑色(G)の光、第3画素25Bは青色(B)の光を放射する。本実施形態による有機EL表示装置は複数の第1画素25R、複数の第2画素25G、複数の第3画素25Bを有しうる。尚、本実施形態では3種類の色の光を発生させるものとしているが、これに限定されるものではない。
(【0011】以降は省略されています)
この特許をJ-PlatPat(特許庁公式サイト)で参照する
関連特許
キヤノン株式会社
トナー
1か月前
キヤノン株式会社
電子機器
1日前
キヤノン株式会社
撮像装置
24日前
キヤノン株式会社
記録装置
15日前
キヤノン株式会社
電子機器
15日前
キヤノン株式会社
撮像装置
1か月前
キヤノン株式会社
電子機器
22日前
キヤノン株式会社
撮像装置
15日前
キヤノン株式会社
撮像装置
1か月前
キヤノン株式会社
定着装置
13日前
キヤノン株式会社
電子機器
3日前
キヤノン株式会社
電子機器
1か月前
キヤノン株式会社
撮像装置
27日前
キヤノン株式会社
現像装置
1か月前
キヤノン株式会社
電子機器
24日前
キヤノン株式会社
表示装置
6日前
キヤノン株式会社
発光装置
6日前
キヤノン株式会社
撮像装置
13日前
キヤノン株式会社
撮像装置
7日前
キヤノン株式会社
電子機器
7日前
キヤノン株式会社
記録装置
14日前
キヤノン株式会社
定着装置
22日前
キヤノン株式会社
定着装置
22日前
キヤノン株式会社
定着装置
22日前
キヤノン株式会社
収容装置
7日前
キヤノン株式会社
定着装置
7日前
キヤノン株式会社
光学装置
27日前
キヤノン株式会社
電子機器
7日前
キヤノン株式会社
電子機器
27日前
キヤノン株式会社
撮像装置
14日前
キヤノン株式会社
容器構造体
1か月前
キヤノン株式会社
半導体装置
1日前
キヤノン株式会社
現像剤容器
今日
キヤノン株式会社
容器構造体
1か月前
キヤノン株式会社
画像形成装置
1か月前
キヤノン株式会社
有機発光素子
13日前
続きを見る
他の特許を見る