TOP
|
特許
|
意匠
|
商標
特許ウォッチ
Twitter
他の特許を見る
10個以上の画像は省略されています。
公開番号
2025140178
公報種別
公開特許公報(A)
公開日
2025-09-29
出願番号
2024039386
出願日
2024-03-13
発明の名称
画像形成装置
出願人
キヤノン株式会社
代理人
弁理士法人近島国際特許事務所
主分類
G03G
21/00 20060101AFI20250919BHJP(写真;映画;光波以外の波を使用する類似技術;電子写真;ホログラフイ)
要約
【課題】不要なイニシャライズ動作を低減する。
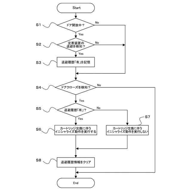
【解決手段】画像形成装置は、装置本体と、開閉部材と、第1位置と第1位置から退避した第2位置との間で移動可能な定着装置と、ユニットと、検知手段と、制御部と、を備える。制御部は、開閉部材が閉位置から開位置に移動されてから開閉部材が開位置から閉位置に移動されるまでの期間中に、定着装置の第1位置から第2位置への移動を検知手段が検知した場合、開閉部材が閉位置に移動されたことに基づいて、ユニットを画像形成動作に使用可能な状態とするための所定のイニシャライズ動作を実行し、上記期間中に定着装置の第1位置から第2位置への移動を検知手段が検知しない場合、開閉部材が閉位置に移動されたことに基づいて所定のイニシャライズ動作を実行しない。
【選択図】図7
特許請求の範囲
【請求項1】
開口部を有する装置本体と、
前記開口部を閉鎖する閉位置と前記開口部を開放する開位置との間で移動可能な開閉部材と、
画像を記録材に定着させる時の位置である第1位置と、前記第1位置から退避した第2位置と、の間で移動可能な定着装置と、
記録材に画像を形成する画像形成動作に使用されるユニットであって、前記開閉部材が前記開位置にあり且つ前記定着装置が前記第2位置にある状態において、前記開口部を通じて前記装置本体に対して着脱されることが許容されるユニットと、
前記定着装置の前記第1位置から前記第2位置への移動を検知可能な検知手段と、
制御部と、
を備え、
前記制御部は、
前記開閉部材が前記閉位置から前記開位置に移動されてから前記開閉部材が前記開位置から前記閉位置に移動されるまでの期間中に、前記定着装置の前記第1位置から前記第2位置への移動を前記検知手段が検知した場合、前記開閉部材が前記閉位置に移動されたことに基づいて、前記ユニットを前記画像形成動作に使用可能な状態とするための所定のイニシャライズ動作を実行し、
前記期間中に前記定着装置の前記第1位置から前記第2位置への移動を前記検知手段が検知しない場合、前記開閉部材が前記閉位置に移動されたことに基づいて前記所定のイニシャライズ動作を実行しない、
ことを特徴とする画像形成装置。
続きを表示(約 1,600 文字)
【請求項2】
前記定着装置の位置に応じた信号を出力するセンサを更に備え、
前記検知手段は、前記センサの前記信号に基づいて前記定着装置の前記第1位置から前記第2位置への移動を検知する、
ことを特徴とする請求項1に記載の画像形成装置。
【請求項3】
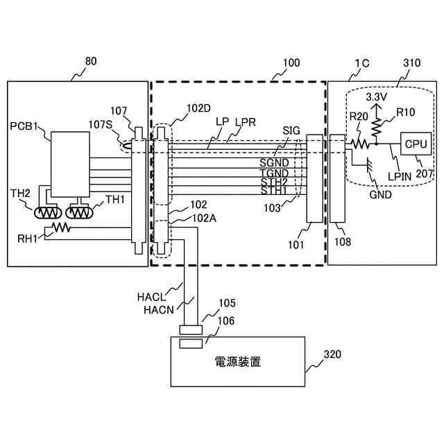
前記装置本体に配置され、前記制御部と電気的に接続された第1コネクタと、
前記定着装置に配置され、前記定着装置が前記第1位置にある場合に前記第1コネクタと接続され、前記ユニットが前記第2位置にある場合に前記第1コネクタとの接続が外れる第2コネクタと、を更に備え、
前記検知手段は、前記第1コネクタと前記第2コネクタの接続が外れたことを検知するように構成されている、
ことを特徴とする請求項1に記載の画像形成装置。
【請求項4】
前記定着装置を前記第1位置から前記第2位置へ退避させる退避手段を更に備え、
前記退避手段は、前記開閉部材が前記開位置にある状態において、ユーザからの指示に基づいて前記定着装置を退避させる、
ことを特徴とする請求項1に記載の画像形成装置。
【請求項5】
前記ユニットを支持する支持部材を更に備え、
前記支持部材は、前記ユニットが前記装置本体の内側に収容される内側位置と、前記支持部材に対する前記ユニットの着脱が許容されるように前記装置本体の外側に引き出された外側位置と、に移動可能である、
ことを特徴とする請求項1に記載の画像形成装置。
【請求項6】
前記定着装置が前記第1位置にある場合、前記定着装置の少なくとも一部は、前記支持部材が前記内側位置から前記外側位置まで移動する移動空間の内側に位置し、
前記定着装置が前記第2位置にある場合、前記定着装置の全体は、前記移動空間の外側に位置する、
ことを特徴とする請求項5に記載の画像形成装置。
【請求項7】
前記開閉部材が前記開位置から前記閉位置に移動されてから前記所定のイニシャライズ動作が実行されることなく前記画像形成装置が前記画像形成動作を開始可能になるまでの時間は、前記開閉部材が前記開位置から前記閉位置に移動されてから前記所定のイニシャライズ動作が実行され、前記画像形成装置が前記画像形成動作を開始可能になるまでの時間よりも短い、
ことを特徴とする請求項1に記載の画像形成装置。
【請求項8】
前記開閉部材の開閉を検知する開閉検知手段を更に備え、
前記制御部は、記憶部を有し、
前記制御部は、
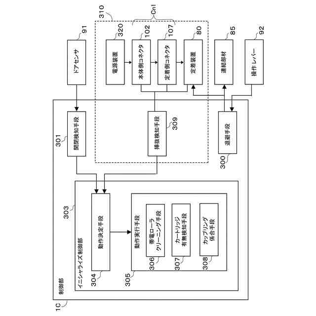
前記開閉部材が前記開位置にあることを前記開閉検知手段が検知している状態において前記定着装置の前記第1位置から前記第2位置への移動を前記検知手段が検知した場合に、前記記憶部に前記ユニットが交換された可能性があることを示す情報を記憶させ、
前記開閉部材が前記開位置から前記閉位置に移動されたことを前記開閉検知手段が検知した場合に、前記記憶部における前記情報を参照して前記所定のイニシャライズ動作の実行を決定する、
ことを特徴とする請求項1に記載の画像形成装置。
【請求項9】
前記ユニットは、感光ドラムと、前記感光ドラムを帯電させる帯電部材と、前記感光ドラムに現像剤を供給して現像を行う現像部材と、前記感光ドラムの表面に付着したトナーを除去するクリーニング部材と、を含む群から選択される少なくとも1つの部材を有するカートリッジである、
ことを特徴とする請求項1から8のいずれか1項に記載の画像形成装置。
【請求項10】
前記カートリッジは、前記帯電部材を有し、
前記所定のイニシャライズ動作は、前記帯電部材をクリーニングする動作である、
ことを特徴とする請求項9に記載の画像形成装置。
(【請求項11】以降は省略されています)
発明の詳細な説明
【技術分野】
【0001】
本発明は、記録材に画像を形成する画像形成装置に関する。
続きを表示(約 1,800 文字)
【背景技術】
【0002】
特許文献1には、画像形成装置前面のカバーを開放してジャム処理を行うことや、支持部材を装置前面に引き出して現像剤カートリッジや現像装置の交換を行うことが記載されている。
【先行技術文献】
【特許文献】
【0003】
特開2011-175258号公報
【発明の概要】
【発明が解決しようとする課題】
【0004】
画像形成装置の装置本体に対して着脱可能なユニットが交換された場合又は交換された可能性がある場合、ユニットを画像形成動作に使用可能な状態とするためのイニシャライズ動作が実行される。しかし、実際にはユニットが交換されていないのに、開閉部材が開閉される度にイニシャライズ動作を実行すると、画像形成動作を実行できない期間(ダウンタイム)が長くなり、或いは消耗品の消耗が早まるという不都合が生じ得る。
【0005】
そこで、本発明は、不要なイニシャライズ動作を低減可能な画像形成装置を提供することを目的とする。
【課題を解決するための手段】
【0006】
本発明の一態様は、開口部を有する装置本体と、前記開口部を閉鎖する閉位置と前記開口部を開放する開位置との間で移動可能な開閉部材と、画像を記録材に定着させる時の位置である第1位置と、前記第1位置から退避した第2位置と、の間で移動可能な定着装置と、記録材に画像を形成する画像形成動作に使用されるユニットであって、前記開閉部材が前記開位置にあり且つ前記定着装置が前記第2位置にある状態において、前記開口部を通じて前記装置本体に対して着脱されることが許容されるユニットと、前記定着装置の前記第1位置から前記第2位置への移動を検知可能な検知手段と、制御部と、を備え、前記制御部は、前記開閉部材が前記閉位置から前記開位置に移動されてから前記開閉部材が前記開位置から前記閉位置に移動されるまでの期間中に、前記定着装置の前記第1位置から前記第2位置への移動を前記検知手段が検知した場合、前記開閉部材が前記閉位置に移動されたことに基づいて、前記ユニットを前記画像形成動作に使用可能な状態とするための所定のイニシャライズ動作を実行し、前記期間中に前記定着装置の前記第1位置から前記第2位置への移動を前記検知手段が検知しない場合、前記開閉部材が前記閉位置に移動されたことに基づいて前記所定のイニシャライズ動作を実行しない、ことを特徴とする画像形成装置である。
【発明の効果】
【0007】
本発明によれば、不要なイニシャライズ動作を低減可能な画像形成装置を提供することができる。
【図面の簡単な説明】
【0008】
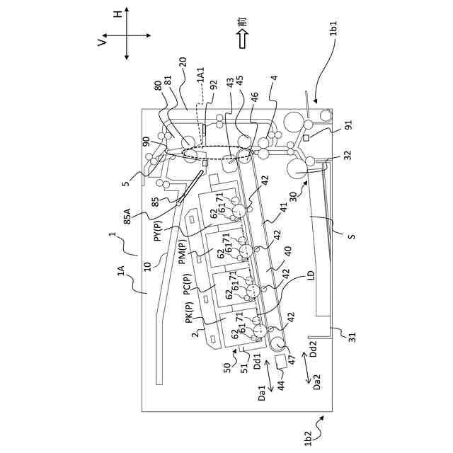
実施例1に係る画像形成装置の概略図。
実施例1に係る画像形成装置の概略図。
実施例1に係る画像形成装置の概略図。
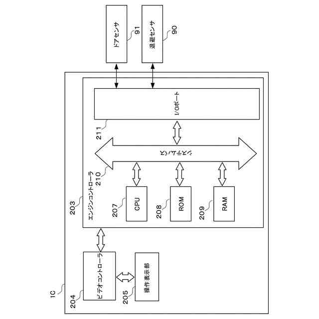
実施例1に係る画像形成装置のハードウェア構成。
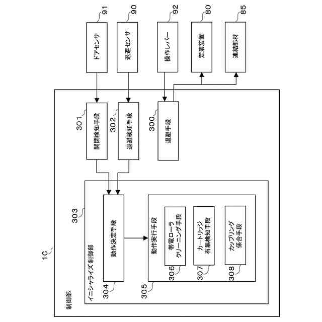
実施例1に係る画像形成装置の機能ブロック図。
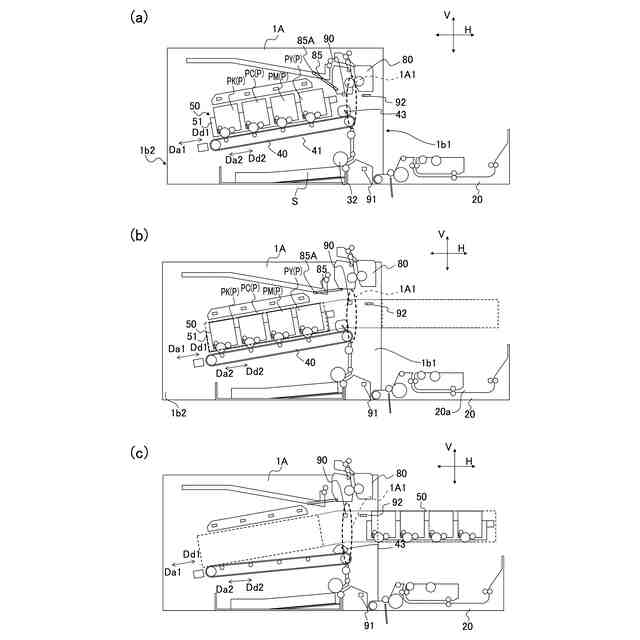
実施例1に係る画像形成装置におけるカートリッジ交換の説明図(a~c)。
実施例1に係る制御を示すフローチャート。
実施例2に係る画像形成装置の機能ブロック図。
実施例2に係る回路図。
実施例2に係る制御を示すフローチャート。
【発明を実施するための形態】
【0009】
以下、本開示に係る実施形態について、図面を参照しながら説明する。
【0010】
本開示において、「画像形成装置」は、記録材(記録媒体)に画像を形成する機能を備えた装置一般を指す。画像形成装置は、単機能プリンタ、複写機、又は複合機であってよい。画像形成装置は、主にカラー画像を形成する装置であってもよいし、主にモノクロ画像を形成する装置であってもよい。また、画像形成装置は、記録材に画像を形成する画像形成装置本体に、画像形成装置本体と一体に使用される付属機器が接続されたシステム(画像形成システム)であってもよい。付属機器の例は、画像を形成されたシートに綴じ処理等の処理を施すシート処理装置(フィニッシャ)や、画像形成装置本体から他の装置にシートを搬送する搬送装置、画像形成装置本体に向けてシートを給送する給送装置(オプションフィーダ)である。
(【0011】以降は省略されています)
この特許をJ-PlatPat(特許庁公式サイト)で参照する
関連特許
キヤノン株式会社
トナー
29日前
キヤノン株式会社
移動体
1か月前
キヤノン株式会社
撮像装置
12日前
キヤノン株式会社
収容装置
6日前
キヤノン株式会社
電子機器
14日前
キヤノン株式会社
記録装置
14日前
キヤノン株式会社
発光装置
1か月前
キヤノン株式会社
撮像装置
13日前
キヤノン株式会社
現像装置
29日前
キヤノン株式会社
光学機器
1か月前
キヤノン株式会社
電子機器
29日前
キヤノン株式会社
記録装置
13日前
キヤノン株式会社
電子機器
1か月前
キヤノン株式会社
記録装置
1か月前
キヤノン株式会社
定着装置
6日前
キヤノン株式会社
電子機器
23日前
キヤノン株式会社
撮像装置
1か月前
キヤノン株式会社
電子機器
6日前
キヤノン株式会社
電子機器
6日前
キヤノン株式会社
撮像装置
6日前
キヤノン株式会社
定着装置
12日前
キヤノン株式会社
発光装置
1か月前
キヤノン株式会社
撮像装置
14日前
キヤノン株式会社
撮像装置
1か月前
キヤノン株式会社
定着装置
21日前
キヤノン株式会社
電子機器
21日前
キヤノン株式会社
撮像装置
1か月前
キヤノン株式会社
電子機器
2日前
キヤノン株式会社
光学装置
26日前
キヤノン株式会社
電子機器
26日前
キヤノン株式会社
電子機器
今日
キヤノン株式会社
定着装置
21日前
キヤノン株式会社
定着装置
21日前
キヤノン株式会社
撮像装置
23日前
キヤノン株式会社
発光装置
5日前
キヤノン株式会社
撮像装置
26日前
続きを見る
他の特許を見る