TOP
|
特許
|
意匠
|
商標
特許ウォッチ
Twitter
他の特許を見る
公開番号
2025140205
公報種別
公開特許公報(A)
公開日
2025-09-29
出願番号
2024039430
出願日
2024-03-13
発明の名称
情報処理装置及び情報処理装置の動作方法
出願人
トヨタ自動車株式会社
代理人
個人
,
個人
,
個人
,
個人
主分類
G08G
1/127 20060101AFI20250919BHJP(信号)
要約
【課題】運行管理のための操作効率を向上させる。
【解決手段】情報処理装置は、通信部と、複数の車両それぞれの、一以上のエリアに一部以上が含まれる運行ルートを含む運行計画の情報を格納する記憶部と、前記通信部により通信を行う制御部とを有し、前記制御部は、前記複数の車両の運行計画と所定の事由が発生した第1のエリアとを示す情報を端末装置へ送り、当該端末装置から前記第1のエリアにおける運行中止の指示を受けると、前記第1のエリアに運行ルートの一部以上が含まれる第1の車両に運行中止の指示を送る。
【選択図】図1
特許請求の範囲
【請求項1】
通信部と、
複数の車両それぞれの、一以上のエリアに一部以上が含まれる運行ルートを含む運行計画の情報を格納する記憶部と、
前記通信部により通信を行う制御部とを有し、
前記制御部は、前記複数の車両の運行計画と所定の事由が発生した第1のエリアとを示す情報を端末装置へ送り、当該端末装置から前記第1のエリアにおける運行中止の指示を受けると、前記第1のエリアに運行ルートの一部以上が含まれる第1の車両に運行中止の指示を送る、
情報処理装置。
続きを表示(約 520 文字)
【請求項2】
請求項1において、
前記制御部は、前記第1のエリアに運行ルートの一部以上が含まれない第2の車両に運行実行の指示を送る、
情報処理装置。
【請求項3】
請求項2において、
前記制御部は、前記第1及び第2の車両の運行計画に含まれるそれぞれの運行開始時刻前に、前記運行中止及び運行開始の指示をそれぞれ前記第1及び第2の車両へ送る、
情報処理装置。
【請求項4】
請求項1において、
前記制御部は、一の前記運行ルートに対応する複数の前記車両に、前記運行中止指示を送る、
情報処理装置。
【請求項5】
複数の車両それぞれの、一以上のエリアに一部以上が含まれる運行ルートを含む運行計画の情報を格納する情報処理装置の動作方法であって、
前記複数の車両の運行計画と所定の事由が発生した第1のエリアとを示す情報を端末装置へ送り、当該端末装置から前記第1のエリアにおける運行中止の指示を受けると、前記第1のエリアに運行ルートの一部以上が含まれる第1の車両に運行中止の指示を送ることを有する、
情報処理装置の動作方法。
発明の詳細な説明
【技術分野】
【0001】
本開示は、情報処理装置及び情報処理装置の動作方法に関する。
続きを表示(約 1,100 文字)
【背景技術】
【0002】
路線バス等は、事前に計画された便の開始時刻に応じて運行が開始される。かかる運行管理を支援する技術が種々提案されている。例えば、特許文献1には、自動運転車両を走行経路に適切に投入するために、運行管理センタから自動運転車両に走行許可を送るシステムが開示されている。
【先行技術文献】
【特許文献】
【0003】
特開2021-009431号公報
【発明の概要】
【発明が解決しようとする課題】
【0004】
車両の運行管理において、種々の要因により車両の運行が計画どおりに開始できない場合が生じうるが、そのような場合に、運行管理者による運行指示のための操作の効率を向上させる余地がある。
【0005】
以下では、運行管理のための操作効率を向上させることが可能な情報処理装置等を開示する。
【課題を解決するための手段】
【0006】
本開示における情報処理装置は、通信部と、複数の車両それぞれの、一以上のエリアに一部以上が含まれる運行ルートを含む運行計画の情報を格納する記憶部と、前記通信部により通信を行う制御部とを有し、前記制御部は、前記複数の車両の運行計画と所定の事由が発生した第1のエリアとを示す情報を端末装置へ送り、当該端末装置から前記第1のエリアにおける運行中止の指示を受けると、前記第1のエリアに運行ルートの一部以上が含まれる第1の車両に運行中止の指示を送る。
【0007】
本開示における情報処理装置の動作方法は、複数の車両それぞれの、一以上のエリアに一部以上が含まれる運行ルートを含む運行計画の情報を格納する情報処理装置が、前記複数の車両の運行計画と所定の事由が発生した第1のエリアとを示す情報を端末装置へ送り、当該端末装置から前記第1のエリアにおける運行中止の指示を受けると、前記第1のエリアに運行ルートの一部以上が含まれる第1の車両に運行中止の指示を送ることを含む。
【発明の効果】
【0008】
本開示における情報処理装置等によれば、運行管理のための操作効率を向上させることが可能となる。
【図面の簡単な説明】
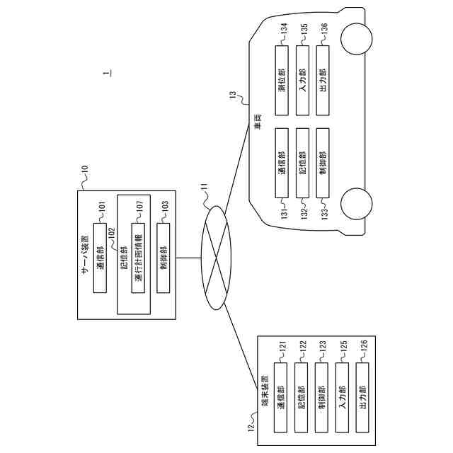
【0009】
運行管理システムの構成例を示す図である。
運行計画情報の例を示す図である。
運行管理システムの動作例を示すシーケンス図である。
運行管理指示画面の例を示す図である。
運行管理指示画面の例を示す図である。
【発明を実施するための形態】
【0010】
以下、実施の形態について説明する。
(【0011】以降は省略されています)
この特許をJ-PlatPat(特許庁公式サイト)で参照する
関連特許
トヨタ自動車株式会社
車両
今日
トヨタ自動車株式会社
電池
2日前
トヨタ自動車株式会社
車両
6日前
トヨタ自動車株式会社
電池
1日前
トヨタ自動車株式会社
車両
6日前
トヨタ自動車株式会社
電動車
6日前
トヨタ自動車株式会社
電動車
6日前
トヨタ自動車株式会社
電動車
6日前
トヨタ自動車株式会社
ケース
1日前
トヨタ自動車株式会社
電動車
2日前
トヨタ自動車株式会社
電解液
6日前
トヨタ自動車株式会社
固定子
今日
トヨタ自動車株式会社
二次電池
今日
トヨタ自動車株式会社
切断装置
6日前
トヨタ自動車株式会社
電源装置
6日前
トヨタ自動車株式会社
路側装置
1日前
トヨタ自動車株式会社
蓄電セル
6日前
トヨタ自動車株式会社
バッテリ
今日
トヨタ自動車株式会社
バッテリ
今日
トヨタ自動車株式会社
蓄電装置
6日前
トヨタ自動車株式会社
塗工装置
今日
トヨタ自動車株式会社
制御装置
1日前
トヨタ自動車株式会社
駆動装置
6日前
トヨタ自動車株式会社
蓄電装置
1日前
トヨタ自動車株式会社
製造装置
今日
トヨタ自動車株式会社
監視装置
今日
トヨタ自動車株式会社
ロボット
2日前
トヨタ自動車株式会社
電池パック
2日前
トヨタ自動車株式会社
シフト機構
6日前
トヨタ自動車株式会社
電池パック
2日前
トヨタ自動車株式会社
電池パック
6日前
トヨタ自動車株式会社
電気自動車
6日前
トヨタ自動車株式会社
積層構造体
6日前
トヨタ自動車株式会社
軌道生成装置
2日前
トヨタ自動車株式会社
被膜形成装置
今日
トヨタ自動車株式会社
車両前部構造
今日
続きを見る
他の特許を見る