TOP
|
特許
|
意匠
|
商標
特許ウォッチ
Twitter
他の特許を見る
公開番号
2025151193
公報種別
公開特許公報(A)
公開日
2025-10-09
出願番号
2024052495
出願日
2024-03-27
発明の名称
車両前部構造
出願人
トヨタ自動車株式会社
代理人
弁理士法人太陽国際特許事務所
主分類
B62D
21/02 20060101AFI20251002BHJP(鉄道以外の路面車両)
要約
【課題】車両の微小ラップ衝突時に車両を衝突体から効率よく逃がすことができる車両前部構造を得る。
【解決手段】車両前部構造10は、車両前部において車両幅方向の両側部に設けられ、車両前後方向に延在する一対のフロントサイドメンバ16と、当該フロントサイドメンバ16の車両下方側に配置されるサスペンションメンバ60と、フロントサイドメンバ16とサスペンションメンバ60とを接合する接合部30と、当該接合部30に設けられ、車両幅方向外側に突出する突出部50と、を備える。
【選択図】図1
特許請求の範囲
【請求項1】
車両前部において車両幅方向の両側部に設けられ、車両前後方向に延在する一対の骨格部と、
前記骨格部の車両下方側に配置されるサスペンションメンバと、
前記骨格部と前記サスペンションメンバとを接合する接合部と、
前記接合部に設けられ、車両幅方向外側に突出する突出部と、
を備える車両前部構造。
続きを表示(約 510 文字)
【請求項2】
前記突出部の車両幅方向外側の端部には、平面視で車両後方側かつ車両幅方向外側に向かって傾斜する傾斜部が設けられている、
請求項1に記載の車両前部構造。
【請求項3】
前記突出部を含む車両前方側の領域において、前記突出部の車両幅方向外側の端部は、前記骨格部及び前記サスペンションメンバよりも車両幅方向外側に配置されている、
請求項1又は請求項2に記載の車両前部構造。
【請求項4】
前記車両前部において車両幅方向の両側部に設けられ、一対の前記骨格部の上面から立設するとともに前記骨格部と一体に形成された一対のサスペンションタワー部と、
一対の前記サスペンションタワー部を車両幅方向に連結するサスペンションタワーバーと、を有する、
請求項1又は請求項2に記載の車両前部構造。
【請求項5】
前記接合部は、前記骨格部と一体に形成されている、
請求項1又は請求項2に記載の車両前部構造。
【請求項6】
前記突出部は、前記接合部と一体に形成されている、
請求項1又は請求項2に記載の車両前部構造。
発明の詳細な説明
【技術分野】
【0001】
本発明は、車両前部構造に関する。
続きを表示(約 1,600 文字)
【背景技術】
【0002】
特許文献1には、サスペンションメンバの前端かつ車両幅方向の端部の位置に車両幅方向外側に張り出された拡張部材が設けられた車両前部構造が開示されている。この車両前部構造では、微小ラップ衝突時に、拡張部材がバンパリインフォースメントを介して衝突体(バリア)を受け止めることにより、反衝突側への横力を車両に発生させ、衝突体の進入量を軽減させる構造となっている。即ち、特許文献1の車両前部構造では、バンパリインフォースメントを介してサスペンションメンバの拡張部材に衝突荷重が入力されると、バンパリインフォースメントと拡張部材との当接部位に車両幅方向外側への反力が発生する。したがって、この反力を衝突体から車両を逃がす横力として利用している。
【先行技術文献】
【特許文献】
【0003】
特開2013-233820号公報
【発明の概要】
【発明が解決しようとする課題】
【0004】
しかしながら、この車両前部構造では、バンパリインフォースメントとサスペンションメンバとの当接部位に作用する反力は、サスペンションメンバの車両幅方向の曲げ剛性に大きく依存している。よって、上記先行技術は、車両の微小ラップ衝突時に車両を衝突体から効率よく逃がすという点で改善の余地がある。
【0005】
本発明は上記事実を考慮し、車両の微小ラップ衝突時に車両を衝突体から効率よく逃がすことができる車両前部構造を得ることを目的とする。
【課題を解決するための手段】
【0006】
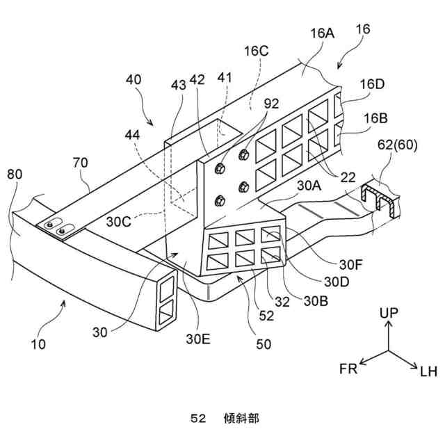
請求項1に記載の本発明に係る車両前部構造は、車両幅方向の両側部に設けられ、車両前後方向に延在する一対の骨格部と、前記骨格部の車両下方側に配置されるサスペンションメンバと、前記骨格部と前記サスペンションメンバとを接合する接合部と、前記接合部に設けられ、車両幅方向外側に突出する突出部と、を備える。
【0007】
請求項1に記載の本発明に係る車両前部構造では、車両幅方向の両側部において、車両前後方向に延在する一対の骨格部と当該骨格部の車両下方側に配置されるサスペンションメンバとを接合する接合部に突出部が設けられている。この突出部は、接合部から車両幅方向外側に突出している。これにより、車両が衝突体と微小ラップ衝突した際に、主として車両後方への衝突荷重が突出部に入力されると、衝突荷重の車両幅方向内側への分力が、接合部を介することにより骨格部とサスペンションメンバとに効率よく分散される。これにより、衝突体と突出部との当接部位に発生する反力は、骨格部とサスペンションメンバの車両幅方向の曲げ剛性と、によって発生される。これにより、この当接部位に作用する反力を向上でき、車両の微小ラップ衝突時に車両を衝突体から効率よく逃がすことができる。
【0008】
請求項2に記載の本発明に係る車両前部構造は、請求項1に記載の構成において、前記突出部の車両幅方向外側の端部には、平面視で車両後方側かつ車両幅方向外側に向かって傾斜する傾斜部が設けられている。
【0009】
請求項2に記載の本発明に係る車両前部構造では、突出部の車両幅方向外側の端部に設けられた傾斜部により、車両が衝突体と微小ラップ衝突した際に、主として車両後方への衝突荷重を車両幅方向内側への横力に変えることができる。これにより、骨格部及びサスペンションメンバに対して、衝突荷重の車両幅方向内側への分力を効率良く伝達することができる。
【0010】
請求項3に記載の本発明に係る車両前部構造は、請求項1又は請求項2に記載の構成において前記突出部を含む車両前方側の領域において、前記突出部の車両幅方向外側の端部は、前記骨格部及び前記サスペンションメンバよりも車両幅方向外側に配置されている。
(【0011】以降は省略されています)
この特許をJ-PlatPat(特許庁公式サイト)で参照する
関連特許
トヨタ自動車株式会社
電池
3日前
トヨタ自動車株式会社
車両
1日前
トヨタ自動車株式会社
車両
7日前
トヨタ自動車株式会社
車両
7日前
トヨタ自動車株式会社
車両
今日
トヨタ自動車株式会社
電池
2日前
トヨタ自動車株式会社
回転子
7日前
トヨタ自動車株式会社
電動車
3日前
トヨタ自動車株式会社
加熱器
今日
トヨタ自動車株式会社
電動車
7日前
トヨタ自動車株式会社
電動車
7日前
トヨタ自動車株式会社
電動車
7日前
トヨタ自動車株式会社
ケース
2日前
トヨタ自動車株式会社
電解液
7日前
トヨタ自動車株式会社
固定子
1日前
トヨタ自動車株式会社
路側装置
2日前
トヨタ自動車株式会社
制御装置
2日前
トヨタ自動車株式会社
蓄電装置
2日前
トヨタ自動車株式会社
蓄電装置
今日
トヨタ自動車株式会社
車両構造
今日
トヨタ自動車株式会社
監視装置
1日前
トヨタ自動車株式会社
電動車両
7日前
トヨタ自動車株式会社
蓄電装置
7日前
トヨタ自動車株式会社
制御装置
7日前
トヨタ自動車株式会社
バッテリ
1日前
トヨタ自動車株式会社
バッテリ
1日前
トヨタ自動車株式会社
駆動装置
7日前
トヨタ自動車株式会社
塗工装置
1日前
トヨタ自動車株式会社
製造装置
1日前
トヨタ自動車株式会社
電源装置
7日前
トヨタ自動車株式会社
ロボット
3日前
トヨタ自動車株式会社
切断装置
7日前
トヨタ自動車株式会社
蓄電セル
9日前
トヨタ自動車株式会社
車載装置
今日
トヨタ自動車株式会社
蓄電セル
9日前
トヨタ自動車株式会社
蓄電装置
9日前
続きを見る
他の特許を見る