TOP
|
特許
|
意匠
|
商標
特許ウォッチ
Twitter
他の特許を見る
公開番号
2025145054
公報種別
公開特許公報(A)
公開日
2025-10-03
出願番号
2024045033
出願日
2024-03-21
発明の名称
積層構造体
出願人
トヨタ自動車株式会社
代理人
弁理士法人深見特許事務所
主分類
H01M
50/514 20210101AFI20250926BHJP(基本的電気素子)
要約
【課題】導電性接着材の部分的な剥離を精度よく検知する。
【解決手段】積層構造体100は、電池モジュール110と、導電部材120と、第1導電性接着材130Aと、第1温度センサ140Aとを備えている。導電部材120は、電池モジュール110に積層されている。第1導電性接着材130Aは、電池モジュール110と導電部材120との間に配置されている。第1導電性接着材130Aは、電池モジュール110と導電部材120とを互いに接着させている。第1導電性接着材130Aは、電池モジュール110と導電部材120とを互いに電気的に接続している。第1温度センサ140Aは、第1導電性接着材130Aと接触するように電池モジュール110と導電部材120との間に配置されている。
【選択図】図4
特許請求の範囲
【請求項1】
電池モジュールと、
前記電池モジュールに積層された導電部材と、
前記電池モジュールと前記導電部材との間に配置され、前記電池モジュールと前記導電部材とを互いに接着させ、前記電池モジュールと前記導電部材とを互いに電気的に接続している、第1導電性接着材と、
前記第1導電性接着材と接触するように前記電池モジュールと前記導電部材との間に配置されている第1温度センサとを備える、積層構造体。
続きを表示(約 980 文字)
【請求項2】
1以上の第2導電性接着材をさらに備え、
前記1以上の第2導電性接着材の各々は、前記電池モジュールと前記導電部材との間に配置され、前記電池モジュールと前記導電部材とを互いに接着させ、前記電池モジュールと前記導電部材とを互いに電気的に接続しており、
前記第1導電性接着材および前記1以上の第2導電性接着材は、前記電池モジュールと前記導電部材とが積層する方向である第1方向に交差する第2方向に間隔を空けて並んでおり、
前記第1導電性接着材は、前記第1導電性接着材および前記1以上の第2導電性接着材のなかで、前記第2方向における前記導電部材の中心から最も離れている、請求項1に記載の積層構造体。
【請求項3】
1以上の第2温度センサをさらに備え、
前記1以上の第2温度センサの各々は、前記第1導電性接着材と接触するように前記電池モジュールと前記導電部材との間に配置されており、
前記第1温度センサおよび前記1以上の第2温度センサは、前記電池モジュールと前記導電部材とが積層する方向である第1方向に交差する第3方向に間隔を空けて並んでおり、
前記第1温度センサは、前記第1温度センサおよび前記1以上の第2温度センサのなかで、前記第3方向における前記導電部材の中心から最も離れている、請求項1に記載の積層構造体。
【請求項4】
1以上の第2温度センサをさらに備え、
前記1以上の第2温度センサの各々は、前記第1導電性接着材と接触するように前記電池モジュールと前記導電部材との間に配置されており、
前記第1温度センサおよび前記1以上の第2温度センサは、前記第1方向および前記第2方向の両方に交差する第3方向に間隔を空けて並んでおり、
前記第1温度センサは、前記第1温度センサおよび前記1以上の第2温度センサのなかで、前記第3方向における前記導電部材の中心から最も離れている、請求項2に記載の積層構造体。
【請求項5】
前記第1方向、前記第2方向、および、前記第3方向は互いに直交しており、
前記第1導電性接着材および前記1以上の第2導電性接着材の各々は、前記第3方向に平行に延びている、請求項4に記載の積層構造体。
発明の詳細な説明
【技術分野】
【0001】
本開示は、積層構造体に関する。
続きを表示(約 1,600 文字)
【背景技術】
【0002】
特許文献1(特開2022-175828号公報)には、従来の積層構造体が開示されており、具体的には、モジュール積層体が開示されている。
【0003】
モジュール積層体は、第1方向において積層された複数の蓄電モジュールと、複数の集電板と、を含んでいる。複数の蓄電モジュールは、集電板を介して第1方向において積層されている。モジュール積層体は、蓄電モジュール間に介在する集電板の第2方向の両側に配置された複数の検出素子を有している。第2方向は、第1方向に直交する。検出素子は、例えば、蓄電モジュールの温度を検出する温度検出素子、及び蓄電モジュールから出力される電圧を検出する電圧検出素子を含み、蓄電モジュールの状態を監視するセンサである。
【先行技術文献】
【特許文献】
【0004】
特開2022-175828号公報
【発明の概要】
【発明が解決しようとする課題】
【0005】
電池モジュール(蓄電モジュール)と、これに積層された集電板などの導電部材との間には、導電性接着材が設けられる場合がある。このような積層構造体においては、導電性接着材が、電池モジュールまたは導電部材から部分的に剥離する場合がある。特に、積層構造体が積層方向に交差する方向に大型化した場合、上述の部分的な剥離は生じ易くなる。
【0006】
そして、特許文献1に開示されたモジュール積層体において、仮に導電性接着材を蓄電モジュールと集電板との間に設けると、上述の検出素子では、導電性接着材の部分的な剥離までは検知できない場合がある。
【0007】
本開示は上記の問題点に鑑みてなされたものであり、導電性接着材の部分的な剥離を精度よく検知できる、積層構造体を提供することを目的とする。
【課題を解決するための手段】
【0008】
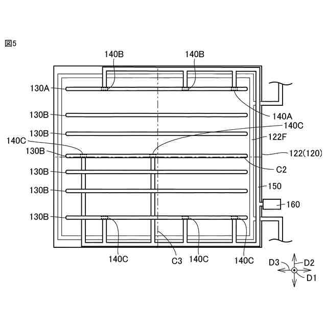
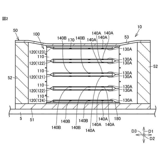
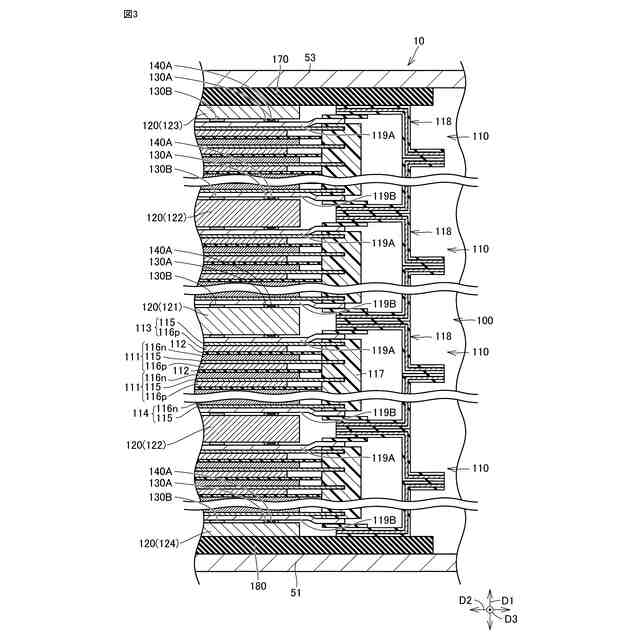
本開示の一の局面に係る積層構造体は、電池モジュールと、導電部材と、第1導電性接着材と、第1温度センサとを備えている。導電部材は、電池モジュールに積層されている。第1導電性接着材は、電池モジュールと導電部材との間に配置されている。第1導電性接着材は、電池モジュールと導電部材とを互いに接着させている。第1導電性接着材は、電池モジュールと導電部材とを互いに電気的に接続している。第1温度センサは、第1導電性接着材と接触するように電池モジュールと導電部材との間に配置されている。
【0009】
上記の構成において、積層構造体の積層方向に電気が流れているときには、第1導電性接着材が発熱する。このときに、第1導電性接着材が電池モジュールまたは導電部材から部分的に剥離した場合、第1導電性接着材と電池モジュールまたは導電部材との界面抵抗が上昇する。これにより、第1導電性接着材がさらに発熱し、第1導電性接着材の温度が上昇する。この温度上昇を、第1導電性接着材に接触している第1温度センサにより検知することで、上記の部分的な剥離が生じていることを精度よく検知できる。
【0010】
本開示の一の局面に係る積層構造体は、好ましくは、1以上の第2導電性接着材をさらに備えている。1以上の第2導電性接着材の各々は、電池モジュールと導電部材との間に配置されている。1以上の第2導電性接着材の各々は、電池モジュールと導電部材とを互いに接着させている。1以上の第2導電性接着材の各々は、電池モジュールと導電部材とを互いに電気的に接続している。第1導電性接着材および1以上の第2導電性接着材は、第1方向に交差する第2方向に間隔を空けて並んでいる。第1方向は、電池モジュールと導電部材とが積層する方向である。第1導電性接着材は、第1導電性接着材および1以上の第2導電性接着材のなかで、第2方向における導電部材の中心から最も離れている。
(【0011】以降は省略されています)
この特許をJ-PlatPat(特許庁公式サイト)で参照する
関連特許
トヨタ自動車株式会社
車両
1日前
トヨタ自動車株式会社
電池
3日前
トヨタ自動車株式会社
車両
2日前
トヨタ自動車株式会社
固定子
2日前
トヨタ自動車株式会社
加熱器
1日前
トヨタ自動車株式会社
車両構造
1日前
トヨタ自動車株式会社
路側装置
3日前
トヨタ自動車株式会社
バッテリ
2日前
トヨタ自動車株式会社
バッテリ
2日前
トヨタ自動車株式会社
塗工装置
2日前
トヨタ自動車株式会社
二次電池
2日前
トヨタ自動車株式会社
監視装置
2日前
トヨタ自動車株式会社
蓄電装置
1日前
トヨタ自動車株式会社
製造装置
2日前
トヨタ自動車株式会社
制御装置
1日前
トヨタ自動車株式会社
通話装置
1日前
トヨタ自動車株式会社
車載装置
1日前
トヨタ自動車株式会社
三角表示板
1日前
トヨタ自動車株式会社
ガスタンク
1日前
トヨタ自動車株式会社
車両下部構造
2日前
トヨタ自動車株式会社
車載システム
1日前
トヨタ自動車株式会社
情報処理装置
2日前
トヨタ自動車株式会社
制御システム
1日前
トヨタ自動車株式会社
車両前部構造
2日前
トヨタ自動車株式会社
車両前部構造
2日前
トヨタ自動車株式会社
情報提供装置
2日前
トヨタ自動車株式会社
車両製造方法
2日前
トヨタ自動車株式会社
情報処理装置
1日前
トヨタ自動車株式会社
電池交換装置
2日前
トヨタ自動車株式会社
車両制御装置
2日前
トヨタ自動車株式会社
情報処理装置
2日前
トヨタ自動車株式会社
電力制御装置
2日前
トヨタ自動車株式会社
人工筋肉装置
2日前
トヨタ自動車株式会社
車両制御装置
2日前
トヨタ自動車株式会社
情報処理装置
1日前
トヨタ自動車株式会社
被膜形成装置
2日前
続きを見る
他の特許を見る