TOP
|
特許
|
意匠
|
商標
特許ウォッチ
Twitter
他の特許を見る
公開番号
2025140333
公報種別
公開特許公報(A)
公開日
2025-09-29
出願番号
2024039673
出願日
2024-03-14
発明の名称
認証システム、認証装置、方法及びプログラム
出願人
日本電気株式会社
代理人
個人
主分類
G06F
21/44 20130101AFI20250919BHJP(計算;計数)
要約
【課題】認証対象の装置の真正の認証情報を取得可能な認証システム、認証装置、方法及びプログラムを提供すること。
【解決手段】認証対象の装置は、認証対象の装置の認証情報を生成する認証情報生成部と、認証対象の装置の製造時に生成された認証情報を含むプラットフォーム証明書が保存された記憶装置と、認証対象の装置の使用場所において、記憶装置に保存されたプラットフォーム証明書を認証装置に送信する証明書送信部とを備える。認証装置は、認証対象の装置が送信したプラットフォーム証明書を受信する受信部と、受信したプラットフォーム証明書に対応する電子証明書を用いて、プラットフォーム証明書の有効性を判定する証明書判定部と、プラットフォーム証明書が有効であると判定された場合、プラットフォーム証明書に含まれる認証情報を、認証装置がアクセス可能な記憶装置に保存する認証情報保存部とを備える。
【選択図】図6
特許請求の範囲
【請求項1】
認証対象の装置と、
前記認証対象の装置を認証する認証装置とを含み、
前記認証対象の装置は、
前記認証対象の装置の認証情報を生成する認証情報生成部と、
前記認証対象の装置の製造時に前記認証情報生成部が生成した認証情報である製造時認証情報を含むプラットフォーム証明書が保存された記憶装置と、
前記認証対象の装置の使用場所において、前記記憶装置に保存された前記プラットフォーム証明書を認証装置に送信する証明書送信部とを備え、
前記認証装置は、
前記認証対象の装置が送信した前記プラットフォーム証明書を受信する受信部と、
前記受信部が受信した前記プラットフォーム証明書に対応する電子証明書を用いて、前記プラットフォーム証明書の有効性を判定する証明書判定部と、
前記証明書判定部によって前記プラットフォーム証明書が有効であると判定された場合、前記プラットフォーム証明書に含まれる前記製造時認証情報を、前記認証装置がアクセス可能な記憶装置に保存する認証情報保存部とを備える、
認証システム。
続きを表示(約 1,300 文字)
【請求項2】
前記認証情報は、前記認証対象の装置の起動時における前記認証対象の装置が備えたプログラムの検証結果のハッシュ値である、請求項1に記載の認証システム。
【請求項3】
前記認証対象の装置が備えたプログラムには、前記認証対象の装置が備えたファームウェア、バイオス、ユニファイド・エクステンシブル・ファームウェア・インタフェース、ブートローダ及びOS(Operating System)の少なくとも1つが含まれる、請求項2に記載の認証システム。
【請求項4】
前記認証情報は、前記認証対象の装置が製造時に有する初期情報である、請求項1に記載の認証システム。
【請求項5】
前記認証対象の装置は、前記認証対象の装置の使用場所において前記認証情報生成部が生成した認証情報である使用時認証情報を認証装置に送信する認証情報送信部を備え、
前記認証装置は、前記証明書判定部によって前記プラットフォーム証明書が有効であると判定されたプラットフォーム証明書に含まれる前記製造時認証情報と、前記認証情報送信部が送信した前記使用時認証情報を用いて、前記認証対象の装置を認証する認証部とを備える、請求項1~4のいずれか1項に記載の認証システム。
【請求項6】
認証対象の装置の記憶装置に保存されている前記認証対象の装置の製造時に生成された前記認証対象の装置の認証情報である製造時認証情報を含むプラットフォーム証明書を受信する受信部と、
前記受信部が受信した前記プラットフォーム証明書に対応する電子証明書を用いて、前記プラットフォーム証明書の有効性を判定する証明書判定部と、
前記証明書判定部によって前記プラットフォーム証明書が有効であると判定された場合、前記プラットフォーム証明書に含まれる前記製造時認証情報を、自装置がアクセス可能な記憶装置に保存する認証情報保存部と
を備える認証装置。
【請求項7】
前記認証情報は、前記認証対象の装置の起動時における前記認証対象の装置が備えたプログラムの検証結果のハッシュ値である、請求項6に記載の認証装置。
【請求項8】
前記認証対象の装置が備えたプログラムには、前記認証対象の装置が備えたファームウェア、バイオス、ユニファイド・エクステンシブル・ファームウェア・インタフェース、ブートローダ及びOSの少なくとも1つが含まれる、請求項7に記載の認証装置。
【請求項9】
前記認証情報は、前記認証対象の装置の処理情報である、請求項6に記載の認証装置。
【請求項10】
前記受信部は、前記認証対象の装置が使用場所において生成した認証情報である使用時認証情報を受信し、
前記認証装置は、前記証明書判定部によって前記プラットフォーム証明書が有効であると判定された前記プラットフォーム証明書に含まれる前記製造時認証情報と、前記受信部が受信した前記使用時認証情報を用いて、前記認証対象の装置を認証する認証部とを備える、請求項6~9のいずれか1項に記載の認証装置。
(【請求項11】以降は省略されています)
発明の詳細な説明
【技術分野】
【0001】
本開示は、認証情報を取得する認証システム、認証装置、方法及びプログラムに関する。
続きを表示(約 1,800 文字)
【背景技術】
【0002】
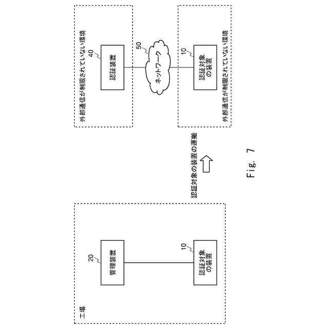
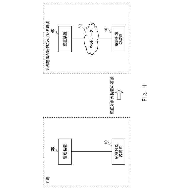
従来、PC等の情報処理装置を認証するために、情報処理装置の認証情報を可搬型の記憶装置に保存し、認証装置が可搬型の記憶装置から認証情報を取得することが行われている。しかしながら、認証装置が、可搬型の記憶装置の持ち込みの制限されている施設に設置されている場合、このような施設において認証情報を取得することができない。
【0003】
この点に関し、特許文献1は、装置の製造工程に係る情報である製造時情報、装置の起動工程に係る情報である起動時情報、及び装置の更新工程に係る情報である更新時情報を分散型台帳に記帳し、分散型台帳に記帳された情報を読み出すデバイス管理システムを開示している。
【先行技術文献】
【特許文献】
【0004】
特開2020-154954号公報
【非特許文献】
【0005】
“TCG EFI Platform Specification”、[online]、[令和6年2月6日]、インターネット(https://trustedcomputinggroup.org/wp-content/uploads/TCG-EFI-Platform-Specification.pdf)
【発明の概要】
【発明が解決しようとする課題】
【0006】
しかしながら、特許文献1が開示するデバイス管理システムにおいて、製造時情報や起動時情報等を認証情報として使用する場合、これらの情報を分散型台帳に保存する過程や分散型台帳から取得する過程において、これらの情報が改竄される可能性がある。そのため、改竄された情報を認証情報として取得してしまう虞がある。
【0007】
本開示の目的の1つは、上述した課題を鑑み、認証対象の装置の真正の認証情報を取得可能な認証システム、認証装置、方法及びプログラムを提供することにある。
【課題を解決するための手段】
【0008】
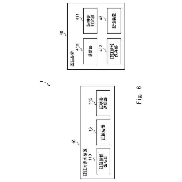
本開示に係る認証システムは、
認証対象の装置と、
認証対象の装置を認証する認証装置とを含み、
認証対象の装置は、
認証対象の装置の認証情報を生成する認証情報生成部と、
認証対象の装置の製造時に認証情報生成部が生成した認証情報である製造時認証情報を含むプラットフォーム証明書が保存された記憶装置と、
認証対象の装置の使用場所において、記憶装置に保存されたプラットフォーム証明書を認証装置に送信する証明書送信部とを備え、
認証装置は、
認証対象の装置が送信したプラットフォーム証明書を受信する受信部と、
受信部が受信したプラットフォーム証明書に対応する電子証明書を用いて、プラットフォーム証明書の有効性を判定する証明書判定部と、
証明書判定部によってプラットフォーム証明書が有効であると判定された場合、プラットフォーム証明書に含まれる製造時認証情報を、認証装置がアクセス可能な記憶装置に保存する認証情報保存部とを備える。
【0009】
本開示に係る認証装置は、
認証対象の装置の記憶装置に保存されている認証対象の装置の製造時に生成された認証対象の装置の認証情報である製造時認証情報を含むプラットフォーム証明書を受信する受信部と、
受信部が受信したプラットフォーム証明書に対応する電子証明書を用いて、プラットフォーム証明書の有効性を判定する証明書判定部と、
証明書判定部によってプラットフォーム証明書が有効であると判定された場合、プラットフォーム証明書に含まれる製造時認証情報を、自装置がアクセス可能な記憶装置に保存する認証情報保存部とを備える。
【0010】
本開示に係る方法は、コンピュータが、
認証対象の装置が送信した、認証対象の装置の記憶装置に保存されている認証対象の装置の製造時に生成された認証対象の装置の認証情報である製造時認証情報を含むプラットフォーム証明書を受信し、
受信したプラットフォーム証明書に対応する電子証明書を用いて、プラットフォーム証明書の有効性を判定し、
プラットフォーム証明書が有効であると判定された場合、プラットフォーム証明書に含まれる製造時認証情報を記憶装置に保存する。
(【0011】以降は省略されています)
この特許をJ-PlatPat(特許庁公式サイト)で参照する
関連特許
日本電気株式会社
分析装置
5日前
日本電気株式会社
学習装置
29日前
日本電気株式会社
原子発振器
1か月前
日本電気株式会社
超伝導量子回路
25日前
日本電気株式会社
マルチバンドバラン
23日前
日本電気株式会社
検知装置および検知方法
5日前
日本電気株式会社
送信装置および通信装置
1日前
日本電気株式会社
通信装置および通信方法
1日前
日本電気株式会社
量子回路装置と制御方法
5日前
日本電気株式会社
量子回路装置と制御方法
5日前
日本電気株式会社
端末装置および無線通信方法
16日前
日本電気株式会社
分析方法および分析システム
2日前
日本電気株式会社
機器冷却装置及びその冷却方法
17日前
日本電気株式会社
処理装置、方法、及びプログラム
29日前
日本電気株式会社
プログラム、算出装置、及び方法
17日前
日本電気株式会社
共振器及びそれを備えた導波回路
3日前
日本電気株式会社
システム及びマイグレーション方法
5日前
日本電気株式会社
ピーク抑圧装置及びピーク抑圧方法
15日前
日本電気株式会社
リング共振器、およびその製造方法
1か月前
日本電気株式会社
推定装置、推定方法及びプログラム
8日前
日本電気株式会社
リング共振器、およびその製造方法
1か月前
日本電気株式会社
推定装置、推定方法及びプログラム
8日前
日本電気株式会社
処理装置、処理方法、及びプログラム
5日前
日本電気株式会社
推定装置、推定方法、及び、記録媒体
2日前
日本電気株式会社
画像管理システムおよび画像管理方法
3日前
日本電気株式会社
波長可変レーザ装置及びその構成方法
1日前
日本電気株式会社
予測システム、予測方法及びプログラム
8日前
日本電気株式会社
管理システム、管理方法及びプログラム
15日前
日本電気株式会社
通信システム及びパケット順序補正方法
16日前
日本電気株式会社
通信装置、通信方法及び通信プログラム
2日前
日本電気株式会社
判定装置、判定方法、及び、プログラム
25日前
日本電気株式会社
注文端末、注文受付方法及びプログラム
1日前
日本電気株式会社
映像処理装置、映像処理方法、プログラム
5日前
日本電気株式会社
情報処理システム、処理方法、プログラム
5日前
日本電気株式会社
通信システム、通信方法及び、プログラム
1日前
日本電気株式会社
管理装置、管理方法および管理プログラム
3日前
続きを見る
他の特許を見る