TOP
|
特許
|
意匠
|
商標
特許ウォッチ
Twitter
他の特許を見る
10個以上の画像は省略されています。
公開番号
2025140574
公報種別
公開特許公報(A)
公開日
2025-09-29
出願番号
2024040058
出願日
2024-03-14
発明の名称
衣類処理機
出願人
東芝ライフスタイル株式会社
代理人
個人
,
個人
,
個人
,
個人
,
個人
主分類
D06F
33/32 20200101AFI20250919BHJP(繊維または類似のものの処理;洗濯;他に分類されない可とう性材料)
要約
【課題】利便性の向上を図ることができる衣類処理機を提供することである。
【解決手段】実施形態の衣類処理機は、筐体と、閉塞部材と、ロック機構と、通信部と、制御部とを備える。前記筐体は、衣類を投入可能な開口部を有する。前記閉塞部材は、前記開口部を開閉可能に閉塞する。前記ロック機構は、前記閉塞部材が閉じ状態から開き状態になることを許容する開放状態と、前記閉塞部材を前記閉じ状態に規制する規制状態とで遷移可能である。前記通信部は、前記衣類処理機の外部と通信可能である。前記制御部は、前記ロック機構および前記通信部を制御する。前記制限部は、前記ロック機構が前記規制状態にある場合に前記通信部を介して外部から所定操作を受け付けることを許容し、前記ロック機構が前記開放状態にある場合に前記通信部を介して前記所定操作を受け付けることを制限する。
【選択図】図9
特許請求の範囲
【請求項1】
衣類処理機であって、
衣類を投入可能な開口部を有した筐体と、
前記開口部を開閉可能に閉塞する閉塞部材と、
前記閉塞部材が閉じ状態から開き状態になることを許容する開放状態と、前記閉塞部材を前記閉じ状態に規制する規制状態とで遷移可能なロック機構と、
前記衣類処理機の外部と通信可能な通信部と、
前記ロック機構および前記通信部を制御する制御部と、
前記ロック機構が前記規制状態にある場合に前記通信部を介して外部から所定操作を受け付けることを許容し、前記ロック機構が前記開放状態にある場合に前記通信部を介して外部から前記所定操作を受け付けることを制限する制限部と、
を備えた衣類処理機。
続きを表示(約 1,400 文字)
【請求項2】
前記制限部は、前記ロック機構が前記規制状態から前記開放状態になることに連動して前記通信部を介して外部から前記所定操作を受け付けることを制限する、
請求項1に記載の衣類処理機。
【請求項3】
前記制限部は、前記ロック機構が前記開放状態である場合と前記規制状態である場合とで物理的または電気的な状態が変化する切替部を有する、
請求項1または請求項2に記載の衣類処理機。
【請求項4】
前記制限部により前記通信部を介して外部から前記所定操作を受け付けることを制限することは、前記通信部による通信を規制することで、前記所定操作を受け付けることを制限することである、
請求項1または請求項2に記載の衣類処理機。
【請求項5】
前記筐体に設けられた電源操作部をさらに備え、
前記制御部は、前記電源操作部に対して電源を切る態様の操作が行われた場合、前記ロック機構を前記規制状態に遷移させるとともに、前記通信部の通信機能を維持する、
請求項1または請求項2に記載の衣類処理機。
【請求項6】
前記閉塞部材の開閉状態を検知する検知部をさらに備え、
前記制御部は、前記電源操作部に対して電源を切る態様の操作が行われたときに前記検知部により前記閉塞部材が開き状態にあると検知された場合、前記電源を切る操作を受け付けず、異常を報知する、
請求項5に記載の衣類処理機。
【請求項7】
前記制御部は、前記電源操作部に対して電源を入れる態様の操作が行われた場合、前記ロック機構を前記開放状態に遷移させる、
請求項5に記載の衣類処理機。
【請求項8】
前記所定操作は、前記通信部を介して外部から電源を入れる態様の操作であり、
前記制御部は、
前記電源操作部に対して電源を入れる態様の操作が行われた場合、前記ロック機構を前記開放状態に遷移させ、
前記制限部により前記所定操作を受け付けることが制限された状態で前記所定操作が行われた場合、前記ロック機構を前記開放状態に遷移させない、
請求項5に記載の衣類処理機。
【請求項9】
前記所定操作は、前記通信部を介して外部から電源を入れる態様の操作であり、
前記制御部は、前記制限部により前記所定操作を受け付けることが制限された状態で前記所定操作が行われた場合であって、前記衣類処理機から所定距離内にユーザが存在することに関連する所定条件が満たされる場合、前記ロック機構を前記開放状態に遷移させる、
請求項5に記載の衣類処理機。
【請求項10】
前記制御部は、
前記通信部により外部と通信を行う設定が行われている場合において、前記電源操作部に対して電源を切る態様の操作が行われた場合、前記通信部の通信機能を維持するとともに、前記ロック機構を前記規制状態に遷移させ、
前記通信部により外部と通信を行う設定が行われていない場合において、前記電源操作部に対して電源を切る態様の操作が行われた場合、前記ロック機構を前記規制状態に遷移させずに前記衣類処理機を電源切状態にする、
請求項5に記載の衣類処理機。
(【請求項11】以降は省略されています)
発明の詳細な説明
【技術分野】
【0001】
本発明の実施形態は、衣類処理機に関する。
続きを表示(約 2,100 文字)
【背景技術】
【0002】
端末装置を用いて離れた場所から設定操作が可能な洗濯機が知られている。このような衣類処理機は、さらなる利便性の向上が期待されている。
【先行技術文献】
【特許文献】
【0003】
特開2020-162817号公報
【発明の概要】
【発明が解決しようとする課題】
【0004】
本発明が解決しようとする課題は、利便性の向上を図ることができる衣類処理機を提供することである。
【課題を解決するための手段】
【0005】
実施形態の衣類処理機は、筐体と、閉塞部材と、ロック機構と、通信部と、制御部とを備える。前記筐体は、衣類を投入可能な開口部を有する。前記閉塞部材は、前記開口部を開閉可能に閉塞する。前記ロック機構は、前記閉塞部材が閉じ状態から開き状態になることを許容する開放状態と、前記閉塞部材を前記閉じ状態に規制する規制状態とで遷移可能である。前記通信部は、前記衣類処理機の外部と通信可能である。前記制御部は、前記ロック機構および前記通信部を制御する。前記制限部は、前記ロック機構が前記規制状態にある場合に前記通信部を介して外部から所定操作を受け付けることを許容し、前記ロック機構が前記開放状態にある場合に前記通信部を介して前記所定操作を受け付けることを制限する。
【図面の簡単な説明】
【0006】
実施形態の衣類処理システムの全体構成を示す図。
実施形態の洗濯機を示す正面図。
実施形態の洗濯機を示す正面図。
実施形態の洗濯機を示す断面図。
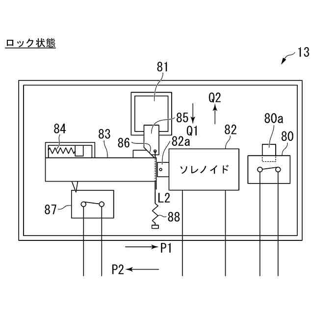
実施形態のロック機構を模式的に示す平面図。
実施形態のロック機構を模式的に示す平面図。
実施形態の表示および操作系を示す平面図。
実施形態の端末装置の表示画面を示す図。
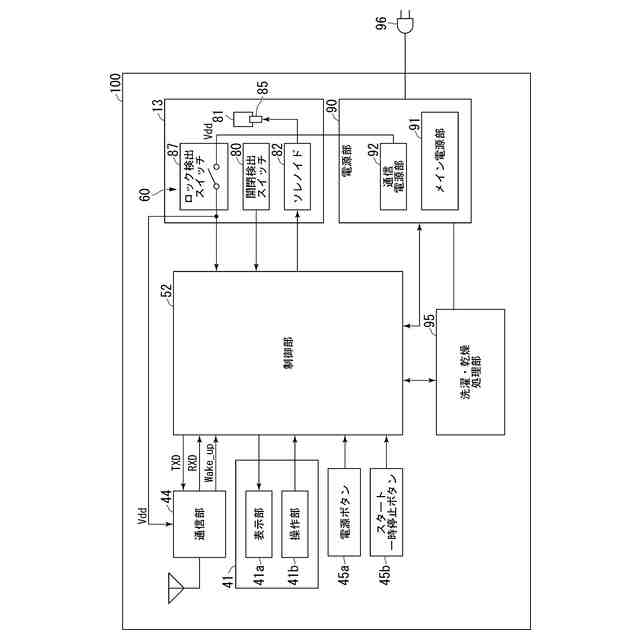
実施形態の制御系を示すブロック図。
実施形態の操作の流れを示すフローチャート。
実施形態の電源オンの操作の流れを示すフローチャート。
実施形態の電源オフの操作の流れを示すフローチャート。
実施形態の表示例を示す平面図。
実施形態の表示例を示す平面図。
【発明を実施するための形態】
【0007】
以下、実施形態の衣類処理機を、図面を参照して説明する。以下の説明では、同一または類似の機能を有する構成に同一の符号を付す。そして、それら構成の重複する説明は省略する場合がある。本出願で「XXに基づく」とは、「少なくともXXに基づく」ことを意味し、XXに加えて別の要素に基づく場合も含み得る。また「XXに基づく」とは、XXを直接に用いる場合に限定されず、XXに対して演算や加工が行われたものに基づく場合も含み得る。本出願で「XXまたはYY」とは、XXとYYのうちいずれか一方の場合に限定されず、XXとYYの両方の場合も含み得る。これは選択的要素が3つ以上の場合も同様である。XXおよびYYは、任意の要素(例えば任意の情報)である。
【0008】
本出願で「取得」とは、送信要求を送信して能動的に取得する場合に限定されず、他の装置から送信される情報を受動的に受信することで取得する場合も含み得る。また「取得」とは、外部から得られた情報に対して演算または加工などを行い、目的の情報を生成することで目的の情報を得る場合も含み得る。
【0009】
(実施形態)
<1.衣類処理システムの全体構成>
図1は、第1実施形態の衣類処理システム1の全体構成を示す図である。衣類処理システム1は、例えば、洗濯機100、サーバ200、および端末装置300の家電管理アプリAPを含む。後述するネットワークNWは、例えば、インターネット、セルラー網、Wi-Fi網、LPWA(Low Power Wide Area)、WAN(Wide Area Network)、LAN(Local Area Network)、またはその他の公衆回線や専用回線などを状況に応じて利用すればよい。
【0010】
洗濯機100は、ユーザUの住居内で使用される電気機器である。洗濯機100は、「衣類処理機」の一例である。「衣類処理機」とは、衣類に対して何らかの処理(例えば、洗濯、乾燥、しわ取り、折り目の強化、脱臭、花粉除去、埃除去、または除菌などのうち1つ以上の処理)を行う装置を広く意味する。衣類処理機は、例えば洗濯機であるが、クローゼット型クリーニング機なども該当する。また本出願において「洗濯機」とは、乾燥機能を有した洗濯乾燥機でもよく、乾燥機能を有しない洗濯機でもよい。また以下では、洗濯機100の一例として、ドラム式の洗濯機について説明する。ただし、洗濯機100は、ドラム式の洗濯機に限定されず、縦型式の洗濯機でもよく、二槽式の洗濯機などでもよい。
(【0011】以降は省略されています)
この特許をJ-PlatPat(特許庁公式サイト)で参照する
関連特許
個人
洗濯装置
1か月前
個人
ハンガー保持具
3か月前
東レ株式会社
繊維断面の検査方法
2日前
株式会社青柳
染め加工方法
23日前
ライオン株式会社
液体柔軟剤組成物
3か月前
シャープ株式会社
洗濯機
3か月前
日本バイリーン株式会社
内装用表面材
2か月前
花王株式会社
洗浄剤組成物
2か月前
東レ株式会社
樹脂含浸繊維束の製造方法
2か月前
有限会社高田紙器製作所
紙製洗濯バサミ
1か月前
東レ株式会社
炭素繊維シートの製造方法
1か月前
東レ株式会社
ゴム補強用合成繊維コード
9日前
株式会社創和
ボックス状洗濯ネット
24日前
シャープ株式会社
洗濯乾燥機
3か月前
株式会社大阪ソーダ
撥水撥油性繊維処理剤
1か月前
個人
洗濯用洗剤容器の蓋
1か月前
シャープ株式会社
洗濯機
1か月前
日本バイリーン株式会社
表皮材とその製造方法
2か月前
株式会社コーワ
フィルター清掃装置及び乾燥機
2か月前
株式会社コーワ
フィルター清掃装置及び乾燥機
2か月前
大阪瓦斯株式会社
衣類乾燥機
1か月前
大阪瓦斯株式会社
衣類乾燥機
1か月前
大阪瓦斯株式会社
衣類乾燥機
1か月前
松本油脂製薬株式会社
繊維用処理剤及びその利用
1か月前
シャープ株式会社
洗濯機
1か月前
東レ株式会社
人工皮革、乗物用内装材、および座席
3か月前
シャープ株式会社
洗濯機
1か月前
個人
開閉角度調整可能な角型折畳みピンチハンガー
1か月前
株式会社コーワ
フィルター装置及び洗濯機又は乾燥機
2か月前
東レ株式会社
抗菌性アクリル系繊維およびその製造方法
25日前
東芝ライフスタイル株式会社
洗濯機
29日前
東芝ライフスタイル株式会社
洗濯機
15日前
個人
パイプ用係止、固定装置及び洗濯バサミ取り付け具
1か月前
シャープ株式会社
洗濯機
2か月前
セイコーエプソン株式会社
記録装置
3か月前
東芝ライフスタイル株式会社
洗濯機
3か月前
続きを見る
他の特許を見る