TOP
|
特許
|
意匠
|
商標
特許ウォッチ
Twitter
他の特許を見る
10個以上の画像は省略されています。
公開番号
2025140663
公報種別
公開特許公報(A)
公開日
2025-09-29
出願番号
2024040195
出願日
2024-03-14
発明の名称
電子機器、プログラム、及び制御方法
出願人
ソフトバンク株式会社
代理人
弁理士法人RYUKA国際特許事務所
主分類
G06F
3/01 20060101AFI20250919BHJP(計算;計数)
要約
【解決手段】電子機器であって、前記電子機器の操作者の手を被写体として含む撮像データを取得する取得部と、前記撮像データに含まれる前記操作者の手に対応する、複数のポイントを含むスケルトンデータを推測する推測部と、前記スケルトンデータに含まれる前記複数のポイントのうちの2つのジェスチャ認識用ポイントの間の距離と、前記撮像データを撮像した撮像部と前記操作者の手との距離に対応する閾値とに基づいて、前記電子機器を操作するための前記操作者によるジェスチャを認識する認識部とを備える、電子機器を提供する。
【選択図】図1
特許請求の範囲
【請求項1】
電子機器であって、
前記電子機器の操作者の手を被写体として含む撮像データを取得する取得部と、
前記撮像データに含まれる前記操作者の手に対応する、複数のポイントを含むスケルトンデータを推測する推測部と、
前記スケルトンデータに含まれる前記複数のポイントのうちの2つのジェスチャ認識用ポイントの間の距離と、前記撮像データを撮像した撮像部と前記操作者の手との距離に対応する閾値とに基づいて、前記電子機器を操作するための前記操作者によるジェスチャを認識する認識部と
を備える、電子機器。
続きを表示(約 1,600 文字)
【請求項2】
前記認識部は、前記撮像部と前記操作者の手との距離が短いほど大きい前記閾値に基づいて、前記電子機器を操作するための前記操作者によるジェスチャを認識する、請求項1に記載の電子機器。
【請求項3】
前記認識部は、前記スケルトンデータに含まれる、前記手の親指の先端に対応する第1のジェスチャ認識用ポイントと、前記手の人差指の先端に対応する第2のジェスチャ認識用ポイントとの間の距離と、前記閾値とに基づいて、前記操作者によるジェスチャを認識する、請求項1に記載の電子機器。
【請求項4】
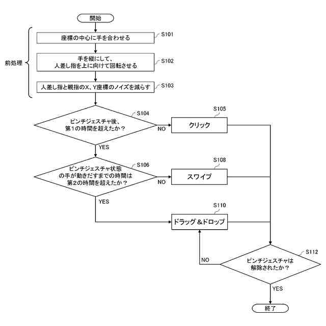
前記認識部は、前記第1のジェスチャ認識用ポイントと前記第2のジェスチャ認識用ポイントとの間の距離が、前記閾値より短くなった場合に、前記操作者がピンチジェスチャを行ったと判定する、請求項3に記載の電子機器。
【請求項5】
前記認識部は、前記操作者が前記ピンチジェスチャを行ったと判定した後、前記ピンチジェスチャが解除されるまでの時間と、前記ピンチジェスチャをしている状態における前記操作者の手の移動量とに基づいて、クリックジェスチャ、スワイプジェスチャ、及びドラッグアンドドロップジェスチャのいずれを前記操作者が行ったかを判定する、請求項4に記載の電子機器。
【請求項6】
前記認識部は、前記第1のジェスチャ認識用ポイントと前記第2のジェスチャ認識用ポイントの距離と、前記閾値と、前記スケルトンデータに含まれる、前記手の人差指の付け根に対応する補助ポイントを基準とした前記第2のジェスチャ認識用ポイントの移動前後の角度とに基づいて、前記操作者によるジェスチャを認識する、請求項3から5のいずれか一項に記載の電子機器。
【請求項7】
前記認識部は、前記撮像データに含まれる複数のフレームから、前記撮像部と前記操作者の手との距離が短いほど大きい間引き率で間引いた後の複数のフレームを対象として、前記2つのジェスチャ認識用ポイントの距離と、前記撮像データを撮像した撮像部と前記操作者の手との距離に対応する閾値とに基づいて、前記電子機器を操作するための前記操作者によるジェスチャを認識する、請求項1から5のいずれか一項に記載の電子機器。
【請求項8】
電子機器であって、
前記電子機器の操作者の手を被写体として含む撮像データを取得する取得部と、
前記撮像データに含まれる前記操作者の手に対応する、複数のポイントを含むスケルトンデータを推測する推測部と、
前記スケルトンデータに含まれる前記複数のポイントのうちの、前記手の親指の先端に対応する第1のジェスチャ認識用ポイントと、前記手の人差指の先端に対応する第2のジェスチャ認識用ポイントとの間の距離と、前記手の人差指の付け根に対応する補助ポイントを基準とした前記第2のジェスチャ認識用ポイントの移動前後の角度とに基づいて、前記操作者によるジェスチャを認識する認識部と
を備える電子機器。
【請求項9】
コンピュータを、請求項1から5のいずれか一項に記載の電子機器として機能させるためのプログラム。
【請求項10】
電子機器によって実行される制御方法であって、
前記電子機器の操作者の手を被写体として含む撮像データを取得する取得段階と、
前記撮像データに含まれる前記操作者の手に対応する、複数のポイントを含むスケルトンデータを推測する推測段階と、
前記スケルトンデータに含まれる前記複数のポイントのうちの2つのジェスチャ認識用ポイントの間の距離と、前記撮像データを撮像した撮像部と前記操作者の手との距離に対応する閾値とに基づいて、前記電子機器を操作するための前記操作者によるジェスチャを認識する認識段階と
を備える、制御方法。
(【請求項11】以降は省略されています)
発明の詳細な説明
【技術分野】
【0001】
本発明は、電子機器、プログラム、及び制御方法に関する。
続きを表示(約 3,200 文字)
【背景技術】
【0002】
特許文献1には、電子機器の操作者の手のスケルトンデータに基づいて、操作者の手の特定の部位の位置を算出し、当該位置に対応するようにカーソル位置を決定する技術が記載されている。
[先行技術文献]
[特許文献]
[特許文献1]特許第7213396号
【発明の概要】
【課題を解決するための手段】
【0003】
本発明の一実施態様によれば、電子機器が提供される。前記電子機器は、前記電子機器の操作者の手を被写体として含む撮像データを取得する取得部を備えてよい。前記電子機器は、前記撮像データに含まれる前記操作者の手に対応する、複数のポイントを含むスケルトンデータを推測する推測部を備えてよい。前記電子機器は、前記スケルトンデータに含まれる前記複数のポイントのうちの2つのジェスチャ認識用ポイントの間の距離と、前記撮像データを撮像した撮像部と前記操作者の手との距離に対応する閾値とに基づいて、前記電子機器を操作するための前記操作者によるジェスチャを認識する認識部を備えてよい。前記電子機器において、前記認識部は、前記撮像部と前記操作者の手との距離が短いほど大きい前記閾値に基づいて、前記電子機器を操作するための前記操作者によるジェスチャを認識してよい。前記いずれかの電子機器において、前記認識部は、前記スケルトンデータに含まれる、前記手の親指の先端に対応する第1のジェスチャ認識用ポイントと、前記手の人差指の先端に対応する第2のジェスチャ認識用ポイントとの間の距離と、前記閾値とに基づいて、前記操作者によるジェスチャを認識してよい。前記認識部は、前記第1のジェスチャ認識用ポイントと前記第2のジェスチャ認識用ポイントとの間の距離が、前記閾値より短くなった場合に、前記操作者がピンチジェスチャを行ったと判定してよい。前記認識部は、前記操作者が前記ピンチジェスチャを行ったと判定した後、前記ピンチジェスチャが解除されるまでの時間と、前記ピンチジェスチャをしている状態における前記操作者の手の移動量とに基づいて、クリックジェスチャ、スワイプジェスチャ、及びドラッグアンドドロップジェスチャのいずれを前記操作者が行ったかを判定してよい。前記いずれかの電子機器において、前記認識部は、前記第1のジェスチャ認識用ポイントと前記第2のジェスチャ認識用ポイントの距離と、前記閾値と、前記スケルトンデータに含まれる、前記手の人差指の付け根に対応する補助ポイントを基準とした前記第2のジェスチャ認識用ポイントの移動前後の角度とに基づいて、前記操作者によるジェスチャを認識してよい。前記いずれかの電子機器において、前記認識部は、前記撮像データに含まれる複数のフレームから、前記撮像部と前記操作者の手との距離が短いほど大きい間引き率で間引いた後の複数のフレームを対象として、前記2つのジェスチャ認識用ポイントの距離と、前記撮像データを撮像した撮像部と前記操作者の手との距離に対応する閾値とに基づいて、前記電子機器を操作するための前記操作者によるジェスチャを認識してよい。
【0004】
本発明の一実施態様によれば、電子機器が提供される。前記電子機器は、前記電子機器の操作者の手を被写体として含む撮像データを取得する取得部を備えてよい。前記電子機器は、前記撮像データに含まれる前記操作者の手に対応する、複数のポイントを含むスケルトンデータを推測する推測部を備えてよい。前記電子機器は、前記スケルトンデータに含まれる前記複数のポイントのうちの、前記手の親指の先端に対応する第1のジェスチャ認識用ポイントと、前記手の人差指の先端に対応する第2のジェスチャ認識用ポイントとの間の距離と、前記手の人差指の付け根に対応する補助ポイントを基準とした前記第2のジェスチャ認識用ポイントの移動前後の角度とに基づいて、前記操作者によるジェスチャを認識する認識部を備えてよい。
【0005】
本発明の一実施態様によれば、コンピュータを、前記電子機器として機能させるためのプログラムが提供される。
【0006】
本発明の一実施態様によれば、電子機器によって実行される制御方法が提供される。前記制御方法は、前記電子機器の操作者の手を被写体として含む撮像データを取得する取得段階を備えてよい。前記制御方法は、前記撮像データに含まれる前記操作者の手に対応する、複数のポイントを含むスケルトンデータを推測する推測段階を備えてよい。前記制御方法は、前記スケルトンデータに含まれる前記複数のポイントのうちの2つのジェスチャ認識用ポイントの間の距離と、前記撮像データを撮像した撮像部と前記操作者の手との距離に対応する閾値とに基づいて、前記電子機器を操作するための前記操作者によるジェスチャを認識する認識段階を備えてよい。
【0007】
本発明の一実施態様によれば、電子機器によって実行される制御方法が提供される。前記制御方法は、前記電子機器の操作者の手を被写体として含む撮像データを取得する取得段階を備えてよい。前記制御方法は、前記撮像データに含まれる前記操作者の手に対応する、複数のポイントを含むスケルトンデータを推測する推測段階を備えてよい。前記制御方法は、前記スケルトンデータに含まれる前記複数のポイントのうちの、前記手の親指の先端に対応する第1のジェスチャ認識用ポイントと、前記手の人差指の先端に対応する第2のジェスチャ認識用ポイントとの間の距離と、前記手の人差指の付け根に対応する補助ポイントを基準とした前記第2のジェスチャ認識用ポイントの移動前後の角度とに基づいて、前記操作者によるジェスチャを認識する認識段階を備えてよい。
【0008】
なお、上記の発明の概要は、本発明の必要な特徴の全てを列挙したものではない。また、これらの特徴群のサブコンビネーションもまた、発明となりうる。
【図面の簡単な説明】
【0009】
電子機器100の一例を概略的に示す。
電子機器100の機能構成の一例を概略的に示す。
操作者40の手20のスケルトンデータ30に含まれる複数のポイントの一例について説明するための説明図である。
決定部128によるカーソル位置の決定方法について説明するための説明図である。
手20のスケルトンデータ30に含まれる複数のポイントから選択された、少なくとも3つのノイズ除去用ポイントについて説明するための説明図である。
認識部130によるジェスチャ認識について説明するための説明図である。
認識部130によるジェスチャ認識について説明するための説明図である。
撮像部102と操作者40の手20との距離に対応して、ピンチ認識用閾値を変更することを説明するための説明図である。
認識部130によるジェスチャ認識の他の一例について説明するための説明図である。
認識部130によるジェスチャ認識におけるノイズ低減処理について説明するための説明図である。
電子機器100として機能するコンピュータ1200のハードウェア構成の一例を概略的に示す。
【発明を実施するための形態】
【0010】
以下、発明の実施の形態を通じて本発明を説明するが、以下の実施形態は特許請求の範囲にかかる発明を限定するものではない。また、実施形態の中で説明されている特徴の組み合わせの全てが発明の解決手段に必須であるとは限らない。
(【0011】以降は省略されています)
この特許をJ-PlatPat(特許庁公式サイト)で参照する
関連特許
ソフトバンク株式会社
測定装置、測定方法及びプログラム
5日前
ソフトバンク株式会社
信号分離回路、送受信回路及び無線装置
今日
ソフトバンク株式会社
生成装置、生成方法および生成プログラム
4日前
ソフトバンク株式会社
情報処理装置、情報処理方法及び情報処理プログラム
5日前
ソフトバンク株式会社
情報処理装置、情報処理方法および情報処理プログラム
4日前
ソフトバンク株式会社
情報処理装置、プログラム、情報処理システム及び情報処理方法
5日前
ソフトバンク株式会社
情報処理装置、プログラム、情報処理システム及び情報処理方法
5日前
ソフトバンク株式会社
情報処理装置、情報処理方法、情報処理プログラムおよび情報処理システム
5日前
ソフトバンク株式会社
学習データ生成システム、学習データ生成プログラム、および学習データ生成方法
5日前
ソフトバンク株式会社
複合体、二次電池の電極用スラリー、二次電池用電極、二次電池、飛行体、複合体の製造方法、及び、二次電池用電極の製造方法
今日
個人
詐欺保険
今日
個人
縁伊達ポイン
今日
個人
QRコードの彩色
4日前
個人
フラワーコートA
2か月前
個人
地球保全システム
13日前
個人
工程設計支援装置
2か月前
個人
為替ポイント伊達夢貯
1か月前
個人
冷凍食品輸出支援構造
1か月前
個人
携帯情報端末装置
2か月前
個人
表変換編集支援システム
1か月前
個人
残土処理システム
6日前
個人
知的財産出願支援システム
7日前
個人
知財出願支援AIシステム
1か月前
個人
結婚相手紹介支援システム
1か月前
個人
パスワード管理支援システム
1か月前
個人
行動時間管理システム
1か月前
個人
AIによる情報の売買の仲介
1か月前
株式会社アジラ
進入判定装置
1か月前
個人
システム及びプログラム
26日前
株式会社キーエンス
受発注システム
12日前
個人
パスポートレス入出国システム
1か月前
個人
アンケート支援システム
2か月前
個人
食品レシピ生成システム
12日前
株式会社キーエンス
受発注システム
12日前
日本精機株式会社
施工管理システム
1か月前
個人
AIキャラクター制御システム
1か月前
続きを見る
他の特許を見る