TOP
|
特許
|
意匠
|
商標
特許ウォッチ
Twitter
他の特許を見る
公開番号
2025154459
公報種別
公開特許公報(A)
公開日
2025-10-10
出願番号
2024057474
出願日
2024-03-29
発明の名称
情報処理装置、情報処理方法および情報処理プログラム
出願人
ソフトバンク株式会社
代理人
弁理士法人酒井国際特許事務所
主分類
G06T
7/70 20170101AFI20251002BHJP(計算;計数)
要約
【課題】骨格点を活用した精度よい物体検出を実現すること。
【解決手段】情報処理装置は、取得部と、算出部とを備える。取得部は、画像に含まれる所定の被写体に対応する骨格点を取得する。算出部は、骨格点のうち、画像の座標系で最も高い位置の第1骨格点と最も低い位置の第2骨格点との高さ距離に基づいて、所定の被写体の接地面における接地点を算出する。
【選択図】図7
特許請求の範囲
【請求項1】
画像に含まれる所定の被写体に対応する骨格点を取得する取得部と、
前記骨格点のうち、前記画像の座標系で最も高い位置の第1骨格点と最も低い位置の第2骨格点との高さ距離に基づいて、前記所定の被写体の接地面における接地点を算出する算出部と、
を備える情報処理装置。
続きを表示(約 1,600 文字)
【請求項2】
撮影手段の連続的な撮影によって前記画像が得られるたびに、得られた前記画像ごとに前記所定の被写体に対応する骨格点を推定する推定部を
さらに備え、
前記取得部は、連続的な撮影に応じて推定された骨格点を逐次取得し、
前記算出部は、連続的な撮影が行われるリアルタイムの場で、前記画像ごとに前記高さ距離を算出するとともに、算出した高さ距離に基づいて、前記所定の被写体の接地点を算出する
請求項1に記載の情報処理装置。
【請求項3】
前記推定部は、前記画像のうち前記所定の被写体に対応する被写体画像を用いて、前記所定の被写体に対応する骨格点を推定する
請求項2に記載の情報処理装置。
【請求項4】
前記被写体画像に含まれる前記所定の被写体に対応する骨格点の数に基づいて、前記所定の被写体について、一部が隠されている状態、または、全体が映されている状態のいずれであるかを判定する判定部を
さらに備え、
前記算出部は、前記所定の被写体の一部が隠されていると判定された場合には、前記被写体画像において最も高い位置の前記第1骨格点と最も低い位置の前記第2骨格点との高さ距離を算出する
請求項3に記載の情報処理装置。
【請求項5】
前記算出部は、前記第1骨格点と前記第2骨格点との高さ距離に対応する一般的な平均値と前記所定の被写体全体の高さ距離に対応する一般的な平均値との比率である第1の比率と、前記被写体画像で算出された高さ距離とに基づいて、前記被写体画像に含まれる前記所定の被写体全体の高さ距離を推定し、推定した前記所定の被写体全体の高さ距離に基づいて、前記被写体画像に含まれる前記所定の被写体の接地点を算出する
請求項4に記載の情報処理装置。
【請求項6】
前記算出部は、前記骨格点の数が第1の閾値未満、かつ、第2の閾値以上である場合には、前記骨格点の数が第1の閾値未満、かつ、第2の閾値以上であると判定された対象の被写体画像で算出された前記高さ距離と、前記第1の比率とに基づいて、前記対象の被写体画像に含まれる前記所定の被写体全体の高さ距離を推定する
請求項5に記載の情報処理装置。
【請求項7】
前記算出部は、前記骨格点の数が前記第2の閾値未満である場合には、前記骨格点の数が前記第2の閾値未満であると判定された対象の被写体画像で算出された前記高さ距離と、前記対象の被写体画像よりも前に撮影された被写体画像のうち、前記骨格点の数が第1の閾値未満、かつ、第2の閾値以上であると判定された前の被写体画像で算出された前記高さ距離との比率である第2の比率と、前記第1の比率とに基づいて、前記対象の被写体画像に含まれる前記所定の被写体全体の高さ距離を推定する
請求項6に記載の情報処理装置。
【請求項8】
情報処理装置が実行する情報処理方法であって、
画像に含まれる所定の被写体に対応する骨格点を取得する取得工程と、
前記骨格点のうち、前記画像の座標系で最も高い位置の第1骨格点と最も低い位置の第2骨格点との高さ距離に基づいて、前記所定の被写体の接地面における接地点を算出する算出工程と、
を含む情報処理方法。
【請求項9】
情報処理装置が実行する情報処理プログラムであって、
画像に含まれる所定の被写体に対応する骨格点を取得する取得手順と、
前記骨格点のうち、前記画像の座標系で最も高い位置の第1骨格点と最も低い位置の第2骨格点との高さ距離に基づいて、前記所定の被写体の接地面における接地点を算出する算出手順と、
を前記情報処理装置に実行させる情報処理プログラム。
発明の詳細な説明
【技術分野】
【0001】
本発明は、情報処理装置、情報処理方法および情報処理プログラムに関する。
続きを表示(約 1,300 文字)
【背景技術】
【0002】
画像の中から特定の物体(例えば、人物)を検出し、検出した物体を追跡する手法が知られている。例えば、特許文献1には、被写体の接地面における接地点および被写体の移動により形成される動線を推定する手法が開示されている。
【先行技術文献】
【特許文献】
【0003】
特開2009-236569号公報
【発明の概要】
【発明が解決しようとする課題】
【0004】
接地点の推定に用いられる既存の物体検出モデルでは、検出したい対象物(例えば、人物)の一部が遮蔽物に隠れている場合、接地点の推定精度が低下するという問題がある。この原因は、既存の物体検出モデルでは、対象物のうち隠されていない部分のみを認識するように学習されているためである。
【0005】
隠されている部分の位置を精度よく検出できるよう既存の物体検出モデルを改良するには、新たな学習データセットが必要となり、また、学習にはコストが掛かる。このため、既存の物体検出モデルそのまま使っても接地点を精度よく推定できる手法が求められている。
【0006】
例えば、物体検出モデルを利用した姿勢推定アルゴリズムがあるが、このアルゴリズムで推定された骨格点を活用すれば、被写体の接地面における接地点を精度よく推定できる可能性がある。しかしながら、上記の従来技術では、骨格点を活用した物体検出手法については開示が無い。
【0007】
そこで、本発明では、骨格点を活用して精度よく接地点を推定できる情報処理装置、情報処理方法および情報処理プログラムを提供する。
【課題を解決するための手段】
【0008】
上記の課題を解決するために、本発明に係る一形態の情報処理装置は、画像に含まれる所定の被写体に対応する骨格点を取得する取得部と、前記骨格点のうち、前記画像の座標系で最も高い位置の第1骨格点と最も低い位置の第2骨格点との高さ距離に基づいて、前記所定の被写体の接地面における接地点を算出する算出部と、を備える。
【発明の効果】
【0009】
本発明によれば、骨格点を活用して精度よく接地点を推定することができる。
【図面の簡単な説明】
【0010】
図1は、本発明の背景にある課題点を説明する図である。
図2は、実施形態に係る情報処理システムの構成例を示す図である。
図3は、実施形態に係る情報処理装置の構成例を示す図である。
図4は、画像中での身体の映り具合を判定する手法の一例を示す図である。
図5は、接地点算出手法(1)を示す図である。
図6は、接地点算出手法(2)を示す図である。
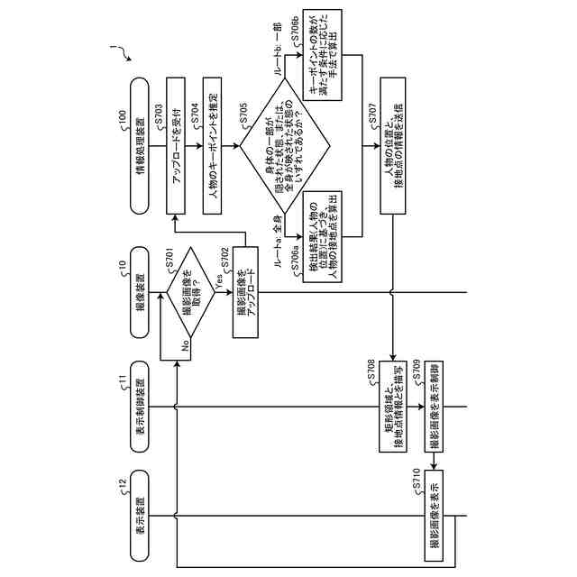
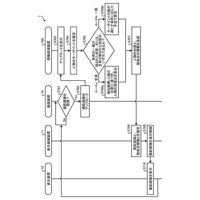
図7は、実施形態に係る情報処理システムでの動作例を示す図であるシーケンス図である。
図8は、実施形態に係る情報処理装置の機能を実現するコンピュータの一例を示すハードウェア構成図である。
【発明を実施するための形態】
(【0011】以降は省略されています)
この特許をJ-PlatPat(特許庁公式サイト)で参照する
関連特許
個人
工程設計支援装置
1か月前
個人
フラワーコートA
2か月前
個人
QRコードの彩色
1日前
個人
地球保全システム
10日前
個人
為替ポイント伊達夢貯
1か月前
個人
冷凍食品輸出支援構造
1か月前
個人
携帯情報端末装置
1か月前
個人
残土処理システム
3日前
個人
表変換編集支援システム
1か月前
個人
結婚相手紹介支援システム
1か月前
個人
知財出願支援AIシステム
1か月前
個人
知的財産出願支援システム
4日前
個人
AIによる情報の売買の仲介
1か月前
個人
行動時間管理システム
1か月前
個人
パスワード管理支援システム
1か月前
株式会社キーエンス
受発注システム
9日前
個人
パスポートレス入出国システム
1か月前
個人
AIキャラクター制御システム
1か月前
株式会社キーエンス
受発注システム
9日前
株式会社アジラ
進入判定装置
1か月前
日本精機株式会社
施工管理システム
1か月前
個人
海外支援型農作物活用システム
22日前
株式会社キーエンス
受発注システム
9日前
個人
食品レシピ生成システム
9日前
個人
システム及びプログラム
23日前
大阪瓦斯株式会社
住宅設備機器
1か月前
個人
社会還元・施設向け供給支援構造
1か月前
個人
未来型家系図構築システム
22日前
サクサ株式会社
中継装置
1か月前
個人
冷凍加工連携型農場運用システム
1か月前
個人
音声対話型帳票生成支援システム
1か月前
個人
食事受注会計処理システム
1か月前
大同特殊鋼株式会社
疵判定方法
16日前
個人
帳票自動生成型SaaSシステム
4日前
個人
音声・通知・再配達UX制御構造
4日前
個人
SaaS型勤務調整支援システム
1か月前
続きを見る
他の特許を見る