TOP
|
特許
|
意匠
|
商標
特許ウォッチ
Twitter
他の特許を見る
10個以上の画像は省略されています。
公開番号
2025153328
公報種別
公開特許公報(A)
公開日
2025-10-10
出願番号
2024055760
出願日
2024-03-29
発明の名称
照明表示装置
出願人
株式会社小糸製作所
代理人
弁理士法人あお葉国際特許事務所
主分類
G09F
13/04 20060101AFI20251002BHJP(教育;暗号方法;表示;広告;シール)
要約
【課題】複数光源を有する車両用照明表示装置において、隣接する光源からの光の混色を防止しつつ、光源光の利用効率を向上させる。
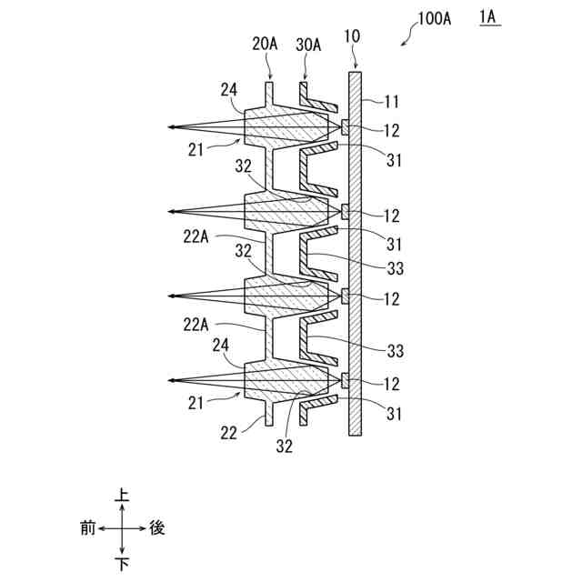
【解決手段】照明表示装置1は、所定の間隔で配列された複数の発光光源11を有する光源ユニット10;各発光光源11に対応して設けられた、前記発光光源11と対向する光入射面23と、光を出射する光出射面24と、前記光入射面23と前記光出射面24との間に配置され前記光入射面23から入射した光を前記光出射面24に向けて導く導光部25とが、光軸に沿って配置された複数のインナーレンズ21が、前記光出射面24の近傍の連結部22を介して連結されてなるインナーレンズユニット20;および、各導光部25間を仕切る複数のシェード32が一体に構成されてなる遮光部材ユニット30;を備え、前記遮光部材ユニット30は、表面が光反射特性を有し、内部に微細気泡を含む発泡層で構成された樹脂シートを用いて形成されている。
【選択図】 図3
特許請求の範囲
【請求項1】
所定の間隔で配列された複数の発光光源を有する光源ユニット;
各発光光源に対応して設けられた、前記発光光源と対向する光入射面と、光を出射する光出射面と、前記光入射面と前記光出射面との間に配置され前記光入射面から入射した光を前記光出射面に向けて導く導光部とが、光軸に沿って配置された複数のインナーレンズが、前記光出射面の近傍の連結部を介して連結されてなるインナーレンズユニット;および、
各導光部間を仕切る複数のシェードが一体に構成されてなる遮光部材ユニット;を備え、
前記遮光部材ユニットは、表面が光反射特性を有し、内部に微細気泡を含む発泡層で構成された樹脂シートを用いて形成されていることを
照明表示装置。
続きを表示(約 650 文字)
【請求項2】
前記樹脂シートは、熱可塑性樹脂で構成され、波長450~650nmの可視光に対する光学特性が、波長550nmにおける硫酸バリウムを100%とした場合に全反射率が90%以上、拡散反射率が90%以上であることを特徴とする請求項1に記載の照明表示装置。
【請求項3】
前記遮光部材ユニットは、1枚の前記樹脂シートから形成されていることを特徴とする請求項1または2に記載の照明表示装置。
【請求項4】
各導光部は、前記連結部から前記光入射面に向かって縮径しながら突出し、
前記シェードは、各導光部と対応する位置に、各導光部の光入射面側領域の少なくとも一部を、空間を開けて取り囲むように形成された椀状の凹部として形成され、前記光入射面に対向する前記凹部の底部には、前記発光光源と対向する開口が形成されており、
前記凹部の内面は、前記発光光源からの光を反射して、前方へと出射するように構成されていることを特徴とする請求項3に記載の照明表示装置。
【請求項5】
各導光部は、前記連結部から前記光入射面に向かって縮径しながら突出し、
前記シェードは、各導光部と対応する位置に、各導光部の光入射面側領域の少なくとも一部を覆うように形成された逆円錐台状の凹部として形成されており、
前記光入射面に対向する前記凹部の底部には、前記発光光源と対向する開口が形成されていることを特徴とする請求項3に記載の照明表示装置。
発明の詳細な説明
【技術分野】
【0001】
本開示は、照明表示装置に関し、より詳細には、車両用照明表示装置に関する。
続きを表示(約 1,300 文字)
【背景技術】
【0002】
近年、ヘッドランプ、デイライトランニングランプ、ターンシグナルランプ、テールランプ、ストップランプ等の通常の車両用灯具の他、運転者と歩行者とのインタラクション、車両と歩行者とのインタラクションを可能とするために、様々なパターンや情報を、表示できるようにする照明表示装置へのニーズが高まっている。
【0003】
特許文献1には、マトリクス状に配置された複数の発光光源を備える光源ユニットと、各発光光源に対応して設けられた複数のインナーレンズ(投射レンズ)を連結して形成したインナーレンズユニット(投射レンズモジュール)と、を備え、様々な情報を、ピクセル表示可能とする照明表示装置が開示されている。
【0004】
特許文献1のインナーレンズには、発光光源からの光が、隣接するピクセルの投射レンズに入射するのを防止するためのシェード(遮光リブ)が設けられている。これは、隣接するピクセル間で生じる光の混色を防ぐためのものである。
【先行技術文献】
【特許文献】
【0005】
特表2021-531629号公報
【発明の概要】
【発明が解決しようとする課題】
【0006】
特許文献1に開示されているシェードは、段落0030に記載されている通り、透明材料で形成される基体と、基体の表面にスプレーされる黒色塗装で形成される遮光層とを含む。しかし、黒色塗装によるシェードでは、光が吸収されてしまい、光源光の利用効率が低くなるという問題があった。
【0007】
本発明は係る事情を鑑みてなされたものであり、複数光源を有する車両用照明表示装置において、隣接する光源からの光の混色を防止しつつ、光源光の利用効率を向上させる技術を提供することを目的とする。
【課題を解決するための手段】
【0008】
上記目的を達成するために、本発明の1つの態様に係る照明表示装置は、以下の構成を有する。
【0009】
1. 所定の間隔で配列された複数の発光光源を有する光源ユニット;各発光光源に対応して設けられた、前記発光光源と対向する光入射面と、光を出射する光出射面と、前記光入射面と前記光出射面との間に配置され前記光入射面から入射した光を前記光出射面に向けて導く導光部とが、光軸に沿って配置された複数のインナーレンズが、前記光出射面の近傍の連結部を介して連結されてなるインナーレンズユニット;および、各導光部間を仕切る複数のシェードが一体に構成されてなる遮光部材ユニット;を備え、前記遮光部材ユニットは、表面が光反射特性を有し、内部に微細気泡を含む発泡層で構成された樹脂シートを用いて形成されている。
【0010】
2.上記1の態様において、前記樹脂シートは、熱可塑性樹脂で構成され、波長450~650nmの可視光に対する光学特性が、波長550nmにおける硫酸バリウムを100%とした場合に全反射率が90%以上、拡散反射率が90%以上であることも好ましい。
(【0011】以降は省略されています)
この特許をJ-PlatPat(特許庁公式サイト)で参照する
関連特許
株式会社小糸製作所
車両用灯具
1日前
株式会社小糸製作所
照明表示装置
1日前
株式会社小糸製作所
電子ユニット及び車両用灯具
1日前
株式会社小糸製作所
車両用灯具及び車両用灯具の製造方法
1日前
株式会社小糸製作所
開閉機構、車両用灯具及び車両用前照灯
1日前
株式会社小糸製作所
車両用灯具、ハウジング及びハウジングの製造方法
1日前
個人
回転式カード学習具
1か月前
個人
時刻表示機能つき手帳
2か月前
日本精機株式会社
表示装置
1か月前
日本精機株式会社
表示装置
16日前
個人
計算用教具
12日前
中国電力株式会社
標示旗
22日前
日本精機株式会社
車両用表示装置
1か月前
日本精機株式会社
車両用表示装置
2か月前
日本精機株式会社
車両用表示装置
2か月前
日本精機株式会社
車両用センサ装置
12日前
個人
モデルで薔薇の花嫁様を描く為
1か月前
トヨタ自動車株式会社
評価方法
2か月前
シャープ株式会社
表示装置
23日前
株式会社一弘社
情報表示板
1か月前
株式会社ウメラボ
学習支援システム
2日前
個人
口唇閉鎖の訓練具
3か月前
個人
音楽教材
1か月前
株式会社ウメラボ
学習支援システム
8日前
ニチレイマグネット株式会社
磁着式電飾装置
22日前
株式会社半導体エネルギー研究所
半導体装置
2か月前
株式会社リコー
画像投射システム
23日前
リンテック株式会社
表示体
1日前
株式会社ノジマ
応対体験システム
3か月前
シチズンファインデバイス株式会社
液晶表示装置
1か月前
個人
サインポスト
2か月前
株式会社サンゲツ
見本帳
1か月前
BEST株式会社
吊り下げ表示部材
1か月前
シチズンファインデバイス株式会社
液晶表示装置
1か月前
株式会社バンダイ
情報処理装置およびプログラム
3か月前
学校法人関西医科大学
腹腔鏡手術訓練装置
22日前
続きを見る
他の特許を見る