TOP
|
特許
|
意匠
|
商標
特許ウォッチ
Twitter
他の特許を見る
10個以上の画像は省略されています。
公開番号
2025150668
公報種別
公開特許公報(A)
公開日
2025-10-09
出願番号
2024051678
出願日
2024-03-27
発明の名称
車両用灯具
出願人
株式会社小糸製作所
代理人
個人
,
個人
,
個人
主分類
F21S
43/241 20180101AFI20251002BHJP(照明)
要約
【課題】安価な車両用灯具を提供する。
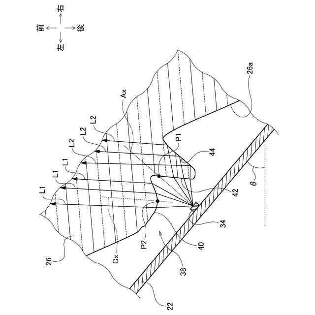
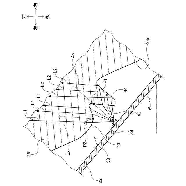
【解決手段】車両用灯具は、LED34と、LED34を搭載する基板22と、第1導光体26とを備える。第1導光体26は、灯具左右方向に対して傾斜する方向に延在しており、基板22は、第1導光体26に沿って灯具左右方向に対して傾斜して配置されている。第1導光体は、集光入射面40と、集光入射面40より灯具左右方向外側に形成された側方入射面42と、側方入射面42の側方に形成された反射面44とを含む導光要素38を備える。LED34は、その光軸Axと後面26aとの交点P1が集光入射面40の中心軸Cxと集光入射面40との交点P2よりも側方入射面42寄りに位置するように、導光要素38に対して配置されている。
【選択図】図7
特許請求の範囲
【請求項1】
複数の光源と、
前記複数の光源を搭載する単一の基板と、
前記複数の光源からの光を後面から入射して内部で導光し、前面に形成された出射面から出射する導光体と、
を備える車両用灯具であって、
前記導光体は、灯具左右方向に対して傾斜する方向に延在しており、
前記基板は、前記導光体に沿って灯具左右方向に対して傾斜して配置されており、
前記導光体は、
前記光源からの光の一部を入射して集光し、前記出射面に向けるように前記後面に形成された集光入射面と、
前記光源からの光の別の一部を入射するように前記後面における前記集光入射面より灯具左右方向外側に形成された側方入射面と、
前記側方入射面から入射した光を前記出射面に向けて全反射するように前記後面における前記側方入射面の側方に形成された反射面と、
を含む複数の導光要素を備え、
各前記光源は、該光源の光軸と前記後面との交点が前記集光入射面の中心軸と前記集光入射面との交点よりも前記側方入射面寄りに位置するように、各導光要素に対して配置されていることを特徴とする車両用灯具。
続きを表示(約 990 文字)
【請求項2】
複数の光源と、
前記複数の光源を搭載する単一の基板と、
前記複数の光源からの光を後面から入射して内部で導光し、前面に形成された出射面から出射する導光体と、
を備える車両用灯具であって、
前記導光体は、灯具左右方向に対して傾斜する方向に延在しており、
前記基板は、前記導光体に沿って灯具左右方向に対して傾斜して配置されており、
前記導光体は、
前記光源からの光の一部を入射して集光し、前記出射面に向けるように前記後面に形成された集光入射面と、
前記光源からの光の別の一部を入射するように前記後面における前記集光入射面の灯具左右方向両側に形成された側方入射面と、
前記側方入射面から入射した光を前記出射面に向けて全反射するように前記後面における各前記側方入射面の側方に形成された反射面と、
を含む複数の導光要素を備え、
各前記光源は、該光源の光軸と前記後面との交点が前記集光入射面の中心軸と前記集光入射面との交点よりも灯具左右方向外側の前記側方入射面寄りに位置するように、各導光要素に対して配置されていることを特徴とする車両用灯具。
【請求項3】
前記集光入射面より灯具左右方向外側の前記側方入射面の面積は、前記集光入射面より灯具左右方向内側の前記側方入射面の面積よりも大きいことを特徴とする請求項2に記載の車両用灯具。
【請求項4】
前記基板の灯具左右方向に対する傾斜角は、20°~50°であることを特徴とする請求項1から3のいずれかに記載の車両用灯具。
【請求項5】
前記複数の導光要素は、灯具左右方向外側に向かうに従って灯具上方または下方に傾斜するように並べて配置されており、
各導光要素に対応する各光源は、各導光要素の傾斜角度に応じて回転して配置されていることを特徴とする請求項1から3のいずれかに記載の車両用灯具。
【請求項6】
前記基板上に設けられた別の光源と、
前記別の光源からの光を長手方向の一端部から入射して内部で伝播しながら、側面の一部に形成された出射面から灯具前方に出射する別の導光体と、
をさらに備えることを特徴とする請求項1から3のいずれかに記載の車両用灯具。
発明の詳細な説明
【技術分野】
【0001】
本発明は、車両用灯具に関する。
続きを表示(約 2,100 文字)
【背景技術】
【0002】
従来、複数のLEDと、該複数のLEDからの光を制御する板状の導光体とを組み合わせた車両用灯具が提案されている。このような車両用灯具では、複数のLEDから出射された光は、導光体の後面に設けられた入射面から導光体内に入射して導光体内を進行し、導光体の前面に設けられた出射面から灯具前方に照射される(例えば特許文献1参照)。
【先行技術文献】
【特許文献】
【0003】
特開2017-208192号公報
【発明の概要】
【発明が解決しようとする課題】
【0004】
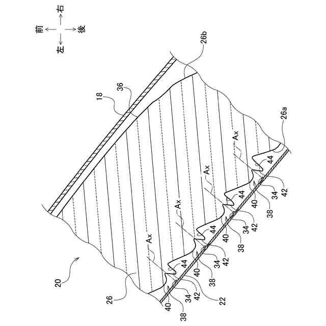
特許文献1に記載の車両用灯具では、導光体は車両の形状に倣って車両内側から外側にかけて後方に傾斜配置されている。このような傾斜配置された導光体に対して光を入射するために、ランプボディを階段状に形成し、各段にLEDを搭載する基板を配置している。しかしながら、この場合、LEDを搭載する基板を分割して形成することとなるため、コストが高くなる可能性がある。
【0005】
本発明はこうした状況に鑑みてなされたものであり、その目的は、安価な車両用灯具を提供することにある。
【課題を解決するための手段】
【0006】
上記課題を解決するために、本発明のある態様の車両用灯具は、複数の光源と、複数の光源を搭載する単一の基板と、複数の光源からの光を後面から入射して内部で導光し、前面に形成された出射面から出射する導光体と、を備える車両用灯具であって、導光体は、灯具左右方向に対して傾斜する方向に延在しており、基板は、導光体に沿って灯具左右方向に対して傾斜して配置されており、導光体は、光源からの光の一部を入射して集光し、出射面に向けるように後面に形成された集光入射面と、光源からの光の別の一部を入射するように後面における集光入射面より灯具左右方向外側に形成された側方入射面と、側方入射面から入射した光を出射面に向けて全反射するように後面における側方入射面の側方に形成された反射面と、を含む複数の導光要素を備える。各光源は、該光源の光軸と後面との交点が集光入射面の中心軸と集光入射面との交点よりも側方入射面寄りに位置するように、各導光要素に対して配置されている。
【0007】
本発明の別の態様もまた、車両用灯具である。この車両用灯具は、複数の光源と、複数の光源を搭載する単一の基板と、複数の光源からの光を後面から入射して内部で導光し、前面に形成された出射面から出射する導光体と、を備える車両用灯具であって、導光体は、灯具左右方向に対して傾斜する方向に延在しており、基板は、導光体に沿って灯具左右方向に対して傾斜して配置されており、導光体は、光源からの光の一部を入射して集光し、出射面に向けるように後面に形成された集光入射面と、光源からの光の別の一部を入射するように後面における集光入射面の灯具左右方向両側に形成された側方入射面と、側方入射面から入射した光を出射面に向けて全反射するように後面における各側方入射面の側方に形成された反射面と、を含む複数の導光要素を備える。各光源は、該光源の光軸と後面との交点が集光入射面の中心軸と集光入射面との交点よりも灯具左右方向外側の側方入射面寄りに位置するように、各導光要素に対して配置されている。
【発明の効果】
【0008】
本発明によれば、安価な車両用灯具を提供できる。
【図面の簡単な説明】
【0009】
実施形態に係る車両用灯具の概略斜視図である。
第3灯具ユニットの分解斜視図である。
図1に示す第3灯具ユニットの概略A-A断面図である。
第1導光体の正面図である。
第1導光体の背面図である。
基板の正面図である。
導光要素の後面付近の拡大断面図である。
実施形態に係る第3灯具ユニットにおける光線追跡シミュレーションの結果を示す図である。
導光要素の拡大斜視図である。
第1導光体の変形例を示す図である。
第1導光体の別の変形例を示す図である。
【発明を実施するための形態】
【0010】
以下、本発明を好適な実施の形態をもとに図面を参照しながら説明する。以下の構成は本開示を理解するための例示を目的とするものであり、本開示の範囲は、添付の請求の範囲によってのみ定まる。各図面に示される同一または同等の構成要素、部材には、同一の符号を付するものとし、適宜重複した説明は省略する。また、各図面における部材の寸法は、理解を容易にするために適宜拡大、縮小して示される。また、各図面において実施の形態を説明する上で重要ではない部材の一部は省略して表示する。また、本明細書において「上」、「下」、「前」、「後」、「左」、「右」、「内」、「外」等の方向を表す用語が用いられる場合、それらは車両用灯具が車両に装着されたときの姿勢における方向を意味する。
(【0011】以降は省略されています)
この特許をJ-PlatPat(特許庁公式サイト)で参照する
関連特許
株式会社小糸製作所
水分解装置
12日前
株式会社小糸製作所
車両用灯具
9日前
株式会社小糸製作所
表示用灯具
8日前
株式会社小糸製作所
表示用灯具
8日前
株式会社小糸製作所
車両用灯具
4日前
株式会社小糸製作所
車両用灯具
1日前
株式会社小糸製作所
車両用灯具
2日前
株式会社小糸製作所
車両用灯具
4日前
株式会社小糸製作所
車両用灯具
1日前
株式会社小糸製作所
虚像表示装置
3日前
株式会社小糸製作所
照明表示装置
1日前
株式会社小糸製作所
表示システム
3日前
株式会社小糸製作所
表示制御装置及び表示装置
3日前
株式会社小糸製作所
電子ユニット及び車両用灯具
1日前
株式会社小糸製作所
発光素子搭載用基板および照明装置
12日前
株式会社小糸製作所
車両用灯具及び車両用灯具の製造方法
1日前
株式会社小糸製作所
開閉機構、車両用灯具及び車両用前照灯
1日前
株式会社小糸製作所
素子搭載基板、車両用灯具および素子搭載方法
12日前
株式会社小糸製作所
車両用灯具、ハウジング及びハウジングの製造方法
1日前
株式会社小糸製作所
光源ユニット、光源ユニットの製造方法、および車両用灯具
2日前
株式会社小糸製作所
配光制御装置、配光制御プログラムおよび車両用前照灯システム
1日前
株式会社小糸製作所
車両用センサ装置
4日前
株式会社小糸製作所
調整装置、調整システム、制御方法、制御プログラム、および記録媒体
8日前
個人
照明器具
8か月前
個人
室外機器
3か月前
個人
照明システム
3か月前
個人
LED光源基盤
7か月前
個人
車載機器の通気構造
1か月前
個人
気泡を用いた遊具。
5か月前
株式会社遠藤照明
照明器具
4か月前
株式会社遠藤照明
照明器具
8か月前
株式会社遠藤照明
照明装置
22日前
市光工業株式会社
車両用灯具
8か月前
個人
LEDライト
3か月前
デンカ株式会社
照明装置
3か月前
株式会社小糸製作所
車両用灯具
4日前
続きを見る
他の特許を見る