TOP
|
特許
|
意匠
|
商標
特許ウォッチ
Twitter
他の特許を見る
10個以上の画像は省略されています。
公開番号
2025154544
公報種別
公開特許公報(A)
公開日
2025-10-10
出願番号
2024057602
出願日
2024-03-29
発明の名称
開閉機構、車両用灯具及び車両用前照灯
出願人
株式会社小糸製作所
代理人
弁理士法人シリウスIP
,
個人
主分類
F21S
41/50 20180101AFI20251002BHJP(照明)
要約
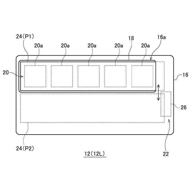
【課題】車両用灯具に新たな意匠を提供する。
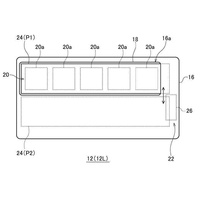
【解決手段】開閉機構22は、車両用灯具12のランプボディ16の内部に配置されており、車両用灯具12の発光部20を外部から隠す第1の位置P1と該第1の位置から退避した第2の位置P2との間で遮蔽部材24を移動する。
【選択図】図2
特許請求の範囲
【請求項1】
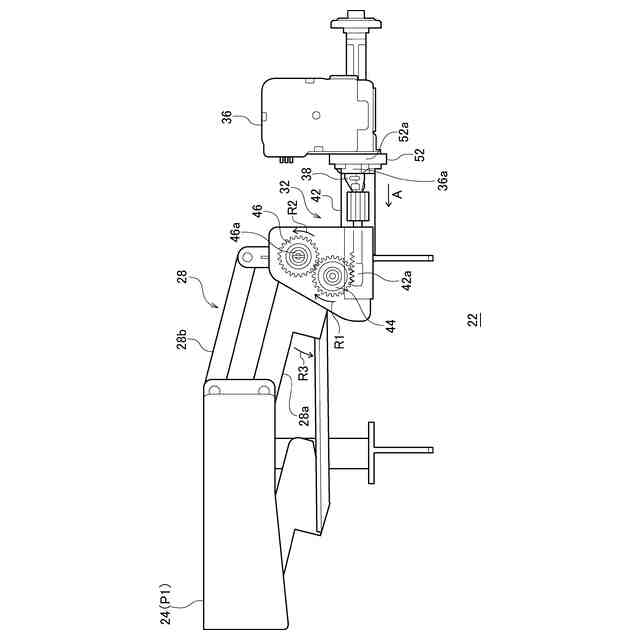
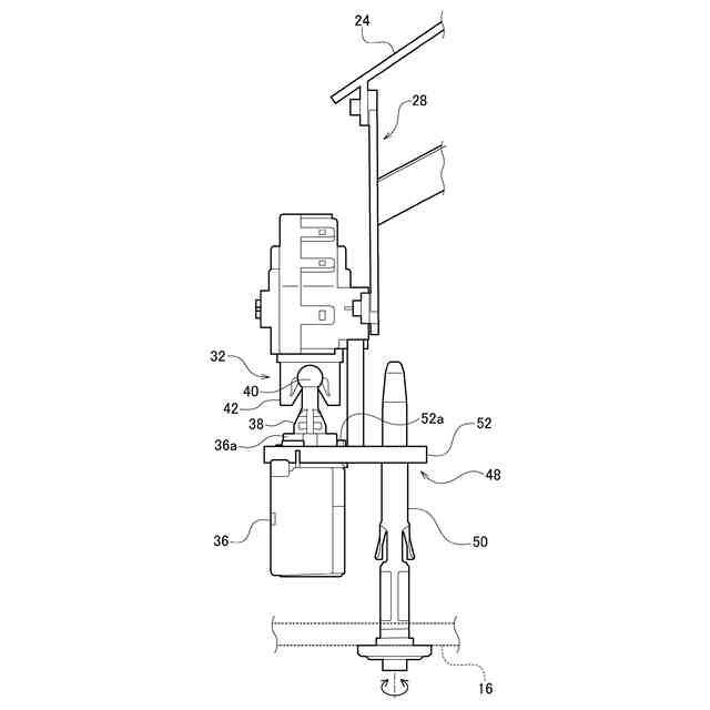
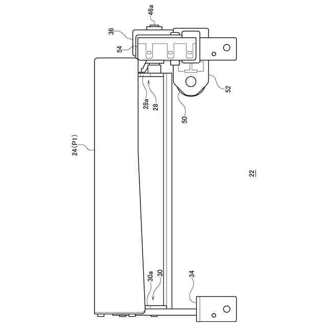
車両用灯具のランプボディの内部に配置される開閉機構であって、
車両用灯具の発光部を外部から隠す第1の位置と該第1の位置から退避した第2の位置との間で遮蔽部材を移動することを特徴とする開閉機構。
続きを表示(約 790 文字)
【請求項2】
前記遮蔽部材は、発光部の前方で上下動することを特徴とする請求項1に記載の開閉機構。
【請求項3】
前記発光部が非点灯状態のときに前記第1の位置に前記遮蔽部材を移動し、前記発光部が点灯状態のときに前記第2の位置に前記遮蔽部材を移動する移動機構を更に備えることを特徴とする請求項1に記載の開閉機構。
【請求項4】
前記遮蔽部材は、横長の板状部材であり、
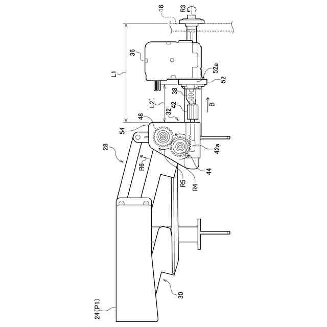
前記移動機構は、前記板状部材の端部に接続された平行リンク機構を有することを特徴とする請求項3に記載の開閉機構。
【請求項5】
前記移動機構は、
モータによって前記平行リンク機構を動作させる第1の駆動伝達機構と、
前記第1の駆動伝達機構を構成する部材を手動で動かす第2の駆動伝達機構と、
を有することを特徴とする請求項4に記載の開閉機構。
【請求項6】
発光部と、
前記発光部を収容するランプボディと、
前記ランプボディの前方開口部を閉塞する透明なカバーと、
請求項1乃至5のいずれか1項に記載の開閉機構と、を備え、
前記遮蔽部材は、前記発光部と前記カバーとの間で上下動することを特徴とする車両用灯具。
【請求項7】
車両前部の左右にそれぞれ配置された一対の車両用灯具と、
前記一対の車両用灯具の間にあるライン状の意匠部材と、
それぞれの車両用灯具のランプボディの内部に配置された開閉機構と、を備え、
前記開閉機構は、車両用灯具の発光部を外部から隠す第1の位置と該第1の位置から退避した第2の位置との間で移動する横長の遮蔽部材を有し、
前記遮蔽部材は、前記第1の位置で前記意匠部材と一直線状に並ぶことを特徴とする車両用前照灯。
発明の詳細な説明
【技術分野】
【0001】
本発明は、車両用灯具に用いられる開閉機構に関する。
続きを表示(約 1,000 文字)
【背景技術】
【0002】
従来、不使用時にはヘッドランプを回動させて車体内の格納部に格納し、かつ車体開口部を閉じる一方、使用時には車体開口部を開き、かつヘッドランプを回動させて車体外表面から起立させる自動車のリトラクタブルヘッドランプが知られている(特許文献1参照)。リトラクタブルヘッドランプは、その意匠性の高さから、主にスポーツカーや高級車に採用されていた。
【先行技術文献】
【特許文献】
【0003】
特開平9-123827号公報
【発明の概要】
【発明が解決しようとする課題】
【0004】
近年、ヘッドランプの光源としてLED(Light Emitting Device)が普及してきた。LEDを用いたヘッドランプは、光源の小型化や薄型化によって、従来の非LEDの光源では実現できない意匠が可能となっている。
【0005】
本発明はこうした状況に鑑みてなされたものであり、その例示的な目的の一つは、車両用灯具に新たな意匠を提供することにある。
【課題を解決するための手段】
【0006】
上記課題を解決するために、本発明のある態様の開閉機構は、車両用灯具のランプボディの内部に配置される開閉機構であって、車両用灯具の発光部を外部から隠す第1の位置と該第1の位置から退避した第2の位置との間で遮蔽部材を移動する。
【0007】
この態様によると、状況によって発光部を外部から隠すことで車両用灯具に新たな意匠を付与できる。
【0008】
遮蔽部材は、発光部の前方で上下動してもよい。これにより、簡易な動きで発光部を隠すことができる。
【0009】
発光部が非点灯状態のときに第1の位置に遮蔽部材を移動し、発光部が点灯状態のときに第2の位置に遮蔽部材を移動する移動機構を更に備えてもよい。これにより、車両用灯具を使用しない場合、発光部を外部から隠すことで車両用灯具に新たな意匠を付与できる。
【0010】
遮蔽部材は、横長の板状部材であり、移動機構は、板状部材の端部に接続された平行リンク機構を有してもよい。これにより、発光部が横長の場合、面積の小さい遮蔽部材を少ない動きで所定に位置に移動できる。
(【0011】以降は省略されています)
この特許をJ-PlatPat(特許庁公式サイト)で参照する
関連特許
株式会社小糸製作所
表示用灯具
7日前
株式会社小糸製作所
表示用灯具
7日前
株式会社小糸製作所
車両用灯具
3日前
株式会社小糸製作所
車両用灯具
3日前
株式会社小糸製作所
車両用灯具
今日
株式会社小糸製作所
車両用灯具
1日前
株式会社小糸製作所
車両用灯具
今日
株式会社小糸製作所
虚像表示装置
2日前
株式会社小糸製作所
照明表示装置
今日
株式会社小糸製作所
表示システム
2日前
株式会社小糸製作所
表示制御装置及び表示装置
2日前
株式会社小糸製作所
電子ユニット及び車両用灯具
今日
株式会社小糸製作所
車両用灯具及び車両用灯具の製造方法
今日
株式会社小糸製作所
開閉機構、車両用灯具及び車両用前照灯
今日
株式会社小糸製作所
車両用灯具、ハウジング及びハウジングの製造方法
今日
株式会社小糸製作所
光源ユニット、光源ユニットの製造方法、および車両用灯具
1日前
株式会社小糸製作所
配光制御装置、配光制御プログラムおよび車両用前照灯システム
今日
株式会社小糸製作所
車両用センサ装置
3日前
株式会社小糸製作所
調整装置、調整システム、制御方法、制御プログラム、および記録媒体
7日前
個人
照明器具
8か月前
個人
室外機器
3か月前
個人
照明システム
3か月前
個人
LED光源基盤
7か月前
個人
気泡を用いた遊具。
5か月前
個人
車載機器の通気構造
1か月前
株式会社遠藤照明
照明器具
4か月前
株式会社遠藤照明
照明装置
21日前
株式会社遠藤照明
照明器具
8か月前
能美防災株式会社
表示灯
1か月前
株式会社小糸製作所
車両用灯具
3日前
デンカ株式会社
照明装置
3か月前
個人
LEDライト
3か月前
株式会社小糸製作所
車両用灯具
3日前
デンカ株式会社
道路用照明
3か月前
日本発條株式会社
照明装置
8か月前
日本船燈株式会社
照明装置
8か月前
続きを見る
他の特許を見る