TOP
|
特許
|
意匠
|
商標
特許ウォッチ
Twitter
他の特許を見る
公開番号
2025153070
公報種別
公開特許公報(A)
公開日
2025-10-10
出願番号
2024055345
出願日
2024-03-29
発明の名称
配光制御装置、配光制御プログラムおよび車両用前照灯システム
出願人
株式会社小糸製作所
代理人
主分類
B60Q
1/076 20060101AFI20251002BHJP(車両一般)
要約
【課題】本開示は、車両前方の遠方を適切に照射できる配光制御装置、配光制御プログラムおよび車両用前照灯システムを提供することを目的とする。
【解決手段】照度分布60を動的に変更可能な車両用前照灯システム100に用いられる配光制御装置20であって、自車両の位置情報25Aを取得する位置情報取得部23と、当該自車両1周辺の環境照度を取得する照度取得部24と、当該車両用前照灯システム100の照度分布を動的に変更する配光制御部22Bと、を備え、当該当該配光制御部22Bは、当該環境照度が所定の値以上の場合に、当該車両用前照灯システム100の照射範囲を狭くする、または照射範囲の少なくとも一部の光量を小さくするように制御する第一の制御と、当該位置情報25Aが所定の位置に合致する場合に、当該車両用前照灯システム100の照射範囲を広くする、または照射範囲の少なくとも一部の光量を大きくする第二の制御と、を実行可能に構成され、当該第一の制御より当該第二の制御を優先する。
【選択図】図1
特許請求の範囲
【請求項1】
照度分布を動的に変更可能な車両用前照灯システムに用いられる配光制御装置であって、
自車両の位置情報を取得する位置情報取得部と、
前記自車両周辺の環境照度を取得する照度取得部と、
前記車両用前照灯システムの照度分布を動的に変更する配光制御部と、
を備え、
前記配光制御部は、前記環境照度が所定の値以上の場合に、前記車両用前照灯システムの照射範囲を狭くする、または照射範囲の少なくとも一部の光量を小さくするように制御する第一の制御と、
前記位置情報が所定の位置に合致する場合に、前記車両用前照灯システムの照射範囲を広くする、または照射範囲の少なくとも一部の光量を大きくする第二の制御と、を実行可能に構成され、前記第一の制御よりも前記第二の制御を優先することを特徴とする配光制御装置。
続きを表示(約 1,600 文字)
【請求項2】
前記第一の制御は、前記車両用前照灯システムをロービーム動作にて制御し、前記第二の制御は、前記車両用前照灯システムをハイビーム動作にて制御することを特徴とする請求項1に記載の配光制御装置。
【請求項3】
前記配光制御部は、自車両のピッチング角度方向に調整可能な、前照灯の現在の照射角度に応じて、前記所定の位置を変更する請求項1または2に記載の配光制御装置。
【請求項4】
前記配光制御装置は、さらに、
過去の走行時において取得された過去位置情報、および当該過去の走行時において取得された過去照度情報が記憶される記憶部を備え、
前記第二の制御は、現在の走行時において、自車両の現在の位置から所定の距離だけ前方の前記位置情報に対応する前記過去照度情報における照度値が、所定の値未満の場合に、前記車両用前照灯システムの照射範囲を広くする、または照射範囲の少なくとも一部の光量を大きくするように制御することを特徴とする、請求項1に記載の配光制御装置。
【請求項5】
前記過去照度情報は、前記過去位置情報に応じて、複数の組のいずれかに分けられて記録され、
前記配光制御部は、新たに取得された前記位置情報に基づいて、複数の前記組のうちのいずれかを特定し、特定した前記組に含まれる1または複数の前記過去照度情報に基づいて前記第二の制御を行うことを特徴とする、請求項4に記載の配光制御装置。
【請求項6】
前記配光制御部は、右左折時または停止時においては、前記第二の制御を行わないことを特徴とする、請求項1に記載の配光制御装置。
【請求項7】
前記配光制御装置は、さらに、
自車両の前方車両を検出する車両検出部を備え、自車両の前方車両が検出された場合は、前記第二の制御を行わないことを特徴とする、請求項1に記載の配光制御装置。
【請求項8】
照度分布を動的に変更可能な車両用前照灯システムに用いられる配光制御プログラムであって、
自車両の位置情報を取得する位置情報取得ステップと、
前記自車両周辺の環境照度を取得する照度取得ステップと、
前記車両用前照灯システムの照度分布を動的に変更する配光制御ステップと、
を含み、
前記配光制御ステップは、前記環境照度が所定の値以上の場合に、前記車両用前照灯システムの照射範囲を狭くする、または照射範囲の少なくとも一部の光量を小さくするように制御する第一の制御ステップと、
前記位置情報が所定の位置に合致する場合に、前記車両用前照灯システムの照射範囲を広くする、または照射範囲の少なくとも一部の光量を大きくする第二の制御ステップと、を実行可能に構成され、前記第一の制御ステップよりも前記第二の制御ステップを優先することを特徴とする配光制御プログラム。
【請求項9】
照度分布を動的に変更可能な車両用前照灯システムであって、
一つまたは複数の光源と、
自車両の位置情報を取得する位置情報取得部と、
前記自車両周辺の環境照度を取得する照度取得部と、
前記車両用前照灯システムの照度分布を動的に変更する配光制御部と、
を備え、
前記配光制御部は、前記環境照度が所定の値以上の場合に、前記車両用前照灯システムの照射範囲を狭くする、または照射範囲の少なくとも一部の光量を小さくするように制御する第一の制御と、
前記位置情報が所定の位置に合致する場合に、前記車両用前照灯システムの照射範囲を広くする、または照射範囲の少なくとも一部の光量を大きくする第二の制御と、を実行可能に構成され、前記第一の制御よりも前記第二の制御を優先することを特徴とする車両用前照灯システム。
発明の詳細な説明
【技術分野】
【0001】
本開示は、配光制御装置、配光制御プログラムおよび車両用前照灯システムに関する。
続きを表示(約 2,100 文字)
【背景技術】
【0002】
ヘッドランプの配光制御技術において、省エネルギー等の観点から、市街地であることを判定したり(例えば、下記特許文献1)、自車周囲が明るいことを判定したり(例えば、下記特許文献2)することでハイビーム制御をロービーム制御に切り替える技術が知られている。
【先行技術文献】
【特許文献】
【0003】
特開2021-037833号公報
特開2017-094966号公報
【発明の概要】
【発明が解決しようとする課題】
【0004】
しかしながら、特許文献1、および特許文献2に開示されている配光制御装置では、走行地点が市街地であったり、周囲が十分に明るかったりしたためにハイビーム不要と判断された場合、たとえ車両前方の遠方が暗く、車両運転者にとってハイビームが必要な場合であってもロービームにて動作する場合があり、車両運転者にとっての視認性が損なわれる可能性があるという課題があった。
【0005】
本開示は、車両前方の遠方を適切に照射できる配光制御装置、配光制御プログラムおよび車両用前照灯システムを提供することを目的とする。
【課題を解決するための手段】
【0006】
本開示の一態様に係る配光制御装置は、照度分布を動的に変更可能な車両用前照灯システムに用いられる配光制御装置であって、自車両の位置情報を取得する位置情報取得部と、前記自車両周辺の環境照度を取得する照度取得部と、前記車両用前照灯システムの照度分布を動的に変更する配光制御部と、を備え、前記配光制御部は、前記環境照度が所定の値以上の場合に、前記車両用前照灯システムの照射範囲を狭くする、または照射範囲の少なくとも一部の光量を小さくするように制御する第一の制御と、前記位置情報が所定の位置に合致する場合に、前記車両用前照灯システムの照射範囲を広くする、または照射範囲の少なくとも一部の光量を大きくする第二の制御と、を実行可能に構成され、前記第一の制御よりも前記第二の制御を優先する。
【0007】
本開示の一態様に係る配光制御プログラムは、照度分布を動的に変更可能な車両用前照灯システムに用いられる配光制御プログラムであって、自車両の位置情報を取得する位置情報取得ステップと、前記自車両周辺の環境照度を取得する照度取得ステップと、前記車両用前照灯システムの照度分布を動的に変更する配光制御ステップと、を含み、前記配光制御ステップは、前記環境照度が所定の値以上の場合に、前記車両用前照灯システムの照射範囲を狭くする、または照射範囲の少なくとも一部の光量を小さくするように制御する第一の制御ステップと、前記位置情報が所定の位置に合致する場合に、前記車両用前照灯システムの照射範囲を広くする、または照射範囲の少なくとも一部の光量を大きくする第二の制御ステップと、を実行可能に構成され、前記第一の制御ステップよりも前記第二の制御ステップを優先する。
【0008】
本開示の一態様に係る車両用前照灯システムは、照度分布を動的に変更可能な車両用前照灯システムであって、一つまたは複数の光源と、自車両の位置情報を取得する位置情報取得部と、前記自車両周辺の環境照度を取得する照度取得部と、前記車両用前照灯システムの照度分布を動的に変更する配光制御部と、前記環境照度を備え、前記配光制御部は、前記環境照度が所定の値以上の場合に、前記車両用前照灯システムの照射範囲を狭くする、または照射範囲の少なくとも一部の光量を小さくするように制御する第一の制御と、前記位置情報が所定の位置に合致する場合に、前記車両用前照灯システムの照射範囲を広くする、または照射範囲の少なくとも一部の光量を大きくする第二の制御と、を実行可能に構成され、前記第一の制御よりも前記第二の制御を優先する。
【発明の効果】
【0009】
本開示によれば、車両前方の遠方を適切に照射できる配光制御装置、配光制御プログラムおよび車両用前照灯システムを提供することができる。
【図面の簡単な説明】
【0010】
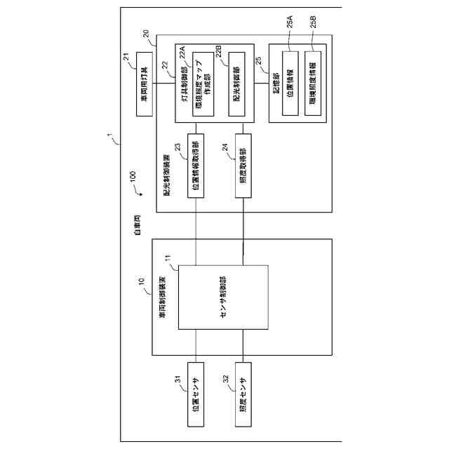
車両用前照灯システムの構成を示すブロック図である。
車両用前照灯システムが車両に取り付けられた状態を示す概略図である。
ハイビームユニットの概略的な断面図である。
LEDとその搭載基板の配置の一例である。
車両用前照灯システムの光照射に由来する照度分布を示している。
比較例に係る配光制御装置における課題を説明するための図である。
配光制御装置による、配光制御の全体の流れを説明するためのフローチャートである。
環境照度マップ作成部により作成される環境照度情報の保存処理の詳細を説明するための図である。
環境照度マップ作成部により作成される環境照度情報のデータベースの一例を示す図である。
配光制御部が行う配光制御の例を説明するための図である。
【発明を実施するための形態】
(【0011】以降は省略されています)
この特許をJ-PlatPat(特許庁公式サイト)で参照する
関連特許
個人
カーテント
4か月前
個人
タイヤレバー
2か月前
個人
前輪キャスター
1か月前
個人
上部一体型自動車
7日前
個人
ホイルのボルト締結
3か月前
個人
タイヤ脱落防止構造
1か月前
個人
ルーフ付きトライク
2か月前
個人
車輪清掃装置
4か月前
井関農機株式会社
作業車両
4か月前
日本精機株式会社
表示装置
2か月前
日本精機株式会社
表示装置
2か月前
日本精機株式会社
表示装置
2か月前
井関農機株式会社
作業車両
4か月前
個人
マスタシリンダ
14日前
個人
キャンピングトライク
3か月前
日本精機株式会社
表示装置
1か月前
個人
車両通過構造物
2か月前
個人
車両用スリップ防止装置
3か月前
個人
乗合路線バスの客室装置
2か月前
個人
アクセルのソフトウェア
3か月前
個人
キャンピングトレーラー
3か月前
個人
音声ガイド、音声サービス
2か月前
株式会社ニフコ
保持装置
3か月前
個人
円湾曲ホイール及び球体輪
2か月前
株式会社ニフコ
照明装置
1か月前
日本精機株式会社
車室演出装置
1か月前
日本精機株式会社
画像投映装置
3日前
日本精機株式会社
車載表示装置
22日前
日本精機株式会社
車載表示装置
3か月前
株式会社ニフコ
収納装置
1か月前
個人
車載小物入れ兼雨傘収納具
3か月前
株式会社豊田自動織機
産業車両
2か月前
井関農機株式会社
作業車両
3か月前
日本精機株式会社
車両用投射装置
8日前
井関農機株式会社
作業車両
21日前
日本精機株式会社
車両用投影装置
21日前
続きを見る
他の特許を見る