TOP
|
特許
|
意匠
|
商標
特許ウォッチ
Twitter
他の特許を見る
10個以上の画像は省略されています。
公開番号
2025140960
公報種別
公開特許公報(A)
公開日
2025-09-29
出願番号
2024040635
出願日
2024-03-15
発明の名称
検索装置、検索方法、及びプログラム
出願人
個人
代理人
個人
主分類
G06F
16/901 20190101AFI20250919BHJP(計算;計数)
要約
【課題】効率よく文字列を検索することが可能な検索装置、検索方法、及びプログラムを提供する。
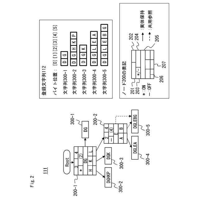
【解決手段】検索装置100は、可変長の登録文字列112と、複数のノード200から構成されるデータツリー111とを格納するデータベース110を備える。ノード200は、登録文字列112の少なくとも一部の文字列を示す直列文字列と、当該ノード200の下位の遷移先に関するブランチ情報とを含む。検索装置100は、ノード200の直列文字列及びブランチ情報に基づいて、検索文字列を含む登録文字列112を検索する検索部130を備える。直列文字列は、直列文字列が示す文字列と終端同士が一致する登録文字列112が存在する場合、登録文字列112の実体を保持し、直列文字列が示す文字列と終端同士が一致する登録文字列112が存在しない場合、当該ノード200のブランチ情報が示す遷移先の登録文字列112を共用参照する。
【選択図】図3
特許請求の範囲
【請求項1】
可変長の登録文字列と、複数のノードから構成されるデータツリーとを格納する格納部であって、前記ノードは、前記登録文字列の少なくとも一部の文字列を示す直列文字列情報と、当該ノードの下位の遷移先に関するブランチ情報とを含む、格納部と、
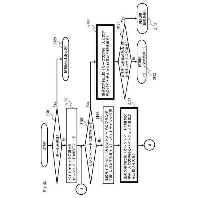
前記ノードの前記直列文字列情報及び前記ブランチ情報に基づいて、検索文字列を含む前記登録文字列を検索する検索部と、
を備え、
前記直列文字列情報は、前記直列文字列情報が示す文字列と終端同士が一致する前記登録文字列が存在する場合、前記登録文字列の実体を保持し、前記直列文字列情報が示す文字列と終端同士が一致する前記登録文字列が存在しない場合、当該ノードの前記ブランチ情報が示す遷移先の前記登録文字列を共用参照する、
検索装置。
続きを表示(約 960 文字)
【請求項2】
前記ノードは、前記直列文字列情報が実体を保持するか否かを示す実体フラグを含む、
請求項1に記載の検索装置。
【請求項3】
前記検索部は、前記ノードに含まれる前記直列文字列情報が示す文字列及び前記検索文字列の比較結果と、前記ノードに含まれる前記実体フラグとに基づいて、前記検索を行う、
請求項2に記載の検索装置。
【請求項4】
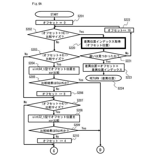
前記検索部は、前記ノードに含まれる前記直列文字列情報が示す文字列と前記検索文字列とを、並列処理可能なデータ単位で比較する、
請求項1乃至3のいずれか一項に記載の検索装置。
【請求項5】
前記検索部は、前記ノードに含まれる前記直列文字列情報が示す文字列と前記検索文字列とを、SIMD(Single Instruction/Multiple Data)命令により比較する、
請求項4に記載の検索装置。
【請求項6】
前記ブランチ情報は、前記直列文字列情報が示す文字列に続く複数のブランチ文字と、前記複数のブランチ文字のそれぞれに対応する遷移先情報と、を含む、
請求項1乃至3のいずれか一項に記載の検索装置。
【請求項7】
前記遷移先情報は、前記複数のブランチ文字の後に連続して格納される、
請求項6に記載の検索装置。
【請求項8】
前記検索部は、前記ノードに含まれる前記複数のブランチ文字と前記検索文字列における前記ブランチ文字の位置に対応する文字とを、並列処理可能なデータ単位で比較する、
請求項6に記載の検索装置。
【請求項9】
前記検索部は、前記ノードに含まれる前記複数のブランチ文字と前記検索文字列における前記ブランチ文字の位置に対応する文字とを、SIMD命令により比較する、
請求項8に記載の検索装置。
【請求項10】
新たに登録する前記登録文字列に基づいて前記ノードを割り当て、前記割り当てたノードに前記直列文字列情報及び前記ブランチ情報を設定する登録部を備える、
請求項1乃至3のいずれか一項に記載の検索装置。
(【請求項11】以降は省略されています)
発明の詳細な説明
【技術分野】
【0001】
本発明は、検索装置、検索方法、及びプログラムに関する。
続きを表示(約 3,100 文字)
【背景技術】
【0002】
近年のIT(Information Technology)技術の発達及び世界的な普及に伴い、コンピュータにおけるデータ処理は、企業の競争力をも左右する最も重要な要素に成っている。特にIoT(Intern et of Things)の推進や5Gの普及等により、全世界のデータ量はさらに爆発的に増加すると予測されている。このため、データ処理技術の飛躍的な向上が望まれている。
【0003】
データ処理技術として、例えば、データ検索に関連する技術として、特許文献1、非特許文献1~4が知られている。特許文献1には、Patricia-Treeを用いた情報検索方法が記載されている。非特許文献1には、Trie(Prefix-Tree)による効率的なインデックス作成方法が記載されている。非特許文献2には、VAST木を用いたSIMD命令(Single Instruction/Multiple Data)による大規模データ探索方法が記載されている。非特許文献3には、Trieの高さを最適化する方法が記載されている。非特許文献4には、SIMD命令を使用してツリーベースのインデックス構造の処理を高速化する方法が記載されている。
【先行技術文献】
【特許文献】
【0004】
特開2001-357070号公報
【非特許文献】
【0005】
Matthias Boehm, Benjamin Schlegel, Peter Benjamin Volk, Ulrike Fischer, Dirk Habich, Wolfgang Lehner, "Efficient In-Memory Indexing with Generalized Prefix Trees", Datenbanksysteme fur Business, Technologie und Web (BTW), pp. 227-246, 2011年3月, [令和5年12月18日検索], インターネット<URL:https://dl.gi.de/bitstreams/4acd192a-e10b-4fa5-bb29-af8907b0a1ae/download>
山室 健, 鬼塚 真, 日高 東潮, 山室 雅司, "VAST木: 木構造索引の圧縮を用いたSIMD命令による大規模データ探索の高速化", 情報処理学会論文誌データベース, Vol.8,No.2,pp.30-42, 2015年6月, [令和5年12月18日検索], インターネット<URL:https://db-event.jpn.org/deim2011/proceedings/pdf/e2-1.pdf>
Robert Binna, Eva Zangerle, Martin Pichl, Gunther Specht, Viktor Leis, "HOT: A Height Optimized Trie Index for Main-Memory Database Systems", SIGMOD '18: Proceedings of the 2018 International Conference on Management of Data, 2018年5月, pp.521-534, [令和5年12月18日検索], インターネット<URL:https://15721.courses.cs.cmu.edu/spring2020/papers/07-oltpindexes2/p521-binna.pdf>
Steffen Zeuch, Frank Huber, Johann-Christoph Freytag, "Adapting Tree Structures for Processing with SIMD Instructions", 17th International Conference on Extending Database Technology(EDBT), p.97-108, 2014年3月, [令和5年12月18日検索], インターネット<URL:https://openproceedings.org/2014/conf/edbt/ZeuchFH14.pdf>
【発明の概要】
【発明が解決しようとする課題】
【0006】
しかしながら、上記のような関連する技術では、可変長の文字列を検索することが考慮されていないため、効率よく検索することができない場合がある。
【0007】
本発明は、このような事情に鑑みてなされたものであって、効率よく文字列を検索することが可能な検索装置、検索方法、及びプログラムを提供することを目的とする。
【課題を解決するための手段】
【0008】
本発明に係る検索装置は、可変長の登録文字列と、複数のノードから構成されるデータツリーとを格納する格納部であって、前記ノードは、前記登録文字列の少なくとも一部の文字列を示す直列文字列情報と、当該ノードの下位の遷移先に関するブランチ情報とを含む、格納部と、前記ノードの前記直列文字列情報及び前記ブランチ情報に基づいて、検索文字列を含む前記登録文字列を検索する検索部と、を備え、前記直列文字列情報は、前記直列文字列情報が示す文字列と終端同士が一致する前記登録文字列が存在する場合、前記登録文字列の実体を保持し、前記直列文字列情報が示す文字列と終端同士が一致する前記登録文字列が存在しない場合、当該ノードの前記ブランチ情報が示す遷移先の前記登録文字列を共用参照するものである。
【0009】
本発明に係る検索方法は、可変長の登録文字列と、複数のノードから構成されるデータツリーとを格納し、前記ノードは、前記登録文字列の少なくとも一部の文字列を示す直列文字列情報と、当該ノードの下位の遷移先に関するブランチ情報とを含み、前記ノードの前記直列文字列情報及び前記ブランチ情報に基づいて、検索文字列を含む前記登録文字列を検索し、前記直列文字列情報は、前記直列文字列情報が示す文字列と終端同士が一致する前記登録文字列が存在する場合、前記登録文字列の実体を保持し、前記直列文字列情報が示す文字列と終端同士が一致する前記登録文字列が存在しない場合、当該ノードの前記ブランチ情報が示す遷移先の前記登録文字列を共用参照するものである。
【0010】
本発明に係るプログラムは、可変長の登録文字列と、複数のノードから構成されるデータツリーとを格納し、前記ノードは、前記登録文字列の少なくとも一部の文字列を示す直列文字列情報と、当該ノードの下位の遷移先に関するブランチ情報とを含み、前記ノードの前記直列文字列情報及び前記ブランチ情報に基づいて、検索文字列を含む前記登録文字列を検索し、前記直列文字列情報は、前記直列文字列情報が示す文字列と終端同士が一致する前記登録文字列が存在する場合、前記登録文字列の実体を保持し、前記直列文字列情報が示す文字列と終端同士が一致する前記登録文字列が存在しない場合、当該ノードの前記ブランチ情報が示す遷移先の前記登録文字列を共用参照する、処理をコンピュータに実行させるためのプログラムである。
【発明の効果】
(【0011】以降は省略されています)
この特許をJ-PlatPat(特許庁公式サイト)で参照する
関連特許
個人
工程設計支援装置
1か月前
個人
地球保全システム
3日前
個人
為替ポイント伊達夢貯
1か月前
個人
冷凍食品輸出支援構造
1か月前
個人
表変換編集支援システム
23日前
個人
携帯情報端末装置
1か月前
個人
結婚相手紹介支援システム
1か月前
個人
知財出願支援AIシステム
1か月前
個人
AIによる情報の売買の仲介
1か月前
個人
パスワード管理支援システム
23日前
個人
行動時間管理システム
25日前
株式会社アジラ
進入判定装置
1か月前
個人
システム及びプログラム
16日前
個人
パスポートレス入出国システム
1か月前
株式会社キーエンス
受発注システム
2日前
個人
海外支援型農作物活用システム
15日前
個人
食品レシピ生成システム
2日前
日本精機株式会社
施工管理システム
1か月前
個人
AIキャラクター制御システム
23日前
株式会社キーエンス
受発注システム
2日前
株式会社キーエンス
受発注システム
2日前
個人
未来型家系図構築システム
15日前
個人
人格進化型対話応答制御システム
23日前
個人
社会還元・施設向け供給支援構造
23日前
個人
冷凍加工連携型農場運用システム
1か月前
キヤノン株式会社
表示システム
2日前
個人
食事受注会計処理システム
1か月前
大阪瓦斯株式会社
住宅設備機器
1か月前
個人
SaaS型勤務調整支援システム
23日前
個人
音声対話型帳票生成支援システム
23日前
サクサ株式会社
中継装置
23日前
大同特殊鋼株式会社
疵判定方法
9日前
個人
マーケティング活動支援装置
1日前
中部電力株式会社
学習装置
15日前
フリー株式会社
情報処理システム
9日前
個人
リテールレボリューションAIタグ
1か月前
続きを見る
他の特許を見る