TOP
|
特許
|
意匠
|
商標
特許ウォッチ
Twitter
他の特許を見る
公開番号
2025143310
公報種別
公開特許公報(A)
公開日
2025-10-01
出願番号
2025102336,2024042531
出願日
2025-06-18,2024-03-18
発明の名称
保持装置
出願人
日本特殊陶業株式会社
代理人
個人
,
個人
主分類
H01L
21/683 20060101AFI20250924BHJP(基本的電気素子)
要約
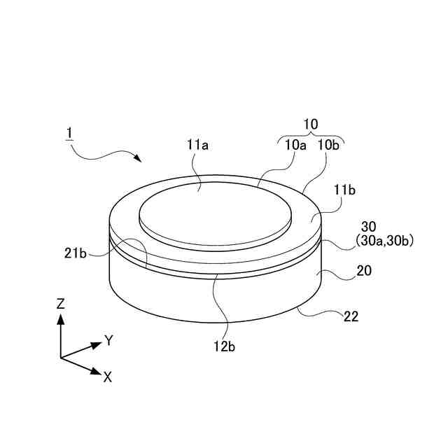
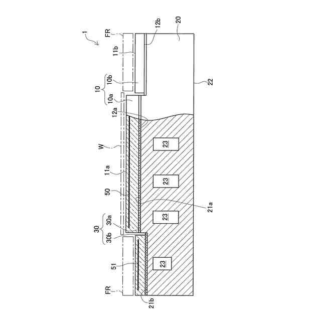
【課題】保持する対象物の外周域における処理速度を向上させることができる保持装置を
提供すること。
【解決手段】板状部材10と、ベース部材20と、板状部材10とベース部材20とを接
合する接合層30と、を備える静電チャック1において、板状部材10は、面方向中央部
の内側部10aと、面方向外周部の外側部10bとを有し、接合層30は、板状部材10
の内側部10aとベース部材20との間に配置される第1接合層30aと、板状部材10
の外側部10bとベース部20との間に配置される第2接合層30bとを有し、板状部材
10の外側部10bの熱抵抗と第2接合層30bの熱抵抗との合計値が、板状部材10の
内側部10aの熱抵抗と第1接合層30aの熱抵抗との合計値より小さい。
【選択図】図2
特許請求の範囲
【請求項1】
板状部材と、ベース部材と、前記板状部材と前記ベース部材とを接合する接合層と、を
備える保持装置において、
前記板状部材は、面方向中央部の内側部と、面方向外周部の外側部とを有し、
前記接合層は、前記板状部材の内側部と前記ベース部材との間に配置される第1接合層
と、前記板状部材の外側部と前記ベース部との間に配置される第2接合層とを有し、
前記板状部材の外側部の熱抵抗と前記第2接合層の熱抵抗との合計値が、前記板状部材
の内側部の熱抵抗と前記第1接合層の熱抵抗との合計値より小さい
ことを特徴とする保持装置。
続きを表示(約 450 文字)
【請求項2】
請求項1に記載する保持装置において、
前記板状部材の内側部と前記板状部材の外側部とは、異なる部材で形成され、
前記板状部材の外側部の熱抵抗は、前記板状部材の内側部の熱抵抗より小さい
ことを特徴とする保持装置。
【請求項3】
請求項1に記載する保持装置において、
前記板状部材の内側部と前記第1接合層との接合面は、前記接合面の面方向と直交する
方向において前記板状部材の外側部と前記第2接合層との接合面とは異なる位置に配置さ
れている
ことを特徴とする保持装置。
【請求項4】
請求項1に記載する保持装置において、
前記板状部材の外側部は、その内部に電極を備えている
ことを特徴とする保持装置。
【請求項5】
請求項1に記載する保持装置において、
前記板状部材の内側部の厚さは、前記板状部材の外側部の厚さより大きい
ことを特徴とする保持装置。
発明の詳細な説明
【技術分野】
【0001】
本開示は、対象物を保持する保持装置に関する。
続きを表示(約 1,600 文字)
【背景技術】
【0002】
半導体製造工程において、半導体ウエハを保持するために、静電チャック(保持装置)
が使用されている。このような静電チャックは、載置面に半導体ウエハ(対象物)を保持
するセラミックス部材(板状部材)を有し、そのセラミックス部材の内部にチャック電極
を備えている。そして、チャック電極に電圧を印加して静電引力を発生させることにより
、半導体ウエハを吸着・保持するようになっている(特許文献1,2参照)。
【先行技術文献】
【特許文献】
【0003】
特許第6806051号公報
特許第6894000号公報
【発明の概要】
【発明が解決しようとする課題】
【0004】
しかしながら、上記の静電チャックでは、保持する半導体ウエハに対する各種プロセス
処理中に板状部材が摩耗しないように、板状部材の直径が、半導体ウエハの直径より少し
(数mm程度)小さくなっている。また、板状部材の内部に備わるチャック電極は、絶縁
性を確保するために、板状部材の最外周より少し引き下がった(内側の)位置までしか配
置されていない。
【0005】
そのため、静電チャックに保持している半導体ウエハの吸着力は、外周部分が内側(中
央部分)より弱くなってしまう。その結果、各種プロセス処理中に、吸着力が低い半導体
ウエハの外周域の熱引きが悪くなることで高温になってしまい、半導体ウエハに対する処
理の速度(例えばエッチングレート等)が低下してしまうおそれがある。
【0006】
また、近年、静電チャックに対して高バイアス電圧が印加される(ハイパワーで使用さ
れる)ことが増えており、半導体ウエハへの入熱量が増加しているため、対象物の吸着力
が低くなりやすい外周域において温度が急激に上昇することが多く、半導体ウエハの外周
域で処理速度の低下が顕著になってしまう。
【0007】
そこで、本開示は上記した問題点を解決するためになされたものであり、保持する対象
物の外周域における処理速度を向上させることができる保持装置を提供することを目的と
する。
【課題を解決するための手段】
【0008】
上記課題を解決するためになされた本開示の一形態は、
板状部材と、ベース部材と、前記板状部材と前記ベース部材とを接合する接合層と、を
備える保持装置において、
前記板状部材は、面方向中央部の内側部と、面方向外周部の外側部とを有し、
前記接合層は、前記板状部材の内側部と前記ベース部材との間に配置される第1接合層
と、前記板状部材の外側部と前記ベース部との間に配置される第2接合層とを有し、
前記板状部材の外側部の熱抵抗と前記第2接合層の熱抵抗との合計値が、前記板状部材
の内側部の熱抵抗と前記第1接合層の熱抵抗との合計値より小さいことを特徴とする。
【0009】
この保持装置では、板状部材の外側部の熱抵抗と第2接合層の熱抵抗との合計値が、板
状部材の内側部の熱抵抗と第1接合層の熱抵抗との合計値より小さいため、板状部材の外
側部の温度を低下させやすくなる。そのため、フォーカスリングが配置される板状部材の
外側部における温度を、対象物が載置される板状部材の内側部の温度よりも低く制御する
ことができる。
【0010】
ここで、プラズマによるドライエッチングのプロセスには、エッチングプロセスとデポ
ジションプロセスがあり、例えばガス種の変更によってプロセスを制御することができる
。
(【0011】以降は省略されています)
この特許をJ-PlatPat(特許庁公式サイト)で参照する
関連特許
日本特殊陶業株式会社
電極
1日前
日本特殊陶業株式会社
電極
1日前
日本特殊陶業株式会社
電極
1日前
日本特殊陶業株式会社
電極
1日前
日本特殊陶業株式会社
保持装置
3日前
日本特殊陶業株式会社
保持装置
1日前
日本特殊陶業株式会社
保持装置
1日前
日本特殊陶業株式会社
保持部材
15日前
日本特殊陶業株式会社
保持装置
5日前
日本特殊陶業株式会社
樹脂成形体
15日前
日本特殊陶業株式会社
抗菌処理装置
15日前
日本特殊陶業株式会社
超音波発生装置
5日前
日本特殊陶業株式会社
超音波発生装置
5日前
日本特殊陶業株式会社
セラミックヒータ
2日前
日本特殊陶業株式会社
セラミックヒータ
5日前
日本特殊陶業株式会社
セラミックヒータ
2日前
日本特殊陶業株式会社
マイクロリアクタ
5日前
日本特殊陶業株式会社
限界電流式ガスセンサ
17日前
日本特殊陶業株式会社
圧電セラミック積層体
23日前
日本特殊陶業株式会社
圧電セラミック積層体
2日前
日本特殊陶業株式会社
圧電セラミック積層体
23日前
日本特殊陶業株式会社
圧電素子およびその利用
5日前
日本特殊陶業株式会社
圧電素子およびその利用
5日前
日本特殊陶業株式会社
セラミック部材の製造方法
15日前
日本特殊陶業株式会社
非水電解液および電気化学素子
24日前
日本特殊陶業株式会社
配線基板および導電層の製造方法
1日前
日本特殊陶業株式会社
配線基板および導電層の製造方法
1日前
日本特殊陶業株式会社
積層圧電セラミック素子及び装置
5日前
日本特殊陶業株式会社
積層圧電セラミック素子及び装置
5日前
日本特殊陶業株式会社
積層圧電セラミック素子及び装置
5日前
日本特殊陶業株式会社
セラミックヒータ及び液体加熱装置
2日前
日本特殊陶業株式会社
海洋無脊椎動物の陸上養殖システム
1日前
日本特殊陶業株式会社
電極用組成物、電極および電気化学素子
24日前
日本特殊陶業株式会社
ヒータの製造方法及びガスセンサの製造方法
9日前
日本特殊陶業株式会社
積層圧電セラミック部品、およびそれを備える装置
5日前
日本特殊陶業株式会社
積層圧電セラミック部品、およびそれを備える装置
5日前
続きを見る
他の特許を見る