TOP
|
特許
|
意匠
|
商標
特許ウォッチ
Twitter
他の特許を見る
公開番号
2025140224
公報種別
公開特許公報(A)
公開日
2025-09-29
出願番号
2024039453
出願日
2024-03-13
発明の名称
情報処理方法及びプログラム
出願人
国立大学法人東京科学大学
代理人
弁理士法人エピファニー特許事務所
主分類
H04B
1/40 20150101AFI20250919BHJP(電気通信技術)
要約
【課題】導波管変換装置において、インピーダンス整合を取りやすくすることができる、情報処理方法及びプログラムを提供することを目的としている。
【解決手段】インピーダンス取得部が、前記導波管変換回路部における電気的な特性値に基づいて、外部インピーダンスを取得し、前記外部インピーダンスは、前記送受信部を基準とする、前記導波管変換回路部側のインピーダンスである、情報処理方法が提供される。
【選択図】図1
特許請求の範囲
【請求項1】
導波管を有する導波管変換装置に用いられる情報処理方法であって、
インピーダンス取得ステップを備え、
前記導波管変換装置は、送受信部と、基板部材とを有し、
前記基板部材は、導波管変換回路部と、アンテナ部とを有し、
前記送受信部は、前記アンテナ部へ送信する送信信号を生成する機能、又は、前記アンテナ部から送られる受信信号を受け付ける機能を有し、
前記導波管変換回路部は、前記アンテナ部に電気的に接続され、
前記アンテナ部は、前記送信信号を電波にして前記導波管に放射する機能、又は、前記導波管の電波を前記受信信号として受け付ける機能を有し、
前記インピーダンス取得ステップでは、インピーダンス取得部が、前記送受信部における電気的な特性値に基づいて、外部インピーダンスを取得し、
前記外部インピーダンスは、前記送受信部を基準とする、前記導波管変換回路部側のインピーダンスである、情報処理方法。
続きを表示(約 730 文字)
【請求項2】
請求項1に記載の情報処理方法であって、
前記特性値は、前記送受信部のアンプの利得、前記送受信部の雑音指数、前記送受信部の消費電力、前記送受信部の回路内の電流のうちの少なくとも1つを含む、情報処理方法。
【請求項3】
請求項1又は請求項2に記載の情報処理方法であって、
駆動ステップを更に備え、
前記導波管変換装置は、金属部材と、駆動部とを更に有し、
前記基板部材は、配置空間部を更に有し、
前記配置空間部には、前記基板部材のおもて面からうら面にかけて延びる空間部が形成され、且つ、前記配置空間部は、前記基板部材の前記おもて面側において前記導波管が配置される部分であり、
前記配置空間部の前記空間部には、前記アンテナ部が配置されており、
前記金属部材は、前記基板部材の前記うら面側に配置され、
前記駆動ステップでは、駆動制御部が、前記外部インピーダンスに基づいて、前記金属部材と前記基板部材との間の距離を変更する、情報処理方法。
【請求項4】
請求項1又は請求項2に記載の情報処理方法であって、
飽和状態判定ステップを更に備え、
前記飽和状態判定ステップでは、飽和状態判定部が、前記送受信部が飽和状態で動作しているか否かを判定し、
前記インピーダンス取得ステップでは、前記インピーダンス取得部は、前記送受信部が飽和状態で動作しているときにおける前記特性値に基づいて、前記外部インピーダンスを取得する、情報処理方法。
【請求項5】
コンピュータに、請求項1又は請求項2に記載の情報処理方法を実行させる、プログラム。
発明の詳細な説明
【技術分野】
【0001】
本発明は、情報処理方法及びプログラムに関する。
続きを表示(約 1,700 文字)
【背景技術】
【0002】
電波を送受信する装置としては、同軸コネクタ・ケーブルがあるが、電波の伝送損失が大きくなるため、比較的低い周波数での使用が主流である。このため、特許文献1のような通信装置(導波管変換装置)が活用されている。導波管変換装置の基板(基板部材)には、高周波信号の送受信をするためのICチップ(半導体チップ)が実装されており、ICチップと導波管との間で信号(電波)のやりとりがなされることになる。
【先行技術文献】
【特許文献】
【0003】
特開2006-261767号公報
【発明の概要】
【発明が解決しようとする課題】
【0004】
導波管変換装置を伝送する信号(電波)はインピーダンス整合が図られていることが伝送効率の観点で好ましい。一方で、導波管変換装置の各部は、状況に応じて、インピーダンスの値が変わってくるため、インピーダンス整合を取ることができない場合がある。
【0005】
本発明は、導波管変換装置において、インピーダンス整合を取りやすくすることができる、情報処理方法及びプログラムを提供することを目的としている。
【課題を解決するための手段】
【0006】
本発明によれば、導波管を有する導波管変換装置に用いられる情報処理方法であって、インピーダンス取得ステップを備え、前記導波管変換装置は、送受信部と、基板部材とを有し、前記基板部材は、導波管変換回路部と、アンテナ部とを有し、前記送受信部は、前記アンテナ部へ送信する送信信号を生成する機能、又は、前記アンテナ部から送られる受信信号を受け付ける機能を有し、前記導波管変換回路部は、前記アンテナ部に電気的に接続され、前記アンテナ部は、前記送信信号を電波にして前記導波管に放射する機能、又は、前記導波管の電波を前記受信信号として受け付ける機能を有し、前記インピーダンス取得ステップでは、インピーダンス取得部が、前記送受信部における電気的な特性値に基づいて、外部インピーダンスを取得し、前記外部インピーダンスは、前記送受信部を基準とする、前記導波管変換回路部側のインピーダンスである、情報処理方法が提供される。
【0007】
本発明によれば、インピーダンス取得ステップにおいて、インピーダンス取得部が、導波管変換回路部における電気的な特性値に基づいて、外部インピーダンスを取得することができ、当該外部インピーダンスを活用することで、導波管変換装置におけるインピーダンス整合を取りやすくなる。
【図面の簡単な説明】
【0008】
図1は、導波管変換装置100の機能ブロック図を示している。
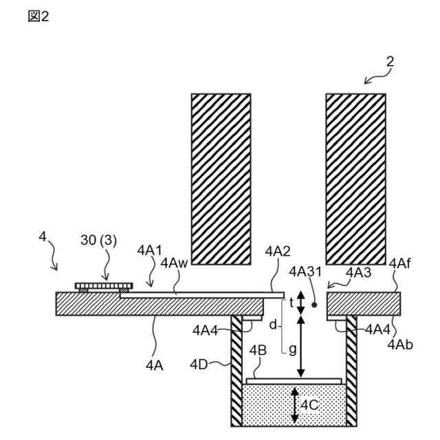
図2は、図1に示す導波管変換装置100の導波管2、チップ3、通信装置4といった構成を模式的に示した説明図である。
図3は、実施形態に係る情報処理方法を実行する情報処理部30の機能ブロック図である。
図4は、図3に示す情報処理部30の制御部12の機能ブロック図である。
図5は、送受信部121における出力段のアンプAmpの回路の一例を示している。
【発明を実施するための形態】
【0009】
以下、図面を用いて本発明の実施形態について説明する。以下に示す実施形態中で示した各種特徴事項は、互いに組み合わせ可能である。また、各特徴事項について独立して発明が成立する。
【0010】
1.実施形態の構成の説明
図1及び図2に示すように、導波管変換装置100は、アンテナ1と、導波管2と、送受信部121を有するチップ3と、基板部材4Aを有する通信装置4と、インピーダンス取得部123等の機能部を有する情報処理部30とを備えている。導波管変換装置100の情報処理部30は、導波管2に設けられる通信装置4に用いられる情報処理方法を実行可能に構成されている。
(【0011】以降は省略されています)
この特許をJ-PlatPat(特許庁公式サイト)で参照する
関連特許
サクサ株式会社
中継装置
2日前
サクサ株式会社
中継装置
1日前
個人
ワイヤレスイヤホン対応耳掛け
21日前
サクサ株式会社
無線通信装置
1日前
サクサ株式会社
無線通信装置
1日前
大日本印刷株式会社
写真撮影装置
22日前
有限会社フィデリックス
マイクロフォン
7日前
株式会社JVCケンウッド
通信システム
7日前
沖電気工業株式会社
画像形成装置
3日前
沖電気工業株式会社
画像形成装置
11日前
ダイハツ工業株式会社
人流取得装置
1日前
個人
回動アームを構築する関節モジュール
3日前
日本無線株式会社
無線通信システム
15日前
株式会社デンソー
車載システム
1日前
日本信号株式会社
可視光通信システム
11日前
株式会社村田製作所
高周波回路
1日前
株式会社デンソー
車載システム
1日前
日本放送協会
広視野角撮像装置
11日前
日本放送協会
広視野角撮像装置
11日前
洋也株式会社
電子機器
3日前
アイホン株式会社
インターホンシステム
1日前
アイホン株式会社
インターホンシステム
1日前
キヤノン株式会社
電子機器
11日前
キヤノン株式会社
電子機器
15日前
キヤノン株式会社
電子機器
15日前
株式会社東芝
放送バンクシステム
11日前
株式会社国際電気
カメラシステム
3日前
株式会社JVCケンウッド
運転支援装置
7日前
日本電気株式会社
通信装置および通信方法
7日前
株式会社デンソー
無線通信システム
1日前
株式会社アスタリスク
通話システム
15日前
ソフトバンク株式会社
通信システム
21日前
ソフトバンク株式会社
通信システム
2日前
アルプスアルパイン株式会社
可動式表示装置
21日前
株式会社国際電気
放送システム及び放送方法
11日前
ミツミ電機株式会社
電気音響変換装置
2日前
続きを見る
他の特許を見る