TOP
|
特許
|
意匠
|
商標
特許ウォッチ
Twitter
他の特許を見る
公開番号
2025140225
公報種別
公開特許公報(A)
公開日
2025-09-29
出願番号
2024039454
出願日
2024-03-13
発明の名称
振動センサ及び振動数検出システム
出願人
国立大学法人東京科学大学
代理人
弁理士法人エピファニー特許事務所
主分類
G01H
11/06 20060101AFI20250919BHJP(測定;試験)
要約
【課題】小型化及び薄型化が可能な振動センサ及び振動数検出システムを提供することを目的としている。
【解決手段】振動数を検出するための振動センサであって、誘電体層と、気体層と、金属層と、弾性部材とを備え、前記誘電体層と前記金属層との間には、前記気体層が配置され、前記弾性部材は、前記気体層に設けられ、且つ、前記弾性部材は、一方側が前記誘電体層に連結しており、他方側が前記金属層に連結しており、前記振動センサは、前記弾性部材が伸縮して前記誘電体層と前記金属層との間の距離が変化することで、電波の反射損失を変化させるように構成され、前記反射損失は、前記誘電体層に入射する第1電波の第1電力と、前記誘電体層に入射後に前記金属層で反射して前記誘電体層から放射される第2電波の第2電力とに基づいている、振動センサが提供される。
【選択図】図1
特許請求の範囲
【請求項1】
振動数を検出するための振動センサであって、
重り部材と、気体層と、金属層と、弾性部材とを備え、
前記重り部材は、抵抗層と、誘電体層とを有し、
前記重り部材と前記金属層との間には、前記気体層が配置され、
前記弾性部材は、前記気体層に設けられ、且つ、前記弾性部材は、一方側が前記重り部材に連結しており、他方側が前記金属層に連結しており、
前記振動センサは、前記弾性部材が伸縮して前記重り部材と前記金属層との間の距離が変化することで、電波の反射損失を変化させるように構成され、
前記反射損失は、前記重り部材に入射する第1電波の第1電力と、前記重り部材に入射後に前記金属層で反射して前記重り部材から放射される第2電波の第2電力とに基づいている、振動センサ。
続きを表示(約 720 文字)
【請求項2】
請求項1に記載の振動センサであって、
前記抵抗層は、前記誘電体層上に積層されている、振動センサ。
【請求項3】
請求項1又は請求項2に記載の振動センサであって、
複数の前記弾性部材を有し、
複数の前記弾性部材が、前記重り部材のうちの縁の部分に連結している、振動センサ。
【請求項4】
請求項1又は請求項2に記載の振動センサであって、
前記金属層は、メッシュ構造を有する、振動センサ。
【請求項5】
請求項1又は請求項2に記載の振動センサであって、
前記重り部材は、金属製の錘を更に有する、振動センサ。
【請求項6】
請求項1又は請求項2に記載の振動センサを有する、振動数検出システムであって、
送信部と、受信部と、振動数取得部とを備え、
前記送信部は、前記振動センサへ前記第1電波を送信可能に構成され、
前記受信部は、前記振動センサから前記第2電波を受信可能に構成され、
前記振動数取得部は、前記第1電波の前記第1電力及び前記第2電波の前記第2電力に基づく前記反射損失を用いて振動数を取得する、振動数検出システム。
【請求項7】
請求項6に記載の振動数検出システムであって、
前記送信部、前記受信部及び前記振動数取得部は、前記振動センサとは独立した筐体に設けられている、振動数検出システム。
【請求項8】
請求項6に記載の振動数検出システムであって、
前記送信部が送信する前記第1電波は、15GHz以上である、振動数検出システム。
発明の詳細な説明
【技術分野】
【0001】
本発明は、振動センサ及び振動数検出システムに関する。
続きを表示(約 1,700 文字)
【背景技術】
【0002】
特許文献1には、建物等の構造物の劣化を診断するために用いられる振動センサが開示されている。特許文献1に記載の振動センサは、筐体に設けられたアンテナや、振動センサの検出した振動に関する信号を生成・出力するたに用いられる無線回路基板や、各種回路を駆動するための電池等を備えている。
【先行技術文献】
【特許文献】
【0003】
特許第6197794号
【発明の概要】
【発明が解決しようとする課題】
【0004】
電池(電源)等を用いる振動センサは、電池等や、回路基板及びアンテナ等の様々な部品が必要になり、大型化しやすい。
【0005】
本発明は、小型化及び薄型化が可能な振動センサ及び振動数検出システムを提供することを目的としている。
【課題を解決するための手段】
【0006】
本発明によれば、振動数を検出するための振動センサであって、誘電体層と、気体層と、金属層と、弾性部材とを備え、前記誘電体層と前記金属層との間には、前記気体層が配置され、前記弾性部材は、前記気体層に設けられ、且つ、前記弾性部材は、一方側が前記誘電体層に連結しており、他方側が前記金属層に連結しており、前記振動センサは、前記弾性部材が伸縮して前記誘電体層と前記金属層との間の距離が変化することで、電波の反射損失を変化させるように構成され、前記反射損失は、前記誘電体層に入射する第1電波の第1電力と、前記誘電体層に入射後に前記金属層で反射して前記誘電体層から放射される第2電波の第2電力とに基づいている、振動センサが提供される。
【0007】
本発明によれば、弾性部材が伸縮して重り部材と金属層との間の距離が変化することで、電波の反射損失を変化させるように構成されており、振動数検出には電波の反射損失が用いられるので、例えば無線回路基板や、これを駆動するための電源回路及び電源(電池)等が不要であり、小型化及び薄型化が可能である。
【図面の簡単な説明】
【0008】
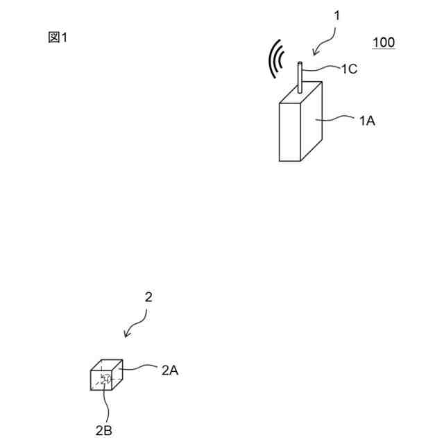
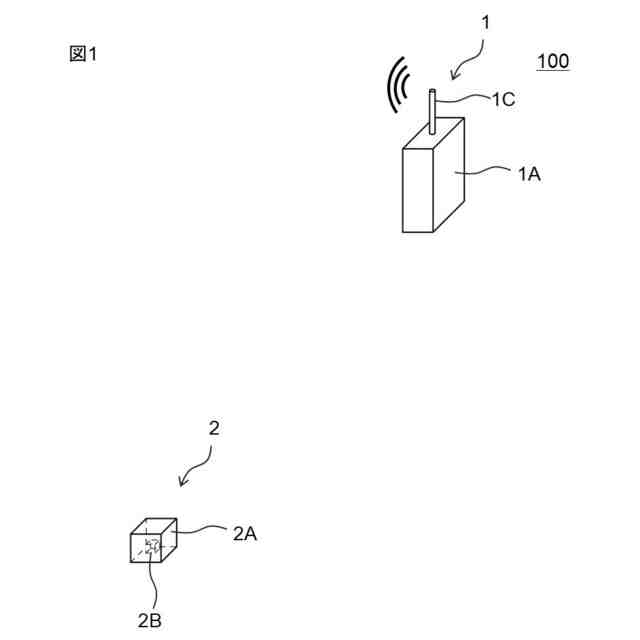
図1は、振動数検出システム100の概要構成を示す模式図である。
図2は、振動センサ2(振動センサ本体2B)の斜視図である。
図3は、図2に示す振動センサ2を側面方向から見た図であって、入射する電波や反射する電波の説明図である。
図4は、情報処理部1Bの機能ブロック図である。
図5は、制御部12の機能ブロック図である。
図6は、振動センサ2の振動によって重り部材2aと金属層2cとの間の距離xが変化することで反射損失が変化することを示しているグラフである。
【発明を実施するための形態】
【0009】
以下、図面を用いて本発明の実施形態について説明する。以下に示す実施形態中で示した各種特徴事項は、互いに組み合わせ可能である。また、各特徴事項について独立して発明が成立する。
【0010】
1.実施形態の構成の説明
図1に示すように、実施形態において、振動数検出システム100は、送受信装置1と、送受信装置1と通信可能な振動センサ2とを備えている。振動数検出システム100において、振動センサ2は電波吸収体構造をなしており、また、弾性構造(実施形態ではバネ構造)を有している。これにより、振動センサ2の電波吸収体としての吸収周波数帯が変化する。実施形態に係る振動センサ2の詳細構成は、後段で詳しく説明するが、図2に示すように、振動センサ2は、重り部材2aと、弾性部材2bと、金属層2cと、気体層2dとを備えており、重り部材2aが振動することで(重り部材2aと金属層2cとの間の距離xが変化することで)、電波の吸収特性が変化する。振動数検出システム100では、送信する電波の電力と振動センサ2で反射して戻る電波の電力とを取得することで、振動センサ2の振動数を検出することを可能としている。
(【0011】以降は省略されています)
この特許をJ-PlatPat(特許庁公式サイト)で参照する
関連特許
国立大学法人東京科学大学
通信装置
6日前
国立大学法人東京科学大学
非線形回路
6日前
国立大学法人東京科学大学
バラン回路
6日前
国立大学法人東京科学大学
電波吸収体
1か月前
国立大学法人東京科学大学
電波吸収体
1か月前
国立大学法人東京科学大学
半導体装置
25日前
国立大学法人東京科学大学
制御システム
1か月前
国立大学法人東京科学大学
チューニング装置
6日前
国立大学法人東京科学大学
光化学センサ装置
24日前
NTT株式会社
光デバイス
24日前
国立大学法人東京科学大学
情報処理方法及びプログラム
6日前
国立大学法人東京科学大学
複合酸化物パターンの形成方法
18日前
国立大学法人東京科学大学
燃料デブリの固化方法および固化体
6日前
国立大学法人東京科学大学
振動センサ及び振動数検出システム
6日前
国立大学法人東京科学大学
強磁性材料、薄膜及び強磁性材料の製造方法
1か月前
トヨタ自動車株式会社
フッ化物イオン電池
2日前
国立大学法人東京科学大学
ガラスアクチュエータ素子及びその製造方法
16日前
株式会社フジタ
二酸化炭素分離回収供給装置
25日前
株式会社フジタ
二酸化炭素分離回収供給装置
25日前
株式会社フジタ
被覆シートおよび二酸化炭素供給方法
25日前
株式会社Synspective
パッシブアンテナパネル
16日前
国立大学法人東京科学大学
シミュレータの開発方法、情報処理システム及びプログラム
1か月前
三菱マテリアル株式会社
光機能材料、および、光機能材料付き基板
17日前
NTT株式会社
修辞構造解析装置、修辞構造解析方法及びプログラム
1か月前
NTT株式会社
通信品質予測装置、通信品質予測方法、及びプログラム
9日前
マクセル株式会社
バンドパスフィルタ、およびこれを備えた積層回路基板
1か月前
つばめBHB株式会社
触媒成形体及び該触媒を用いるアンモニアの合成方法
6日前
国立大学法人神戸大学
サーマルサーキットシステム
25日前
国立大学法人東京科学大学
面状アクチュエータ、これを用いた搬送装置、移動装置及び褥瘡予防装置、並びに製造方法
1か月前
国立大学法人東京科学大学
化学蓄熱ブロック、化学蓄熱装置、並びに化学蓄熱及び放熱方法
1か月前
国立大学法人東京科学大学
ムタンの製造方法、及びグルコシルトランスフェラーゼJをコードする遺伝子が導入されたスクロース非資化細菌
1か月前
個人
計量スプーン
26日前
個人
微小振動検出装置
1か月前
株式会社イシダ
X線検査装置
1か月前
日本精機株式会社
位置検出装置
4日前
日本精機株式会社
位置検出装置
4日前
続きを見る
他の特許を見る