TOP
|
特許
|
意匠
|
商標
特許ウォッチ
Twitter
他の特許を見る
10個以上の画像は省略されています。
公開番号
2025141193
公報種別
公開特許公報(A)
公開日
2025-09-29
出願番号
2024041015
出願日
2024-03-15
発明の名称
二酸化炭素回収装置および二酸化炭素回収方法
出願人
東邦瓦斯株式会社
代理人
弁理士法人コスモス国際特許商標事務所
主分類
B01D
53/26 20060101AFI20250919BHJP(物理的または化学的方法または装置一般)
要約
【課題】より省エネルギーに、被分離ガスの除湿を行うことが可能な二酸化炭素回収装置を提供すること。
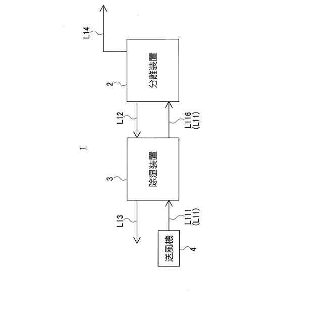
【解決手段】大気から二酸化炭素の分離を行う分離装置2と、大気を分離装置2に供給するための第1供給ラインL11と、を備える二酸化炭素回収装置1において、第1供給ラインL11上に、除湿剤により大気の除湿を行う除湿装置3を備えること、分離装置2から除湿装置2に、大気から二酸化炭素を分離した後の分離後ガスを供給する第2供給ラインL12を備えること、除湿装置3は、第2供給ラインL12から供給される分離後ガスにより、除湿剤の再生を行うこと。
【選択図】図1
特許請求の範囲
【請求項1】
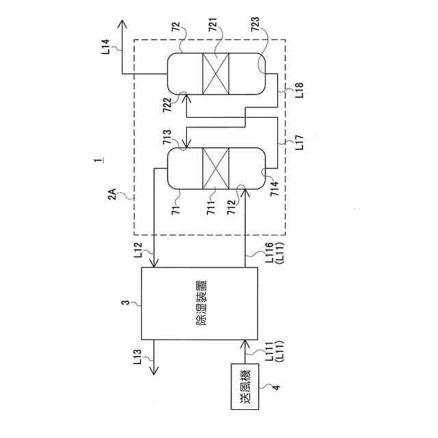
被分離ガスから二酸化炭素の分離を行う分離装置と、前記被分離ガスを前記分離装置に供給するための第1供給ラインと、を備える二酸化炭素回収装置において、
前記第1供給ライン上に、除湿剤により前記被分離ガスの除湿を行う除湿装置を備えること、
前記分離装置から前記除湿装置に、前記被分離ガスから二酸化炭素を分離した後の分離後ガスを供給する第2供給ラインを備えること、
前記除湿装置は、前記第2供給ラインから供給される前記分離後ガスにより、前記除湿剤の再生を行うこと、
を特徴とする二酸化炭素回収装置。
続きを表示(約 1,300 文字)
【請求項2】
請求項1に記載の二酸化炭素回収装置において、
第2供給ラインにおける前記分離後ガスの相対湿度は、前記除湿装置よりも下流側の前記第1供給ラインにおける前記被分離ガスの相対湿度よりも低いこと、
を特徴とする二酸化炭素回収装置。
【請求項3】
請求項1または2に記載の二酸化炭素回収装置において、
前記除湿剤は、前記被分離ガスの水分を吸着する吸着式の除湿剤であること、
を特徴とする二酸化炭素回収装置。
【請求項4】
請求項3に記載の二酸化炭素回収装置において、
前記除湿装置は、
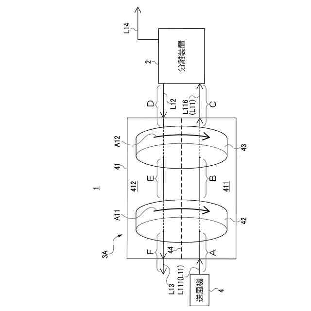
前記第1供給ライン上の、前記被分離ガスが通る第1風路と、
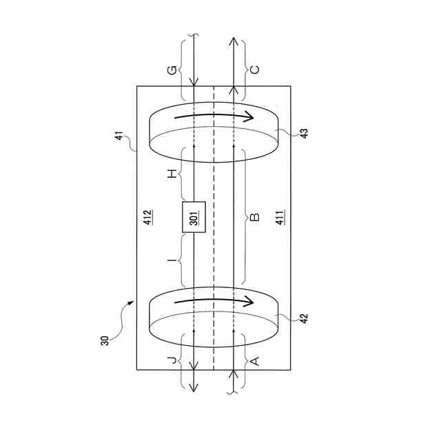
前記第2供給ラインに接続され、前記分離後ガスが通る第2風路と、
前記第1風路と前記第2風路とにまたがって配置される、前記除湿剤としてのデシカントロータと、
を備えること、
を特徴とする二酸化炭素回収装置。
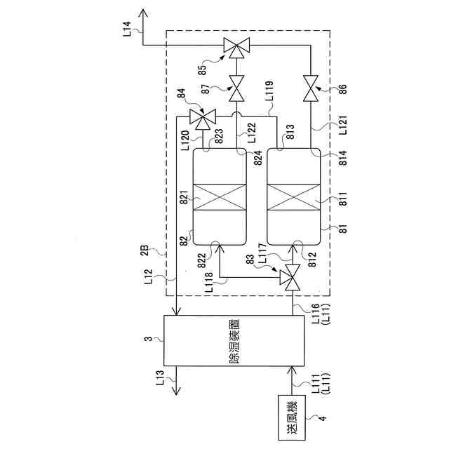
【請求項5】
請求項3に記載の二酸化炭素回収装置において、
前記除湿装置は、
前記除湿を行うための第1除湿部および第2除湿部が、並列して設けられ、
前記第1除湿部で前記除湿を行い、かつ、前記第2除湿部で前記再生を行う第1状態と、前記第1除湿部で前記再生を行い、かつ、前記第2除湿部で前記除湿を行う第2状態と、を切替可能なこと、
を特徴とする二酸化炭素回収装置。
【請求項6】
請求項1または2に記載の二酸化炭素回収装置において、
前記除湿剤は、前記被分離ガスの水分を吸収する吸収液であること、
を特徴とする二酸化炭素回収装置。
【請求項7】
請求項6に記載の二酸化炭素回収装置において、
前記除湿装置は、
前記第1供給ラインから供給される前記被分離ガスと、前記除湿剤と、を気液接触させて、前記除湿剤に水分を吸収させる吸収塔と、
前記第2供給ラインから供給される前記分離後ガスにより、前記再生を行う再生塔と、
を備えること、
を特徴とする二酸化炭素回収装置。
【請求項8】
請求項1または2に記載の二酸化炭素回収装置において、
前記分離装置は、
前記被分離ガスと、二酸化炭素を吸収する二酸化炭素吸収液と、を気液接触させて、前記二酸化炭素吸収液に二酸化炭素を吸収させる二酸化炭素吸収塔と、
二酸化炭素を吸収した前記二酸化炭素吸収液を再生して二酸化炭素を放散する吸収液再生塔と、
を備えること、
を特徴とする二酸化炭素回収装置。
【請求項9】
請求項8に記載の二酸化炭素回収装置において、
前記二酸化炭素吸収液の含水率が、二酸化炭素吸収前よりも、二酸化炭素吸収後の方が高いこと、
を特徴とする二酸化炭素回収装置。
【請求項10】
請求項8または9に記載の二酸化炭素回収装置において、
前記二酸化炭素吸収液は、非水系の吸収液であること、
を特徴とする二酸化炭素回収装置。
(【請求項11】以降は省略されています)
発明の詳細な説明
【技術分野】
【0001】
本発明は、被分離ガスから二酸化炭素の分離を行う分離装置と、前記被分離ガスを前記分離装置に供給するための第1供給ラインと、を備える二酸化炭素回収装置、および被分離ガスから二酸化炭素の分離を行うことで二酸化炭素を回収する二酸化炭素回収方法に関するものである。
続きを表示(約 1,800 文字)
【背景技術】
【0002】
近年、地球温暖化に及ぼす影響が大きい温室効果ガスとして二酸化炭素が問題になっている。また、物流に用いるドライアイス等、二酸化炭素の需要が増加している。これらを背景として、燃焼排ガス等の二酸化炭素を含有するガスや大気(以下、被分離ガスという)から、二酸化炭素を分離し、回収する技術が求められている。
【0003】
被分離ガスから二酸化炭素の分離を行う分離装置としては、例えば、特許文献1に開示されるような分離装置が知られている。この分離装置は、被分離ガスと二酸化炭素を吸収する吸収液とを気液接触させることで吸収液に二酸化炭素を吸収させる吸収塔と、二酸化炭素を吸収した吸収液を再生して二酸化炭素を放散する再生塔と、を備えている。再生塔における二酸化炭素の放散は、吸収液を加熱もしくは減圧、または加熱および減圧することで行われている。
【先行技術文献】
【特許文献】
【0004】
特開2005-270814号公報
特開2023-145852号公報
【発明の概要】
【発明が解決しようとする課題】
【0005】
しかしながら、上記従来技術には次のような問題があった。例えば、水分を含む被分離ガス(大気、燃焼排ガス等)を対象として二酸化炭素の分離を行うとした場合、吸収塔内において、被分離ガスが、親水性を有した吸収液と気液接触すると、被分離ガス中の二酸化炭素だけでなく、水分も吸収液に吸収されてしまう。そのため、被分離ガスを吸収した吸収液が、水分を含んだままの状態で、再生塔内で加熱もしくは減圧されると、吸収液から、吸収していた二酸化炭素の放散のほかに、水分の蒸発も生じる。この水分の蒸発により再生塔内の吸収液は熱を奪われるため、二酸化炭素を放散するのに必要な放散温度よりも低くなるおそれがある。これを防ぐためには、水の蒸発潜熱分の熱を投入する必要があるため、それに伴いエネルギー負荷が増大することが問題となっていた。そこで、本願発明者らは、分離装置において被分離ガスから二酸化炭素の分離を行う前に、被分離ガスの除湿を行うことが望ましいと考えた。
【0006】
しかし、被分離ガスの二酸化炭素濃度が低い場合(特に被分離ガスが大気である場合)、単位二酸化炭素回収量あたりに必要となる被分離ガス量が多くなる。そのため、大量の被分離ガスの除湿には多大なエネルギーが必要となり、電力コストの増加や、発電のための新たな二酸化炭素の発生が懸念される。 なお、特許文献1のような化学吸収式の二酸化炭素回収装置だけでなく、吸着式、膜分離式、および深冷分離式の二酸化炭素回収装置の場合にも、被分離ガスの除湿は有効であり、例えば、特許文献2では、吸着式二酸化炭素分離装置の前段に前処理装置を備え、水分を除去している。また、これらの二酸化炭素回収装置においても、被分離ガスの二酸化炭素濃度が低い場合は、大量の除湿エネルギーが必要となる点については同様の課題がある。
【0007】
本発明は、上記問題点を解決するためのものであり、より省エネルギーに、被分離ガスの除湿を行うことが可能な二酸化炭素回収装置および二酸化炭素回収方法を提供することを目的とする。
【課題を解決するための手段】
【0008】
上記課題を解決するために、本発明の二酸化炭素回収装置は、次のような構成を有している。
【0009】
(1)被分離ガスから二酸化炭素の分離を行う分離装置と、前記被分離ガスを前記分離装置に供給するための第1供給ラインと、を備える二酸化炭素回収装置において、前記第1供給ライン上に、除湿剤により前記被分離ガスの除湿を行う除湿装置を備えること、前記分離装置から前記除湿装置に、前記被分離ガスから二酸化炭素を分離した後の分離後ガスを供給する第2供給ラインを備えること、前記除湿装置は、前記第2供給ラインから供給される前記分離後ガスにより、前記除湿剤の再生を行うこと、を特徴とする。
【0010】
(2)(1)に記載の二酸化炭素回収装置において、第2供給ラインにおける前記分離後ガスの相対湿度は、前記除湿装置よりも下流側の前記第1供給ラインにおける前記被分離ガスの相対湿度よりも低いこと、が好ましい。
(【0011】以降は省略されています)
この特許をJ-PlatPat(特許庁公式サイト)で参照する
関連特許
東邦瓦斯株式会社
ウェアラブル機器用防熱カバー
1か月前
東邦瓦斯株式会社
二酸化炭素回収装置および二酸化炭素回収方法
3日前
東洋ガスメーター株式会社
ガスメーター
1か月前
株式会社タクマ
バイオマス処理装置
1か月前
三菱重工エンジン&ターボチャージャ株式会社
制御装置、エンジンシステム、制御方法及びプログラム
3日前
東邦瓦斯株式会社
携帯用放熱付与具用の加熱装置、及び蓄熱材パックの加熱方法
2か月前
東レ株式会社
複合半透膜
1か月前
ユニチカ株式会社
複合中空糸膜
今日
日本ソリッド株式会社
屋外沈殿池
1か月前
三洋化成工業株式会社
水処理薬剤
1か月前
株式会社ニクニ
液体処理装置
13日前
日本化薬株式会社
メタノール改質触媒
14日前
株式会社大善
濃縮脱水機
23日前
三機工業株式会社
ろ過装置
1か月前
株式会社フクハラ
圧縮空気圧回路
1か月前
株式会社カネカ
濃縮システム
1か月前
株式会社カネカ
製造システム
1か月前
株式会社MRT
微細バブル発生装置
3日前
テルモ株式会社
ろ過デバイス
24日前
株式会社Tornada
気泡発生装置
1か月前
株式会社切川物産
撹拌混合装置
27日前
トヨタ自動車株式会社
CO2回収装置
1か月前
日本ソリッド株式会社
水中懸濁物質付着素材
22日前
個人
攪拌装置
3日前
株式会社笹山工業所
濁水処理システム
3日前
東京理化器械株式会社
クリップ
7日前
ヤマシンフィルタ株式会社
フィルタ装置
1日前
ヤマシンフィルタ株式会社
フィルタ装置
21日前
ノリタケ株式会社
ガス吸収シート
14日前
本田技研工業株式会社
ガス回収装置
1か月前
ダイハツ工業株式会社
二酸化炭素分解装置
22日前
浙江漢信科技有限公司
攪拌装置
28日前
株式会社福島県南環境衛生センター
処理装置
29日前
株式会社キャタラー
カーボン担体材料
1か月前
杉山重工株式会社
回転円筒型反応装置
3日前
東レ株式会社
多孔中実繊維、繊維束および浄化カラム
22日前
続きを見る
他の特許を見る