TOP
|
特許
|
意匠
|
商標
特許ウォッチ
Twitter
他の特許を見る
10個以上の画像は省略されています。
公開番号
2025141554
公報種別
公開特許公報(A)
公開日
2025-09-29
出願番号
2024041551
出願日
2024-03-15
発明の名称
半導体素子およびその製造方法
出願人
豊田合成株式会社
代理人
弁理士法人あいち国際特許事務所
主分類
H01L
21/316 20060101AFI20250919BHJP(基本的電気素子)
要約
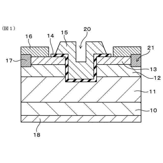
【課題】半導体へのダメージが抑制され、電流リークが抑制された半導体素子の製造方法を提供する。
【解決手段】III族窒化物半導体を用いた半導体素子の製造方法において、III族窒化物半導体からなる半導体層(第1半導体層11、第2半導体層12、第3半導体層13)上に絶縁性の第1酸化膜(酸化膜143)を形成する第1酸化膜形成工程と、第1酸化膜に窒素プラズマを照射して第1酸化膜に窒素を注入する窒素プラズマ処理工程と、第1酸化膜を熱処理し、第1酸化膜を窒化して酸窒化膜141とする第1熱処理工程と、酸窒化膜141上に絶縁性の第2酸化膜(酸化膜142)を形成する第2酸化膜形成工程と、第2酸化膜を熱処理する第2熱処理工程と、を有し、窒素プラズマ処理工程は、マイクロ波出力を300W以下とする。
【選択図】図1
特許請求の範囲
【請求項1】
III族窒化物半導体からなる半導体層上に絶縁性の第1酸化膜を形成する第1酸化膜形成工程と、
前記第1酸化膜に窒素プラズマを照射して前記第1酸化膜に窒素を注入する窒素プラズマ処理工程と、
前記第1酸化膜を熱処理し、前記第1酸化膜を窒化して酸窒化膜とする第1熱処理工程と、
前記酸窒化膜上に絶縁性の第2酸化膜を形成する第2酸化膜形成工程と、
前記第2酸化膜を熱処理する第2熱処理工程と、を有し、
前記窒素プラズマ処理工程は、マイクロ波出力を300W以下とする、半導体素子の製造方法。
続きを表示(約 1,100 文字)
【請求項2】
前記第1熱処理工程は、前記半導体層と前記酸窒化膜との界面を窒化して、前記界面におけるGa-O結合している酸素の濃度を前記第1熱処理工程の前よりも低くする、請求項1に記載の半導体素子の製造方法。
【請求項3】
前記第1熱処理工程により、前記半導体層と前記酸窒化膜との前記界面におけるGa-O結合している酸素の濃度を0.8~1.2at%とする、請求項2に記載の半導体素子の製造方法。
【請求項4】
III族窒化物半導体からなる半導体層上に絶縁性の第1酸化膜を形成する第1酸化膜形成工程と、
前記第1酸化膜に窒素プラズマを照射して前記第1酸化膜に窒素を注入する窒素プラズマ処理工程と、
前記第1酸化膜を熱処理し、前記第1酸化膜を窒化して酸窒化膜とする第1熱処理工程と、
前記酸窒化膜上に絶縁性の第2酸化膜を形成する第2酸化膜形成工程と、
前記第2酸化膜を熱処理する第2熱処理工程と、を有し、
前記第1熱処理工程は、前記半導体層と前記酸窒化膜との界面を窒化して、前記界面におけるGa-O結合している酸素の濃度を0.8~1.2at%とする、半導体素子の製造方法。
【請求項5】
前記窒素プラズマ処理工程は、前記第1酸化膜の窒素濃度が1×10
20
~1×10
22
/cm
3
となるようにする、請求項1から請求項4までのいずれか1項に記載の半導体素子の製造方法。
【請求項6】
前記窒素プラズマ処理工程は、前記第1酸化膜であって前記半導体層と前記第1酸化膜との界面近傍の領域における窒素濃度が1×10
21
~1×10
22
/cm
3
となるようにする、請求項1から請求項4までのいずれか1項に記載の半導体素子の製造方法。
【請求項7】
前記第1酸化膜形成工程は、前記第1酸化膜を1nm以上9nm以下の厚さに形成する、請求項1から請求項4までのいずれか1項に記載の半導体素子の製造方法。
【請求項8】
III族窒化物半導体からなる半導体層と、
前記半導体層上に設けられたゲート絶縁膜と、
前記ゲート絶縁膜上に設けられたゲート電極と、を有し、
前記ゲート絶縁膜は、
前記半導体層上に形成されたSiON膜と、
前記SiON膜上に接して形成されたSiO
2
膜と、を有し、
前記半導体層と前記SiON膜との界面におけるGa-O結合している酸素原子の濃度は0.8~1.2at%である、半導体素子。
発明の詳細な説明
【技術分野】
【0001】
本発明は、半導体素子およびその製造方法に関する。
続きを表示(約 1,800 文字)
【背景技術】
【0002】
GaNに代表されるIII族窒化物半導体は、高い絶縁破壊電界強度を有している。そのため、III族窒化物半導体はパワーデバイスの材料として期待され、III族窒化物半導体を用いた半導体素子がさかんに研究、開発されている。
【0003】
特許文献1には、GaNを用いたMISFETが記載されており、以下のようにしてゲート絶縁膜を形成することが記載されている。まず、GaNからなる半導体層上に、SiO
2
からなる第1酸化膜を形成する。次に、第1酸化膜に窒素プラズマを照射する。第1酸化膜は窒化し、半導体層側から順にSiON、SiNの積層を形成する。その後、第1熱処理を行う。次に、SiN上にSiO
2
からなる第2酸化膜を形成し、第2熱処理を行う。この特許文献1の方法によると、GaN表面でのGaの酸化を抑制できることが記載されている。
【先行技術文献】
【特許文献】
【0004】
特開2022-14832号公報
【発明の概要】
【発明が解決しようとする課題】
【0005】
GaNの表面が大気に晒されると、GaN最表面と酸素が反応し、Ga-O結合が形成される。このGa-O結合は電流リークの原因となる。特にトレンチ形成時のエッチングによりGaNから窒素が抜けて欠陥ができると、Ga-O結合が形成されやすい。また、ALD(原子層堆積法)のように酸素ガスを用いてGaN上に絶縁膜を形成すると、GaN表面にGa-O結合が形成されやすい。しかし、このようなGaN表面に形成されるGa-O結合は除去することが困難であった。
【0006】
特許文献1の方法によれば、絶縁膜下におけるGaN表面近傍でのGaの酸化を抑制できることが記載されている。しかし、窒素プラズマを照射して窒化処理する際のマイクロ波出力が高く、半導体にダメージを与えてしまう可能性があった。
【0007】
本発明は、かかる背景に鑑みてなされたものであり、半導体へのダメージが抑制され、電流リークが抑制された半導体素子およびその製造方法を提供しようとするものである。
【課題を解決するための手段】
【0008】
本発明の一態様は、
III族窒化物半導体からなる半導体層上に絶縁性の第1酸化膜を形成する第1酸化膜形成工程と、
前記第1酸化膜に窒素プラズマを照射して前記第1酸化膜に窒素を注入する窒素プラズマ処理工程と、
前記第1酸化膜を熱処理し、前記第1酸化膜を窒化して酸窒化膜とする第1熱処理工程と、
前記酸窒化膜上に絶縁性の第2酸化膜を形成する第2酸化膜形成工程と、
前記第2酸化膜を熱処理する第2熱処理工程と、を有し、
前記窒素プラズマ処理工程は、マイクロ波出力を300W以下とする、半導体素子の製造方法にある。
【0009】
本発明の他態様は、
III族窒化物半導体からなる半導体層上に絶縁性の第1酸化膜を形成する第1酸化膜形成工程と、
前記第1酸化膜に窒素プラズマを照射して前記第1酸化膜に窒素を注入する窒素プラズマ処理工程と、
前記第1酸化膜を熱処理し、前記第1酸化膜を窒化して酸窒化膜とする第1熱処理工程と、
前記酸窒化膜上に絶縁性の第2酸化膜を形成する第2酸化膜形成工程と、
前記第2酸化膜を熱処理する第2熱処理工程と、を有し、
前記第1熱処理工程は、前記半導体層と前記酸窒化膜との界面を窒化して、前記界面におけるGa-O結合している酸素の濃度を0.8~1.2at%とする、半導体素子の製造方法にある。
【0010】
本発明の他態様は、
III族窒化物半導体からなる半導体層と、
前記半導体層上に設けられたゲート絶縁膜と、
前記ゲート絶縁膜上に設けられたゲート電極と、を有し、
前記ゲート絶縁膜は、
前記半導体層上に接して形成されたSiON膜と、
前記SiON膜上に接して形成されたSiO
2
膜と、を有し、
前記半導体層と前記SiON膜との界面におけるGa-O結合している酸素原子の濃度は0.8~1.2at%である、半導体素子にある。
【発明の効果】
(【0011】以降は省略されています)
この特許をJ-PlatPat(特許庁公式サイト)で参照する
関連特許
豊田合成株式会社
発光素子
1か月前
豊田合成株式会社
殺菌装置
19日前
豊田合成株式会社
着座装置
21日前
豊田合成株式会社
操作装置
1か月前
豊田合成株式会社
表示装置
1か月前
豊田合成株式会社
ガラスラン
12日前
豊田合成株式会社
ガラスラン
5日前
豊田合成株式会社
ガラスラン
5日前
豊田合成株式会社
半導体素子
27日前
豊田合成株式会社
流体殺菌装置
19日前
豊田合成株式会社
車両用外装品
1か月前
豊田合成株式会社
流体殺菌装置
19日前
豊田合成株式会社
機器制御装置
5日前
豊田合成株式会社
車両用外装品
5日前
豊田合成株式会社
車両用内装品
7日前
豊田合成株式会社
流体殺菌装置
29日前
豊田合成株式会社
流体殺菌装置
1か月前
豊田合成株式会社
流体殺菌装置
1か月前
豊田合成株式会社
車両用外装品
1か月前
豊田合成株式会社
車両用内装品
7日前
豊田合成株式会社
樹脂成形装置
13日前
豊田合成株式会社
乗員保護装置
5日前
豊田合成株式会社
車載照明装置
1か月前
豊田合成株式会社
電動液体ポンプ
5日前
豊田合成株式会社
空調用レジスタ
6日前
豊田合成株式会社
空調用レジスタ
6日前
豊田合成株式会社
空調用レジスタ
6日前
豊田合成株式会社
電動液体ポンプ
5日前
豊田合成株式会社
ミスト噴射装置
1か月前
豊田合成株式会社
電動液体ポンプ
5日前
豊田合成株式会社
電動液体ポンプ
5日前
豊田合成株式会社
電動液体ポンプ
5日前
豊田合成株式会社
車両の前部構造
1か月前
豊田合成株式会社
立体エアバッグ
5日前
豊田合成株式会社
立体エアバッグ
20日前
豊田合成株式会社
ステアリング装置
今日
続きを見る
他の特許を見る