TOP
|
特許
|
意匠
|
商標
特許ウォッチ
Twitter
他の特許を見る
10個以上の画像は省略されています。
公開番号
2025141745
公報種別
公開特許公報(A)
公開日
2025-09-29
出願番号
2024101006,2024041737
出願日
2024-06-24,2024-03-15
発明の名称
身体用シェルター
出願人
個人
代理人
個人
主分類
E04H
9/02 20060101AFI20250919BHJP(建築物)
要約
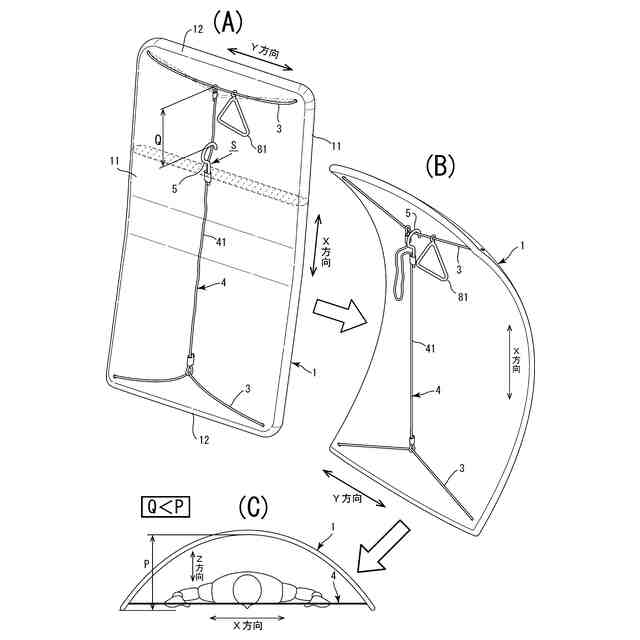
【目的】本発明は、日常時には室内の額縁材として、大地震時(震度7相当)には数秒以内で身体を保護するシェルターにできること。
【構成】
FRP部材の長方形主板1の長辺11を長手方向と短辺12を幅方向とし、対向するそれぞれの両短辺12,12間には緊張紐状物4が結ばれて構成されていること。日常時には長方形主板1は扁平状を成し、大地震時には緊張紐状物4が人力の引張力にて適宜短縮されつつ長方形主板1の長手方向全体が湾曲状に形成されて固定されて身体用シェルターにできる。
【選択図】 図18
特許請求の範囲
【請求項1】
FRP部材の長方形主板の長辺を長手方向と短辺を幅方向とし、対向するそれぞれの両該短辺箇所間には緊張紐状物が結ばれてなり、
日常時には前記長方形主板は扁平状を成し、大地震時には前記緊張紐状物が人力の引張力にて適宜短縮されつつ前記長方形主板の長手方向全体が湾曲状に形成されて固定されることを特徴とする身体用シェルター。
続きを表示(約 340 文字)
【請求項2】
請求項1に記載の身体用シェルターにおいて、前記緊張紐状物には短縮操作部材を介して短縮されて固定されることを特徴とする身体用シェルター。
【請求項3】
FRP部材の長方形主板の長辺を長手方向と短辺を幅方向とし、対向するそれぞれの両該短辺箇所間には緊張紐状物が結ばれてなり、日常時には前記長方形主板は扁平状を成し、大地震時には前記緊張紐状物が動力による引張力にて適宜短縮されつつ前記長方形主板の長手方向全体が湾曲状に形成されて固定されることを特徴とする身体用シェルター。
【請求項4】
請求項3に記載された身体用シェルターにおいて、前記動力としての小型巻上機が前記緊張紐状物の適所に設けられてなることを特徴とする身体用シェルター。
発明の詳細な説明
【技術分野】
【0001】
本発明は、日常時には室内の額縁材として、大地震時(震度7相当)には数秒以内で身体を保護するシェルターにできる身体用シェルターに関する。
続きを表示(約 1,600 文字)
【背景技術】
【0002】
今年(令和6年)の元旦の夕方に、能登半島の大地震が発生し、多くの家屋が倒壊している。特に、石川県における本年1月20日までの死亡の状況を同県の行政機関が公表していた。240人余の死亡者中で、家族の同意が得られた死亡者103人の状況において、何と9割が家屋倒壊にて圧死との悲惨な現実が現れていた。
【0003】
2016年の熊本大地震でも、阪神淡路大地震でも、多くの家屋が倒壊し、且つ家屋倒壊にて圧死されている状況が多く発表されている。この2011年の東日本大震災では、津波や火災状況としており多元化している。この家屋倒壊による圧死に関係しているの家屋の強度が一番に関係している。
【0004】
建築基準法を遵守した2000年代の家屋は倒壊しにくいという利点があるが、これ以前に建てた木造2階建ての家屋では、震度7では可成りの割合で倒壊する危険性が高いのが現実である。このような一見ひ弱な家屋が、地震国日本にかなりの割合で存在している。
【0005】
引用文献1(実用新案登録第3119420号)の安心ホームシェルターでは、上側に膨出した円弧状アーチが形成されており、この下側に身体が入る空間部として成り、該空間部内で、睡眠していれば、大地震時に、家屋倒壊があっても一命をとりとめることができるという発明であり、それなりに安心できるシェルターであることは認められる。しかるに、日常では、これを寝室に備えることには場所も取るし、睡眠もの邪魔にもなることもある。普及させるのには困難性がある。
【0006】
引用文献2(特許第6482495号)の個人用シェルターも、棒片を多数組み合わせて多角形状で、正面から見て台形を成し且つ側面から見て三角形を成したものの内部空間内において、日常時も睡眠を取り、大地震時に家屋倒壊があっても一命をとりとめることができるという発明であり、この発明は、特に、日常では、これを寝室のベットに備えることに大きな抵抗あるし、睡眠の邪魔にもなることもあり、普及させるには難しいと思料される。
【0007】
引用文献3(特許第5469137号)の耐震シェルターは、家屋の倒壊から保護する発明であり、個人が大地震時に、睡眠時においても直ぐに起きて、前記耐震シェルターに入れば家屋倒壊があっても一命をとりとめることができるという発明である。この発明は、寝室等に置けるスペースがあれば良いものである。
【0008】
それらの引用文献1、引用文献2及び引用文献3のそれぞれのシェルターは、日常時においては、寝室又は居間であったとしても場所を取るのみならず、日常時の生活行動の邪魔になることが多く、普及し難い問題があったことは事実である。
【先行技術文献】
【特許文献】
【0009】
実用新案登録第3119420号
特許第6482495号
特許第5469137号
【発明の概要】
【発明が解決しようとする課題】
【0010】
そこで、日常時(通常時)にはシェルターとしてではなく、邪魔にならないでいて、いざという時の大地震の時のみシェルターとしての役割を成すものが望まれているのに、このような要望に応えられる製品等は皆無であったが、このように日常時のときの状態と大地震時の状態の両目的を、地震大国日本でも要望はされ、且つ望まれていた。このため本発明が解決しようとする課題(技術的課題又は目的等)は、日常時のときに邪魔にならずに、大地震時ときのみ身体を保護するシェルターとしての役割を果たし、且つ実現することである。
【課題を解決するための手段】
(【0011】以降は省略されています)
この特許をJ-PlatPat(特許庁公式サイト)で参照する
関連特許
個人
屋台
15日前
個人
野良猫ハウス
1か月前
個人
フェンス
1か月前
個人
転落防止用手摺
25日前
個人
居住車両用駐車場
1か月前
個人
地下型マンション
3か月前
積水樹脂株式会社
柵体
24日前
個人
筋交自動設定装置
5日前
ニチハ株式会社
建築板
1か月前
株式会社タナクロ
テント
3か月前
個人
鋼管結合資材
3か月前
個人
壁断熱パネル
4か月前
個人
熱抵抗多層断熱建材
1か月前
個人
柵
1か月前
個人
補強部材
1か月前
個人
身体用シェルター
5日前
個人
循環流水式屋根融雪装置
3か月前
成友建設株式会社
建物
1か月前
鹿島建設株式会社
壁体
1か月前
個人
身体用シェルター
5日前
個人
可搬型供養墓
3日前
三協立山株式会社
構造体
5日前
株式会社熊谷組
木質材料
15日前
三協立山株式会社
構造体
5日前
三協立山株式会社
構造体
5日前
三協立山株式会社
構造体
5日前
三協立山株式会社
構造体
5日前
三協立山株式会社
構造体
5日前
三協立山株式会社
構造体
3か月前
株式会社熊谷組
吊り治具
2日前
イワブチ株式会社
組立柱
24日前
三協立山株式会社
構造体
3か月前
インターマン株式会社
天井構造
1か月前
ミサワホーム株式会社
建物
3日前
三協立山株式会社
簡易建物
1か月前
三協立山株式会社
簡易建物
1か月前
続きを見る
他の特許を見る